Greenville, TX
|
Give Us a Call
(903) 454-4440
Toggle navigation
Home
Brands
Manufacturer Models
OEM Promotions
Polaris
Can-Am
E-Z-Go
Honda
Kawasaki
Suzuki
Inventory
All Inventory In Stock
New Inventory In Stock
Used Inventory
Value Your Trade-In
Request a Model
Schedule a Test Ride
Secure Financing
Parts
Parts Department
Parts Finder
Service
Service Department
Request Polaris Service
Warranty & Recall Look-Up
Specials
Financing
About
Our Dealership
Our Team
Reviews
Customer Survey
Employment
Events Calendar
Locations
Location & Hours
Contact
Parts Finder
Home
›
Parts
›
Parts Finder
Search by :
Part / Desc
VIN
Please Select
Arctic Cat
Honda
Kawasaki
Polaris
Suzuki
*Please enter at least 3 characters
SEARCH
Manufacturer
Arctic Cat
Snowmobiles
2011
Z1 TURBO EXT GREEN [S2011Z1NEBUSG]
VIEW WISH LIST
Select a Section
Show/Hide
A-ARM AND SWAY BAR ASSEMBLY [90549]
AIR SILENCER ASSEMBLY [93713]
BATTERY AND TRAY ASSEMBLY [91455]
BELT GUARD ASSEMBLY [93706]
CAM CHAIN ASSEMBLY [101065]
CAMSHAFT/VALVE ASSEMBLY [93716]
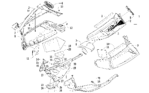
CHASSIS, REAR BUMPER, AND SNOWFLAP ASSEMBLY [93701]
CONSOLE ASSEMBLY [91873]
COOLING ASSEMBLY [91845]
CRANK BALANCER ASSEMBLY [89768]
CRANKCASE ASSEMBLY [91792]
CYLINDER HEAD ASSEMBLY [91791]
DRIVE CLUTCH [93714]
DRIVE TRAIN SHAFT AND BRAKE ASSEMBLIES [93700]
DRIVEN CLUTCH [93715]
ELECTRICAL ASSEMBLY [93717]
ENGINE AND RELATED PARTS [93711]
EXHAUST ASSEMBLY [93712]
EXHAUST MANIFOLD ASSEMBLY [89773]
FRONT SUSPENSION SHOCK ABSORBER [91829]
FRONT SUSPENSION SHOCK ABSORBER ASSEMBLY [91828]
FUEL PUMP ASSEMBLY [93708]
GAS TANK ASSEMBLY [93707]
GEARCASE ASSEMBLY [91833]
HANDLEBAR AND CONTROLS [91464]
HEADLIGHT AND WIRING ASSEMBLIES [93703]
HOOD, WINDSHIELD, AND FRONT BUMPER ASSEMBLY [93702]
HYDRAULIC BRAKE CONTROL ASSEMBLY [97037]
IDLER WHEEL ASSEMBLY [93530]
INTAKE MANIFOLD/FLANGE ASSEMBLY [89771]
INTERCOOLER ASSEMBLY [89754]
INTERCOOLER OUTLET ASSEMBLY [89774]
MAGNETO ASSEMBLY [91421]
MAGNETO COVER [91412]
OIL COOLER ASSEMBLY [89777]
OIL PAN ASSEMBLY [91416]
OIL PUMP ASSEMBLY [90508]
OIL SEPARATOR ASSEMBLY [91788]
OIL TANK ASSEMBLY [91457]
PISTON AND CRANKSHAFT ASSEMBLY [91793]
REAR SUSPENSION FRONT ARM ASSEMBLY [93531]
REAR SUSPENSION FRONT ARM SHOCK ABSORBER [91837]
REAR SUSPENSION REAR ARM ASSEMBLY [93532]
REAR SUSPENSION REAR ARM SHOCK ABSORBER [91839]
SEAT ASSEMBLY [93710]
SEAT SUPPORT ASSEMBLY [93709]
SKI AND SPINDLE ASSEMBLY [91115]
SKID PLATE AND SIDE PANEL ASSEMBLY [93705]
SLIDE RAIL AND TRACK ASSEMBLY [93529]
STARTER CLUTCH ASSEMBLY [89767]
STARTER MOTOR ASSEMBLY [91420]
STEERING POST ASSEMBLY [90540]
STEERING SUPPORT ASSEMBLY [98192]
THROTTLE BODY ASSEMBLY [89780]
TIE ROD ASSEMBLY [91119]
TURBOCHARGER ASSEMBLY [91794]
WATER HOSE ASSEMBLY [91795]
WATER PUMP ASSEMBLY [89695]
A-ARM AND SWAY BAR ASSEMBLY [90549]
AIR SILENCER ASSEMBLY [93713]
BATTERY AND TRAY ASSEMBLY [91455]
BELT GUARD ASSEMBLY [93706]
CAM CHAIN ASSEMBLY [101065]
CAMSHAFT/VALVE ASSEMBLY [93716]
CHASSIS, REAR BUMPER, AND SNOWFLAP ASSEMBLY [93701]
CONSOLE ASSEMBLY [91873]
COOLING ASSEMBLY [91845]
CRANK BALANCER ASSEMBLY [89768]
CRANKCASE ASSEMBLY [91792]
CYLINDER HEAD ASSEMBLY [91791]
DRIVE CLUTCH [93714]
DRIVE TRAIN SHAFT AND BRAKE ASSEMBLIES [93700]
DRIVEN CLUTCH [93715]
ELECTRICAL ASSEMBLY [93717]
ENGINE AND RELATED PARTS [93711]
EXHAUST ASSEMBLY [93712]
EXHAUST MANIFOLD ASSEMBLY [89773]
FRONT SUSPENSION SHOCK ABSORBER [91829]
FRONT SUSPENSION SHOCK ABSORBER ASSEMBLY [91828]
FUEL PUMP ASSEMBLY [93708]
GAS TANK ASSEMBLY [93707]
GEARCASE ASSEMBLY [91833]
HANDLEBAR AND CONTROLS [91464]
HEADLIGHT AND WIRING ASSEMBLIES [93703]
HOOD, WINDSHIELD, AND FRONT BUMPER ASSEMBLY [93702]
HYDRAULIC BRAKE CONTROL ASSEMBLY [97037]
IDLER WHEEL ASSEMBLY [93530]
INTAKE MANIFOLD/FLANGE ASSEMBLY [89771]
INTERCOOLER ASSEMBLY [89754]
INTERCOOLER OUTLET ASSEMBLY [89774]
MAGNETO ASSEMBLY [91421]
MAGNETO COVER [91412]
OIL COOLER ASSEMBLY [89777]
OIL PAN ASSEMBLY [91416]
OIL PUMP ASSEMBLY [90508]
OIL SEPARATOR ASSEMBLY [91788]
OIL TANK ASSEMBLY [91457]
PISTON AND CRANKSHAFT ASSEMBLY [91793]
REAR SUSPENSION FRONT ARM ASSEMBLY [93531]
REAR SUSPENSION FRONT ARM SHOCK ABSORBER [91837]
REAR SUSPENSION REAR ARM ASSEMBLY [93532]
REAR SUSPENSION REAR ARM SHOCK ABSORBER [91839]
SEAT ASSEMBLY [93710]
SEAT SUPPORT ASSEMBLY [93709]
SKI AND SPINDLE ASSEMBLY [91115]
SKID PLATE AND SIDE PANEL ASSEMBLY [93705]
SLIDE RAIL AND TRACK ASSEMBLY [93529]
STARTER CLUTCH ASSEMBLY [89767]
STARTER MOTOR ASSEMBLY [91420]
STEERING POST ASSEMBLY [90540]
STEERING SUPPORT ASSEMBLY [98192]
THROTTLE BODY ASSEMBLY [89780]
TIE ROD ASSEMBLY [91119]
TURBOCHARGER ASSEMBLY [91794]
WATER HOSE ASSEMBLY [91795]
WATER PUMP ASSEMBLY [89695]
VIEW WISH LIST