Greenville, TX
|
Give Us a Call
(903) 454-4440
Toggle navigation
Home
Brands
Manufacturer Models
OEM Promotions
Polaris
Can-Am
E-Z-Go
Honda
Kawasaki
Suzuki
Inventory
All Inventory In Stock
New Inventory In Stock
Used Inventory
Value Your Trade-In
Request a Model
Schedule a Test Ride
Secure Financing
Parts
Parts Department
Parts Finder
Service
Service Department
Request Polaris Service
Warranty & Recall Look-Up
Specials
Financing
About
Our Dealership
Our Team
Reviews
Customer Survey
Employment
Events Calendar
Locations
Location & Hours
Contact
Parts Finder
Home
›
Parts
›
Parts Finder
Search by :
Part / Desc
VIN
Please Select
Arctic Cat
Honda
Kawasaki
Polaris
Suzuki
*Please enter at least 3 characters
SEARCH
Manufacturer
Arctic Cat
Snowmobiles
2011
T570 TOURING WHITE INTERNATIONAL [S2011T5DFCOSW]
VIEW WISH LIST
Select a Section
Show/Hide
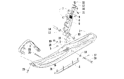
A-ARM AND SWAY BAR ASSEMBLY [90549]
AIR SILENCER ASSEMBLY [88569]
BATTERY AND TRAY ASSEMBLY [91199]
BELT GUARD ASSEMBLY [93032]
CARBURETOR [91204]
CARBURETOR AND FUEL PUMP ASSEMBLY [91200]
CHASSIS ASSEMBLY [91315]
CONSOLE ASSEMBLY [91190]
CRANKCASE AND CYLINDER [91205]
CYLINDER COWLING ASSEMBLY [89142]
DRIVE CLUTCH [99355]
DRIVE TRAIN SHAFT AND BRAKE ASSEMBLIES [94607]
DRIVEN CLUTCH [91203]
ELECTRIC START - STARTER MOTOR ASSEMBLY [91198]
ELECTRICAL [91209]
ENGINE AND RELATED PARTS [93056]
EXHAUST ASSEMBLY [89128]
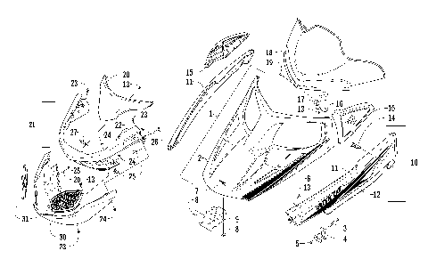
FRONT SEAT ASSEMBLY [93053]
FRONT SHOCK ABSORBER ASSEMBLY [93044]
FUEL LEVEL SENSOR ASSEMBLY [97043]
GAS TANK ASSEMBLY [91339]
GEARCASE ASSEMBLY [94608]
HANDLEBAR AND CONTROLS [97036]
HEADLIGHT AND WIRING ASSEMBLIES [93050]
HOOD, WINDSHIELD, AND FRONT BUMBER ASSEMBLY [93049]
HYDRAULIC BRAKE CONTROL ASSEMBLY [97037]
IDLER WHEEL ASSEMBLY [91868]
INTAKE ASSEMBLY [89139]
MAGNETO [91208]
OIL PUMP [91207]
OIL TANK ASSEMBLY [94603]
PASSENGER SEAT AND BACKREST ASSEMBLY [93054]
PISTON AND CRANKSHAFT [91206]
REAR BUMPER, RACK RAIL, SNOWFLAP, AND TAILLIGHT ASSEMBLY [93060]
REAR SUSPENSION FRONT ARM ASSEMBLY [94621]
REAR SUSPENSION REAR ARM ASSEMBLY [94622]
RECOIL STARTER [89143]
REED VALVE ASSEMBLY [89140]
SEAT SUPPORT ASSEMBLY [93052]
SKI AND SPINDLE ASSEMBLY [93038]
SKID PLATE AND SIDE PANEL ASSEMBLY [93051]
SLIDE RAIL AND TRACK ASSEMBLY [93059]
STEERING POST ASSEMBLY [93023]
STEERING SUPPORT ASSEMBLY [99245]
TIE ROD ASSEMBLY [91119]
A-ARM AND SWAY BAR ASSEMBLY [90549]
AIR SILENCER ASSEMBLY [88569]
BATTERY AND TRAY ASSEMBLY [91199]
BELT GUARD ASSEMBLY [93032]
CARBURETOR [91204]
CARBURETOR AND FUEL PUMP ASSEMBLY [91200]
CHASSIS ASSEMBLY [91315]
CONSOLE ASSEMBLY [91190]
CRANKCASE AND CYLINDER [91205]
CYLINDER COWLING ASSEMBLY [89142]
DRIVE CLUTCH [99355]
DRIVE TRAIN SHAFT AND BRAKE ASSEMBLIES [94607]
DRIVEN CLUTCH [91203]
ELECTRIC START - STARTER MOTOR ASSEMBLY [91198]
ELECTRICAL [91209]
ENGINE AND RELATED PARTS [93056]
EXHAUST ASSEMBLY [89128]
FRONT SEAT ASSEMBLY [93053]
FRONT SHOCK ABSORBER ASSEMBLY [93044]
FUEL LEVEL SENSOR ASSEMBLY [97043]
GAS TANK ASSEMBLY [91339]
GEARCASE ASSEMBLY [94608]
HANDLEBAR AND CONTROLS [97036]
HEADLIGHT AND WIRING ASSEMBLIES [93050]
HOOD, WINDSHIELD, AND FRONT BUMBER ASSEMBLY [93049]
HYDRAULIC BRAKE CONTROL ASSEMBLY [97037]
IDLER WHEEL ASSEMBLY [91868]
INTAKE ASSEMBLY [89139]
MAGNETO [91208]
OIL PUMP [91207]
OIL TANK ASSEMBLY [94603]
PASSENGER SEAT AND BACKREST ASSEMBLY [93054]
PISTON AND CRANKSHAFT [91206]
REAR BUMPER, RACK RAIL, SNOWFLAP, AND TAILLIGHT ASSEMBLY [93060]
REAR SUSPENSION FRONT ARM ASSEMBLY [94621]
REAR SUSPENSION REAR ARM ASSEMBLY [94622]
RECOIL STARTER [89143]
REED VALVE ASSEMBLY [89140]
SEAT SUPPORT ASSEMBLY [93052]
SKI AND SPINDLE ASSEMBLY [93038]
SKID PLATE AND SIDE PANEL ASSEMBLY [93051]
SLIDE RAIL AND TRACK ASSEMBLY [93059]
STEERING POST ASSEMBLY [93023]
STEERING SUPPORT ASSEMBLY [99245]
TIE ROD ASSEMBLY [91119]
VIEW WISH LIST