Greenville, TX
|
Give Us a Call
(903) 454-4440
Toggle navigation
Home
Brands
Manufacturer Models
OEM Promotions
Polaris
Can-Am
E-Z-Go
Honda
Kawasaki
Suzuki
Inventory
All Inventory In Stock
New Inventory In Stock
Used Inventory
Value Your Trade-In
Request a Model
Schedule a Test Ride
Secure Financing
Parts
Parts Department
Parts Finder
Service
Service Department
Request Polaris Service
Warranty & Recall Look-Up
Specials
Financing
About
Our Dealership
Our Team
Reviews
Customer Survey
Employment
Events Calendar
Locations
Location & Hours
Contact
Parts Finder
Home
›
Parts
›
Parts Finder
Search by :
Part / Desc
VIN
Please Select
Arctic Cat
Honda
Kawasaki
Polaris
Suzuki
*Please enter at least 3 characters
SEARCH
Manufacturer
Arctic Cat
Snowmobiles
2011
M8 153 SNO PRO LTD GREEN [S2011M8HLEUSG]
VIEW WISH LIST
Select a Section
Show/Hide
A-ARM ASSEMBLY [93351]
AIR INTAKE ASSEMBLY [92950]
AIR SILENCER ASSEMBLY [91075]
BELLY PAN ASSEMBLY [93358]
BELT GUARD ASSEMBLY [91529]
CONSOLE AND SWITCH ASSEMBLY [89328]
COOLING ASSEMBLY [91613]
CRANKCASE ASSEMBLY [91585]
CYLINDER AND HEAD ASSEMBLY [91584]
DRIVE CLUTCH [93327]
DRIVE TRAIN SHAFT AND BRAKE ASSEMBLIES [93312]
DRIVEN CLUTCH [93328]
ELECTRICAL [93331]
ENGINE AND RELATED PARTS [93325]
EXHAUST ASSEMBLY [93326]
FRONT FRAME AND FOOTREST ASSEMBLY [91681]
FRONT SUSPENSION SHOCK ABSORBER [93340]
FRONT SUSPENSION SHOCK ABSORBER ASSEMBLY [93339]
FUEL PUMP ASSEMBLY [92909]
GAS TANK ASSEMBLY [93322]
GEARCASE ASSEMBLY [93313]
HANDLEBAR AND CONTROLS [93353]
HEADLIGHT, INSTRUMENTS, AND WIRING ASSEMBLIES [93345]
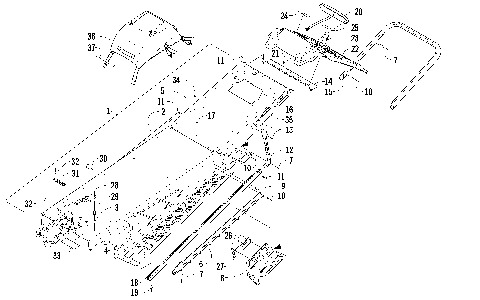
HOOD AND WINDSHIELD ASSEMBLY [93357]
HYDRAULIC BRAKE CONTROL ASSEMBLY [90653]
IDLER WHEEL ASSEMBLY [91057]
MAGNETO [89829]
OIL PUMP [93329]
OIL TANK ASSEMBLY [92915]
PISTON AND CRANKSHAFT [91586]
REAR SUSPENSION FRONT ARM ASSEMBLY [93355]
REAR SUSPENSION FRONT ARM SHOCK ABSORBER [93316]
REAR SUSPENSION REAR ARM ASSEMBLY [93356]
REAR SUSPENSION REAR ARM SHOCK ABSORBER [93344]
RECOIL STARTER [89828]
REED VALVE ASSEMBLY [96875]
SEAT ASSEMBLY [93359]
SERVOMOTOR ASSEMBLY [91541]
SKI AND SPINDLE ASSEMBLY [93350]
SLIDE RAIL AND TRACK ASSEMBLY [93354]
STEERING POST ASSEMBLY [93352]
THROTTLE BODY ASSEMBLY [91588]
TIE ROD ASSEMBLY [91517]
TUNNEL, REAR BUMPER, AND TAILLIGHT ASSEMBLY [93360]
WATER PUMP AND THERMOSTAT [93330]
A-ARM ASSEMBLY [93351]
AIR INTAKE ASSEMBLY [92950]
AIR SILENCER ASSEMBLY [91075]
BELLY PAN ASSEMBLY [93358]
BELT GUARD ASSEMBLY [91529]
CONSOLE AND SWITCH ASSEMBLY [89328]
COOLING ASSEMBLY [91613]
CRANKCASE ASSEMBLY [91585]
CYLINDER AND HEAD ASSEMBLY [91584]
DRIVE CLUTCH [93327]
DRIVE TRAIN SHAFT AND BRAKE ASSEMBLIES [93312]
DRIVEN CLUTCH [93328]
ELECTRICAL [93331]
ENGINE AND RELATED PARTS [93325]
EXHAUST ASSEMBLY [93326]
FRONT FRAME AND FOOTREST ASSEMBLY [91681]
FRONT SUSPENSION SHOCK ABSORBER [93340]
FRONT SUSPENSION SHOCK ABSORBER ASSEMBLY [93339]
FUEL PUMP ASSEMBLY [92909]
GAS TANK ASSEMBLY [93322]
GEARCASE ASSEMBLY [93313]
HANDLEBAR AND CONTROLS [93353]
HEADLIGHT, INSTRUMENTS, AND WIRING ASSEMBLIES [93345]
HOOD AND WINDSHIELD ASSEMBLY [93357]
HYDRAULIC BRAKE CONTROL ASSEMBLY [90653]
IDLER WHEEL ASSEMBLY [91057]
MAGNETO [89829]
OIL PUMP [93329]
OIL TANK ASSEMBLY [92915]
PISTON AND CRANKSHAFT [91586]
REAR SUSPENSION FRONT ARM ASSEMBLY [93355]
REAR SUSPENSION FRONT ARM SHOCK ABSORBER [93316]
REAR SUSPENSION REAR ARM ASSEMBLY [93356]
REAR SUSPENSION REAR ARM SHOCK ABSORBER [93344]
RECOIL STARTER [89828]
REED VALVE ASSEMBLY [96875]
SEAT ASSEMBLY [93359]
SERVOMOTOR ASSEMBLY [91541]
SKI AND SPINDLE ASSEMBLY [93350]
SLIDE RAIL AND TRACK ASSEMBLY [93354]
STEERING POST ASSEMBLY [93352]
THROTTLE BODY ASSEMBLY [91588]
TIE ROD ASSEMBLY [91517]
TUNNEL, REAR BUMPER, AND TAILLIGHT ASSEMBLY [93360]
WATER PUMP AND THERMOSTAT [93330]
VIEW WISH LIST