Greenville, TX
|
Give Us a Call
(903) 454-4440
Toggle navigation
Home
Brands
Manufacturer Models
OEM Promotions
Polaris
Can-Am
E-Z-Go
Honda
Kawasaki
Suzuki
Inventory
All Inventory In Stock
New Inventory In Stock
Used Inventory
Value Your Trade-In
Request a Model
Schedule a Test Ride
Secure Financing
Parts
Parts Department
Parts Finder
Service
Service Department
Request Polaris Service
Warranty & Recall Look-Up
Specials
Financing
About
Our Dealership
Our Team
Reviews
Customer Survey
Employment
Events Calendar
Locations
Location & Hours
Contact
Parts Finder
Home
›
Parts
›
Parts Finder
Search by :
Part / Desc
VIN
Please Select
Arctic Cat
Honda
Kawasaki
Polaris
Suzuki
*Please enter at least 3 characters
SEARCH
Manufacturer
Arctic Cat
Snowmobiles
2011
M6 153 BLACK INTERNATIONAL [S2011M6D3EOSB]
VIEW WISH LIST
Select a Section
Show/Hide
A-ARM ASSEMBLY [92937]
AIR INTAKE ASSEMBLY [92950]
AIR SILENCER ASSEMBLY [91075]
BELLY PAN ASSEMBLY [92946]
BELT GUARD ASSEMBLY [91529]
CONSOLE AND SWITCH ASSEMBLY [89328]
COOLING ASSEMBLY [91071]
CRANKCASE ASSEMBLY [89507]
CYLINDER AND HEAD ASSEMBLY [91079]
DRIVE CLUTCH [92954]
DRIVE TRAIN SHAFT AND BRAKE ASSEMBLIES [92953]
DRIVEN CLUTCH [91104]
ELECTRICAL [89648]
ENGINE AND RELATED PARTS [92948]
EXHAUST ASSEMBLY [92949]
FRONT FRAME AND FOOTREST ASSEMBLY [92943]
FRONT SUSPENSION SHOCK ABSORBER [91049]
FRONT SUSPENSION SHOCK ABSORBER ASSEMBLY [91048]
FUEL PUMP ASSEMBLY [92909]
GAS TANK ASSEMBLY [92929]
GEARCASE ASSEMBLY [91055]
HANDLEBAR AND CONTROLS [91052]
HEADLIGHT, INSTRUMENTS, AND WIRING ASSEMBLIES [92945]
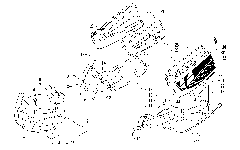
HOOD AND WINDSHIELD ASSEMBLY [92944]
HYDRAULIC BRAKE CONTROL ASSEMBLY [90653]
IDLER WHEEL ASSEMBLY [91057]
MAGNETO [89514]
OIL PUMP [89511]
OIL TANK ASSEMBLY [92915]
PISTON AND CRANKSHAFT [91080]
REAR SUSPENSION FRONT ARM ASSEMBLY [91058]
REAR SUSPENSION FRONT ARM SHOCK ABSORBER [91059]
REAR SUSPENSION REAR ARM ASSEMBLY [92941]
REAR SUSPENSION REAR ARM SHOCK ABSORBER [92942]
RECOIL STARTER [89513]
REED VALVE ASSEMBLY [89509]
SEAT ASSEMBLY [92947]
SERVOMOTOR ASSEMBLY [90461]
SKI AND SPINDLE ASSEMBLY [92936]
SLIDE RAIL AND TRACK ASSEMBLY [92940]
STEERING POST ASSEMBLY [92938]
THROTTLE BODY ASSEMBLY [89510]
TIE ROD ASSEMBLY [91517]
TUNNEL, REAR BUMPER, AND TAILLIGHT ASSEMBLY [91070]
WATER PUMP AND THERMOSTAT [91081]
A-ARM ASSEMBLY [92937]
AIR INTAKE ASSEMBLY [92950]
AIR SILENCER ASSEMBLY [91075]
BELLY PAN ASSEMBLY [92946]
BELT GUARD ASSEMBLY [91529]
CONSOLE AND SWITCH ASSEMBLY [89328]
COOLING ASSEMBLY [91071]
CRANKCASE ASSEMBLY [89507]
CYLINDER AND HEAD ASSEMBLY [91079]
DRIVE CLUTCH [92954]
DRIVE TRAIN SHAFT AND BRAKE ASSEMBLIES [92953]
DRIVEN CLUTCH [91104]
ELECTRICAL [89648]
ENGINE AND RELATED PARTS [92948]
EXHAUST ASSEMBLY [92949]
FRONT FRAME AND FOOTREST ASSEMBLY [92943]
FRONT SUSPENSION SHOCK ABSORBER [91049]
FRONT SUSPENSION SHOCK ABSORBER ASSEMBLY [91048]
FUEL PUMP ASSEMBLY [92909]
GAS TANK ASSEMBLY [92929]
GEARCASE ASSEMBLY [91055]
HANDLEBAR AND CONTROLS [91052]
HEADLIGHT, INSTRUMENTS, AND WIRING ASSEMBLIES [92945]
HOOD AND WINDSHIELD ASSEMBLY [92944]
HYDRAULIC BRAKE CONTROL ASSEMBLY [90653]
IDLER WHEEL ASSEMBLY [91057]
MAGNETO [89514]
OIL PUMP [89511]
OIL TANK ASSEMBLY [92915]
PISTON AND CRANKSHAFT [91080]
REAR SUSPENSION FRONT ARM ASSEMBLY [91058]
REAR SUSPENSION FRONT ARM SHOCK ABSORBER [91059]
REAR SUSPENSION REAR ARM ASSEMBLY [92941]
REAR SUSPENSION REAR ARM SHOCK ABSORBER [92942]
RECOIL STARTER [89513]
REED VALVE ASSEMBLY [89509]
SEAT ASSEMBLY [92947]
SERVOMOTOR ASSEMBLY [90461]
SKI AND SPINDLE ASSEMBLY [92936]
SLIDE RAIL AND TRACK ASSEMBLY [92940]
STEERING POST ASSEMBLY [92938]
THROTTLE BODY ASSEMBLY [89510]
TIE ROD ASSEMBLY [91517]
TUNNEL, REAR BUMPER, AND TAILLIGHT ASSEMBLY [91070]
WATER PUMP AND THERMOSTAT [91081]
VIEW WISH LIST