Greenville, TX
|
Give Us a Call
(903) 454-4440
Toggle navigation
Home
Brands
Manufacturer Models
OEM Promotions
Polaris
Can-Am
E-Z-Go
Honda
Kawasaki
Suzuki
Inventory
All Inventory In Stock
New Inventory In Stock
Used Inventory
Value Your Trade-In
Request a Model
Schedule a Test Ride
Secure Financing
Parts
Parts Department
Parts Finder
Service
Service Department
Request Polaris Service
Warranty & Recall Look-Up
Specials
Financing
About
Our Dealership
Our Team
Reviews
Customer Survey
Employment
Events Calendar
Locations
Location & Hours
Contact
Parts Finder
Home
›
Parts
›
Parts Finder
Search by :
Part / Desc
VIN
Please Select
Arctic Cat
Honda
Kawasaki
Polaris
Suzuki
*Please enter at least 3 characters
SEARCH
Manufacturer
Arctic Cat
Snowmobiles
2011
F8 LXR SNO PRO LTD GREEN [S2011F8HLEUSG]
VIEW WISH LIST
Select a Section
Show/Hide
A-ARM AND SWAY BAR ASSEMBLY [93682]
AIR SILENCER ASSEMBLY [91916]
BATTERY AND TRAY ASSEMBLY [91932]
BELT GUARD ASSEMBLY [93508]
CHASSIS, REAR BUMPER, AND SNOWFLAP ASSEMBLY [93689]
CONSOLE ASSEMBLY [91131]
COOLING ASSEMBLY [91945]
CRANKCASE ASSEMBLY [91585]
CYLINDER AND HEAD ASSEMBLY [95146]
DRIVE CLUTCH [91917]
DRIVE TRAIN SHAFT AND BRAKE ASSEMBLIES [93504]
DRIVEN CLUTCH [91946]
ELECTRICAL [93514]
ENGINE AND RELATED PARTS [91930]
EXHAUST ASSEMBLY [93512]
FLEX-DRIVE STARTER MOTOR ASSEMBLY [93541]
FRONT SUSPENSION SHOCK ABSORBER [92972]
FRONT SUSPENSION SHOCK ABSORBER ASSEMBLY [92971]
FUEL PUMP ASSEMBLY [93509]
GAS TANK ASSEMBLY [91910]
GEARCASE ASSEMBLY [91902]
HANDLEBAR AND CONTROLS [93684]
HEADLIGHT AND WIRING ASSEMBLIES [93670]
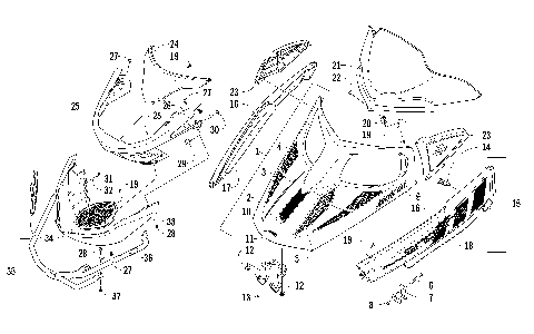
HOOD, WINDSHIELD, AND FRONT BUMPER ASSEMBLY [93690]
HYDRAULIC BRAKE CONTROL ASSEMBLY [97037]
IDLER WHEEL ASSEMBLY [93686]
MAGNETO [89829]
OIL PUMP [93329]
OIL TANK ASSEMBLY [91171]
PISTON AND CRANKSHAFT [91586]
REAR SUSPENSION FRONT ARM ASSEMBLY [93687]
REAR SUSPENSION FRONT ARM SHOCK ABSORBER [91159]
REAR SUSPENSION REAR ARM ASSEMBLY [93688]
REAR SUSPENSION REAR ARM SHOCK ABSORBER [89488]
RECOIL STARTER [89828]
REED VALVE ASSEMBLY [96875]
SEAT ASSEMBLY [93693]
SEAT SUPPORT ASSEMBLY [93692]
SERVOMOTOR ASSEMBLY [91541]
SKI AND SPINDLE ASSEMBLY [93681]
SKID PLATE AND SIDE PANEL ASSEMBLY [93691]
SLIDE RAIL AND TRACK ASSEMBLY [93685]
STEERING POST ASSEMBLY [91935]
STEERING SUPPORT ASSEMBLY [93526]
THROTTLE BODY ASSEMBLY [91588]
TIE ROD ASSEMBLY [91119]
WATER PUMP AND THERMOSTAT [93330]
A-ARM AND SWAY BAR ASSEMBLY [93682]
AIR SILENCER ASSEMBLY [91916]
BATTERY AND TRAY ASSEMBLY [91932]
BELT GUARD ASSEMBLY [93508]
CHASSIS, REAR BUMPER, AND SNOWFLAP ASSEMBLY [93689]
CONSOLE ASSEMBLY [91131]
COOLING ASSEMBLY [91945]
CRANKCASE ASSEMBLY [91585]
CYLINDER AND HEAD ASSEMBLY [95146]
DRIVE CLUTCH [91917]
DRIVE TRAIN SHAFT AND BRAKE ASSEMBLIES [93504]
DRIVEN CLUTCH [91946]
ELECTRICAL [93514]
ENGINE AND RELATED PARTS [91930]
EXHAUST ASSEMBLY [93512]
FLEX-DRIVE STARTER MOTOR ASSEMBLY [93541]
FRONT SUSPENSION SHOCK ABSORBER [92972]
FRONT SUSPENSION SHOCK ABSORBER ASSEMBLY [92971]
FUEL PUMP ASSEMBLY [93509]
GAS TANK ASSEMBLY [91910]
GEARCASE ASSEMBLY [91902]
HANDLEBAR AND CONTROLS [93684]
HEADLIGHT AND WIRING ASSEMBLIES [93670]
HOOD, WINDSHIELD, AND FRONT BUMPER ASSEMBLY [93690]
HYDRAULIC BRAKE CONTROL ASSEMBLY [97037]
IDLER WHEEL ASSEMBLY [93686]
MAGNETO [89829]
OIL PUMP [93329]
OIL TANK ASSEMBLY [91171]
PISTON AND CRANKSHAFT [91586]
REAR SUSPENSION FRONT ARM ASSEMBLY [93687]
REAR SUSPENSION FRONT ARM SHOCK ABSORBER [91159]
REAR SUSPENSION REAR ARM ASSEMBLY [93688]
REAR SUSPENSION REAR ARM SHOCK ABSORBER [89488]
RECOIL STARTER [89828]
REED VALVE ASSEMBLY [96875]
SEAT ASSEMBLY [93693]
SEAT SUPPORT ASSEMBLY [93692]
SERVOMOTOR ASSEMBLY [91541]
SKI AND SPINDLE ASSEMBLY [93681]
SKID PLATE AND SIDE PANEL ASSEMBLY [93691]
SLIDE RAIL AND TRACK ASSEMBLY [93685]
STEERING POST ASSEMBLY [91935]
STEERING SUPPORT ASSEMBLY [93526]
THROTTLE BODY ASSEMBLY [91588]
TIE ROD ASSEMBLY [91119]
WATER PUMP AND THERMOSTAT [93330]
VIEW WISH LIST