Greenville, TX
|
Give Us a Call
(903) 454-4440
Toggle navigation
Home
Brands
Manufacturer Models
OEM Promotions
Polaris
Can-Am
E-Z-Go
Honda
Kawasaki
Suzuki
Inventory
All Inventory In Stock
New Inventory In Stock
Used Inventory
Value Your Trade-In
Request a Model
Schedule a Test Ride
Secure Financing
Parts
Parts Department
Parts Finder
Service
Service Department
Request Polaris Service
Warranty & Recall Look-Up
Specials
Financing
About
Our Dealership
Our Team
Reviews
Customer Survey
Employment
Events Calendar
Locations
Location & Hours
Contact
Parts Finder
Home
›
Parts
›
Parts Finder
Search by :
Part / Desc
VIN
Please Select
Arctic Cat
Honda
Kawasaki
Polaris
Suzuki
*Please enter at least 3 characters
SEARCH
Manufacturer
Arctic Cat
Snowmobiles
2011
CFR8 WHITE [S2011CFHRCUSW]
VIEW WISH LIST
Select a Section
Show/Hide
A-ARM ASSEMBLY [89310]
AIR INTAKE ASSEMBLY [93562]
AIR SILENCER ASSEMBLY [91075]
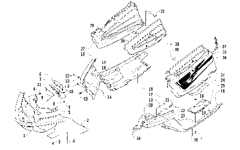
BELLY PAN ASSEMBLY [93558]
BELT GUARD ASSEMBLY [91529]
CONSOLE AND SWITCH ASSEMBLY [89328]
COOLING ASSEMBLY [93560]
CRANKCASE ASSEMBLY [91585]
CYLINDER AND HEAD ASSEMBLY [91584]
DRIVE CLUTCH [93563]
DRIVE TRAIN SHAFT AND BRAKE ASSEMBLIES [93555]
DRIVEN CLUTCH [91583]
ELECTRICAL [93331]
ENGINE AND RELATED PARTS [93561]
EXHAUST ASSEMBLY [93326]
FRONT FRAME AND FOOTREST ASSEMBLY [93556]
FRONT SUSPENSION SHOCK ABSORBER [89312]
FUEL PUMP ASSEMBLY [92909]
GAS TANK ASSEMBLY [93559]
GEARCASE ASSEMBLY [91573]
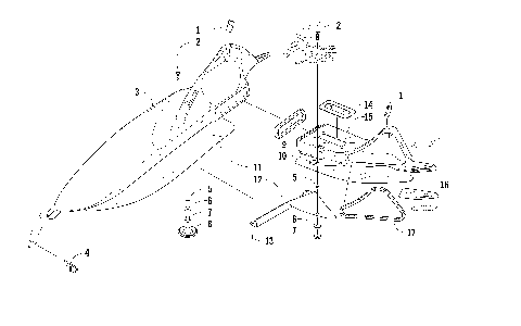
HANDLEBAR AND CONTROLS [91571]
HEADLIGHT, INSTRUMENTS, AND WIRING ASSEMBLIES [92906]
HOOD AND WINDSHIELD ASSEMBLY [93557]
HYDRAULIC BRAKE CONTROL ASSEMBLY [90653]
IDLER WHEEL ASSEMBLY [91555]
MAGNETO [89829]
OIL PUMP [93329]
OIL TANK ASSEMBLY [92915]
PISTON AND CRANKSHAFT [91586]
REAR SUSPENSION FRONT ARM ASSEMBLY [89321]
REAR SUSPENSION FRONT ARM SHOCK ABSORBER [91556]
REAR SUSPENSION REAR ARM ASSEMBLY [89323]
REAR SUSPENSION REAR ARM SHOCK ABSORBER [89324]
RECOIL STARTER [89828]
REED VALVE ASSEMBLY [96875]
SEAT ASSEMBLY [92910]
SERVOMOTOR ASSEMBLY [91541]
SHOCK ABSORBER AND SWAY BAR ASSEMBLY [91549]
SKI AND SPINDLE ASSEMBLY [91087]
SLIDE RAIL AND TRACK ASSEMBLY [91554]
STEERING POST ASSEMBLY [91570]
THROTTLE BODY ASSEMBLY [91588]
TIE ROD ASSEMBLY [91088]
TUNNEL, REAR BUMPER, AND TAILLIGHT ASSEMBLY [92911]
WATER PUMP AND THERMOSTAT [93330]
A-ARM ASSEMBLY [89310]
AIR INTAKE ASSEMBLY [93562]
AIR SILENCER ASSEMBLY [91075]
BELLY PAN ASSEMBLY [93558]
BELT GUARD ASSEMBLY [91529]
CONSOLE AND SWITCH ASSEMBLY [89328]
COOLING ASSEMBLY [93560]
CRANKCASE ASSEMBLY [91585]
CYLINDER AND HEAD ASSEMBLY [91584]
DRIVE CLUTCH [93563]
DRIVE TRAIN SHAFT AND BRAKE ASSEMBLIES [93555]
DRIVEN CLUTCH [91583]
ELECTRICAL [93331]
ENGINE AND RELATED PARTS [93561]
EXHAUST ASSEMBLY [93326]
FRONT FRAME AND FOOTREST ASSEMBLY [93556]
FRONT SUSPENSION SHOCK ABSORBER [89312]
FUEL PUMP ASSEMBLY [92909]
GAS TANK ASSEMBLY [93559]
GEARCASE ASSEMBLY [91573]
HANDLEBAR AND CONTROLS [91571]
HEADLIGHT, INSTRUMENTS, AND WIRING ASSEMBLIES [92906]
HOOD AND WINDSHIELD ASSEMBLY [93557]
HYDRAULIC BRAKE CONTROL ASSEMBLY [90653]
IDLER WHEEL ASSEMBLY [91555]
MAGNETO [89829]
OIL PUMP [93329]
OIL TANK ASSEMBLY [92915]
PISTON AND CRANKSHAFT [91586]
REAR SUSPENSION FRONT ARM ASSEMBLY [89321]
REAR SUSPENSION FRONT ARM SHOCK ABSORBER [91556]
REAR SUSPENSION REAR ARM ASSEMBLY [89323]
REAR SUSPENSION REAR ARM SHOCK ABSORBER [89324]
RECOIL STARTER [89828]
REED VALVE ASSEMBLY [96875]
SEAT ASSEMBLY [92910]
SERVOMOTOR ASSEMBLY [91541]
SHOCK ABSORBER AND SWAY BAR ASSEMBLY [91549]
SKI AND SPINDLE ASSEMBLY [91087]
SLIDE RAIL AND TRACK ASSEMBLY [91554]
STEERING POST ASSEMBLY [91570]
THROTTLE BODY ASSEMBLY [91588]
TIE ROD ASSEMBLY [91088]
TUNNEL, REAR BUMPER, AND TAILLIGHT ASSEMBLY [92911]
WATER PUMP AND THERMOSTAT [93330]
VIEW WISH LIST