Greenville, TX
|
Give Us a Call
(903) 454-4440
Toggle navigation
Home
Brands
Manufacturer Models
OEM Promotions
Polaris
Can-Am
E-Z-Go
Honda
Kawasaki
Suzuki
Inventory
All Inventory In Stock
New Inventory In Stock
Used Inventory
Value Your Trade-In
Request a Model
Schedule a Test Ride
Secure Financing
Parts
Parts Department
Parts Finder
Service
Service Department
Request Polaris Service
Warranty & Recall Look-Up
Specials
Financing
About
Our Dealership
Our Team
Reviews
Customer Survey
Employment
Events Calendar
Locations
Location & Hours
Contact
Parts Finder
Home
›
Parts
›
Parts Finder
Search by :
Part / Desc
VIN
Please Select
Arctic Cat
Honda
Kawasaki
Polaris
Suzuki
*Please enter at least 3 characters
SEARCH
Manufacturer
Arctic Cat
Snowmobiles
2011
CFR1000 WHITE [S2011CFLRCUSW]
VIEW WISH LIST
Select a Section
Show/Hide
A-ARM ASSEMBLY [89310]
AIR INTAKE ASSEMBLY [92914]
AIR SILENCER ASSEMBLY [91959]
BELLY PAN ASSEMBLY [92907]
BELT GUARD ASSEMBLY [91529]
CONSOLE AND SWITCH ASSEMBLY [89328]
COOLING ASSEMBLY [92912]
CRANKCASE ASSEMBLY [89344]
CYLINDER AND HEAD ASSEMBLY [91546]
DRIVE CLUTCH [91566]
DRIVE TRAIN SHAFT AND BRAKE ASSEMBLIES [92903]
DRIVEN CLUTCH [91567]
ELECTRICAL [92917]
ENGINE AND RELATED PARTS [91534]
EXHAUST ASSEMBLY [92913]
FRONT FRAME AND FOOTREST ASSEMBLY [92904]
FRONT SUSPENSION SHOCK ABSORBER [89312]
FUEL PUMP ASSEMBLY [92909]
GAS TANK ASSEMBLY [92908]
GEARCASE ASSEMBLY [91553]
HANDLEBAR AND CONTROLS [91551]
HEADLIGHT, INSTRUMENTS, AND WIRING ASSEMBLIES [92906]
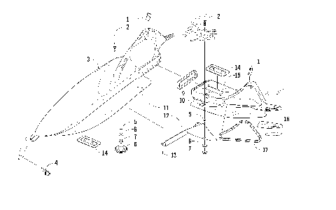
HOOD AND WINDSHIELD ASSEMBLY [92905]
HYDRAULIC BRAKE CONTROL ASSEMBLY [90653]
IDLER WHEEL ASSEMBLY [91555]
MAGNETO [89351]
OIL PUMP [89348]
OIL TANK ASSEMBLY [92915]
PISTON AND CRANKSHAFT [89345]
REAR SUSPENSION FRONT ARM ASSEMBLY [89321]
REAR SUSPENSION FRONT ARM SHOCK ABSORBER [91556]
REAR SUSPENSION REAR ARM ASSEMBLY [89323]
REAR SUSPENSION REAR ARM SHOCK ABSORBER [89324]
RECOIL STARTER [89350]
REED VALVE ASSEMBLY [89346]
SEAT ASSEMBLY [92910]
SERVOMOTOR ASSEMBLY [91541]
SHOCK ABSORBER AND SWAY BAR ASSEMBLY [91549]
SKI AND SPINDLE ASSEMBLY [91087]
SLIDE RAIL AND TRACK ASSEMBLY [91554]
STEERING POST ASSEMBLY [91550]
THROTTLE BODY ASSEMBLY [89347]
TIE ROD ASSEMBLY [91088]
TUNNEL, REAR BUMPER, AND TAILLIGHT ASSEMBLY [92911]
WATER PUMP AND THERMOSTAT [92916]
A-ARM ASSEMBLY [89310]
AIR INTAKE ASSEMBLY [92914]
AIR SILENCER ASSEMBLY [91959]
BELLY PAN ASSEMBLY [92907]
BELT GUARD ASSEMBLY [91529]
CONSOLE AND SWITCH ASSEMBLY [89328]
COOLING ASSEMBLY [92912]
CRANKCASE ASSEMBLY [89344]
CYLINDER AND HEAD ASSEMBLY [91546]
DRIVE CLUTCH [91566]
DRIVE TRAIN SHAFT AND BRAKE ASSEMBLIES [92903]
DRIVEN CLUTCH [91567]
ELECTRICAL [92917]
ENGINE AND RELATED PARTS [91534]
EXHAUST ASSEMBLY [92913]
FRONT FRAME AND FOOTREST ASSEMBLY [92904]
FRONT SUSPENSION SHOCK ABSORBER [89312]
FUEL PUMP ASSEMBLY [92909]
GAS TANK ASSEMBLY [92908]
GEARCASE ASSEMBLY [91553]
HANDLEBAR AND CONTROLS [91551]
HEADLIGHT, INSTRUMENTS, AND WIRING ASSEMBLIES [92906]
HOOD AND WINDSHIELD ASSEMBLY [92905]
HYDRAULIC BRAKE CONTROL ASSEMBLY [90653]
IDLER WHEEL ASSEMBLY [91555]
MAGNETO [89351]
OIL PUMP [89348]
OIL TANK ASSEMBLY [92915]
PISTON AND CRANKSHAFT [89345]
REAR SUSPENSION FRONT ARM ASSEMBLY [89321]
REAR SUSPENSION FRONT ARM SHOCK ABSORBER [91556]
REAR SUSPENSION REAR ARM ASSEMBLY [89323]
REAR SUSPENSION REAR ARM SHOCK ABSORBER [89324]
RECOIL STARTER [89350]
REED VALVE ASSEMBLY [89346]
SEAT ASSEMBLY [92910]
SERVOMOTOR ASSEMBLY [91541]
SHOCK ABSORBER AND SWAY BAR ASSEMBLY [91549]
SKI AND SPINDLE ASSEMBLY [91087]
SLIDE RAIL AND TRACK ASSEMBLY [91554]
STEERING POST ASSEMBLY [91550]
THROTTLE BODY ASSEMBLY [89347]
TIE ROD ASSEMBLY [91088]
TUNNEL, REAR BUMPER, AND TAILLIGHT ASSEMBLY [92911]
WATER PUMP AND THERMOSTAT [92916]
VIEW WISH LIST