Greenville, TX
|
Give Us a Call
(903) 454-4440
Toggle navigation
Home
Brands
Manufacturer Models
OEM Promotions
Polaris
Can-Am
E-Z-Go
Honda
Kawasaki
Suzuki
Inventory
All Inventory In Stock
New Inventory In Stock
Used Inventory
Value Your Trade-In
Request a Model
Schedule a Test Ride
Secure Financing
Parts
Parts Department
Parts Finder
Service
Service Department
Request Polaris Service
Warranty & Recall Look-Up
Specials
Financing
About
Our Dealership
Our Team
Reviews
Customer Survey
Employment
Events Calendar
Locations
Location & Hours
Contact
Parts Finder
Home
›
Parts
›
Parts Finder
Search by :
Part / Desc
VIN
Please Select
Arctic Cat
Honda
Kawasaki
Polaris
Suzuki
*Please enter at least 3 characters
SEARCH
Manufacturer
Arctic Cat
Snowmobiles
2011
BEARCAT 570 XT INTERNATIONAL BLACK [S2011BCDWTOSB]
VIEW WISH LIST
Select a Section
Show/Hide
A-ARM ASSEMBLY [90204]
AIR SILENCER ASSEMBLY [91377]
ARTICULATING SKID FRAME ASSEMBLY [93088]
BATTERY AND TRAY ASSEMBLY [91375]
BELT GUARD ASSEMBLY [93094]
CARBURETOR [91204]
CARBURETOR AND FUEL PUMP ASSEMBLY [97283]
CHASSIS ASSEMBLY [93089]
CONSOLE ASSEMBLY [93101]
CRANKCASE AND CYLINDER [91205]
CYLINDER COWLING ASSEMBLY [89142]
DRIVE CLUTCH [99208]
DRIVE TRAIN SHAFT AND BRAKE ASSEMBLIES [93084]
DRIVEN CLUTCH [91343]
ELECTRIC START - STARTER MOTOR ASSEMBLY [91374]
ELECTRICAL [91209]
ENGINE AND RELATED PARTS [93096]
EXHAUST ASSEMBLY [91373]
FRONT SEAT ASSEMBLY [91400]
FRONT SHOCK ABSORBER ASSEMBLY [94749]
GAS TANK ASSEMBLY [91367]
GEARCASE ASSEMBLY [94608]
HANDLEBAR AND CONTROLS [91354]
HEADLIGHT AND WIRING ASSEMBLIES [93091]
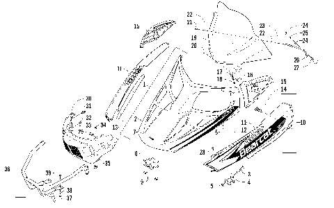
HOOD, WINDSHIELD, AND FRONT BUMBER ASSEMBLY [93100]
HYDRAULIC BRAKE CONTROL ASSEMBLY [97275]
IDLER WHEEL ASSEMBLY [93086]
INTAKE ASSEMBLY [89139]
MAGNETO [91208]
OIL PUMP [91207]
OIL TANK ASSEMBLY [101610]
PISTON AND CRANKSHAFT [91206]
REAR BUMPER, RACK RAIL, SNOWFLAP, AND TAILLIGHT ASSEMBLY [93095]
REAR PASSENGER SEAT AND BACKREST ASSEMBLY [93284]
REAR SUSPENSION FRONT ARM ASSEMBLY [93087]
REAR SUSPENSION REAR ARM ASSEMBLY [91360]
RECOIL STARTER [89143]
REED VALVE ASSEMBLY [89140]
SEAT SUPPORT ASSEMBLY [94883]
SKI AND SPINDLE ASSEMBLY [90151]
SKID PLATE AND SIDE PANEL ASSEMBLY [93093]
SLIDE RAIL AND TRACK ASSEMBLY [93099]
STEERING POST ASSEMBLY [93082]
STEERING SUPPORT ASSEMBLY [99213]
TIE ROD ASSEMBLY [91352]
A-ARM ASSEMBLY [90204]
AIR SILENCER ASSEMBLY [91377]
ARTICULATING SKID FRAME ASSEMBLY [93088]
BATTERY AND TRAY ASSEMBLY [91375]
BELT GUARD ASSEMBLY [93094]
CARBURETOR [91204]
CARBURETOR AND FUEL PUMP ASSEMBLY [97283]
CHASSIS ASSEMBLY [93089]
CONSOLE ASSEMBLY [93101]
CRANKCASE AND CYLINDER [91205]
CYLINDER COWLING ASSEMBLY [89142]
DRIVE CLUTCH [99208]
DRIVE TRAIN SHAFT AND BRAKE ASSEMBLIES [93084]
DRIVEN CLUTCH [91343]
ELECTRIC START - STARTER MOTOR ASSEMBLY [91374]
ELECTRICAL [91209]
ENGINE AND RELATED PARTS [93096]
EXHAUST ASSEMBLY [91373]
FRONT SEAT ASSEMBLY [91400]
FRONT SHOCK ABSORBER ASSEMBLY [94749]
GAS TANK ASSEMBLY [91367]
GEARCASE ASSEMBLY [94608]
HANDLEBAR AND CONTROLS [91354]
HEADLIGHT AND WIRING ASSEMBLIES [93091]
HOOD, WINDSHIELD, AND FRONT BUMBER ASSEMBLY [93100]
HYDRAULIC BRAKE CONTROL ASSEMBLY [97275]
IDLER WHEEL ASSEMBLY [93086]
INTAKE ASSEMBLY [89139]
MAGNETO [91208]
OIL PUMP [91207]
OIL TANK ASSEMBLY [101610]
PISTON AND CRANKSHAFT [91206]
REAR BUMPER, RACK RAIL, SNOWFLAP, AND TAILLIGHT ASSEMBLY [93095]
REAR PASSENGER SEAT AND BACKREST ASSEMBLY [93284]
REAR SUSPENSION FRONT ARM ASSEMBLY [93087]
REAR SUSPENSION REAR ARM ASSEMBLY [91360]
RECOIL STARTER [89143]
REED VALVE ASSEMBLY [89140]
SEAT SUPPORT ASSEMBLY [94883]
SKI AND SPINDLE ASSEMBLY [90151]
SKID PLATE AND SIDE PANEL ASSEMBLY [93093]
SLIDE RAIL AND TRACK ASSEMBLY [93099]
STEERING POST ASSEMBLY [93082]
STEERING SUPPORT ASSEMBLY [99213]
TIE ROD ASSEMBLY [91352]
VIEW WISH LIST