Greenville, TX
|
Give Us a Call
(903) 454-4440
Toggle navigation
Home
Brands
Manufacturer Models
OEM Promotions
Polaris
Can-Am
E-Z-Go
Honda
Kawasaki
Suzuki
Inventory
All Inventory In Stock
New Inventory In Stock
Used Inventory
Value Your Trade-In
Request a Model
Schedule a Test Ride
Secure Financing
Parts
Parts Department
Parts Finder
Service
Service Department
Request Polaris Service
Warranty & Recall Look-Up
Specials
Financing
About
Our Dealership
Our Team
Reviews
Customer Survey
Employment
Events Calendar
Locations
Location & Hours
Contact
Parts Finder
Home
›
Parts
›
Parts Finder
Search by :
Part / Desc
VIN
Please Select
Arctic Cat
Honda
Kawasaki
Polaris
Suzuki
*Please enter at least 3 characters
SEARCH
Manufacturer
Arctic Cat
Snowmobiles
2010
F8 EFI GREEN [S2010F8HEFUSG]
VIEW WISH LIST
Select a Section
Show/Hide
A-ARM AND SWAY BAR ASSEMBLY [90549]
AIR SILENCER ASSEMBLY [91916]
BELT GUARD ASSEMBLY [91909]
CHASSIS, REAR BUMPER, AND SNOWFLAP ASSEMBLY [91904]
CONSOLE ASSEMBLY [91907]
COOLING ASSEMBLY [91913]
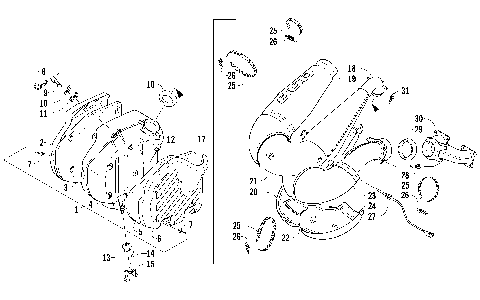
CRANKCASE ASSEMBLY [91585]
CYLINDER AND HEAD ASSEMBLY [95146]
DRIVE CLUTCH [91917]
DRIVE TRAIN SHAFT AND BRAKE ASSEMBLIES [91901]
DRIVEN CLUTCH [91918]
ELECTRICAL [91920]
ENGINE AND RELATED PARTS [91914]
EXHAUST ASSEMBLY [91915]
FRONT SUSPENSION SHOCK ABSORBER [91500]
FUEL PUMP ASSEMBLY [91135]
GAS TANK ASSEMBLY [91910]
GEARCASE ASSEMBLY [91902]
HANDLEBAR AND CONTROLS [91900]
HEADLIGHT AND WIRING ASSEMBLIES [91906]
HOOD, WINDSHIELD, AND FRONT BUMPER ASSEMBLY [91905]
HYDRAULIC BRAKE CONTROL ASSEMBLY [97037]
IDLER WHEEL ASSEMBLY [93469]
MAGNETO [89829]
OIL PUMP [93329]
OIL TANK ASSEMBLY [91171]
PISTON AND CRANKSHAFT [91586]
REAR SUSPENSION FRONT ARM ASSEMBLY [93666]
REAR SUSPENSION FRONT ARM SHOCK ABSORBER [91503]
REAR SUSPENSION REAR ARM ASSEMBLY [93667]
REAR SUSPENSION REAR ARM SHOCK ABSORBER [91505]
RECOIL STARTER [89828]
REED VALVE ASSEMBLY [96875]
SEAT ASSEMBLY [91912]
SEAT SUPPORT ASSEMBLY [91911]
SERVOMOTOR ASSEMBLY [91541]
SHOCK ABSORBER ASSEMBLY [91499]
SKI AND SPINDLE ASSEMBLY [91115]
SKID PLATE AND SIDE PANEL ASSEMBLY [91908]
SLIDE RAIL AND TRACK ASSEMBLY [91903]
STEERING POST ASSEMBLY [91898]
STEERING SUPPORT ASSEMBLY [91899]
THROTTLE BODY ASSEMBLY [91588]
TIE ROD ASSEMBLY [91119]
WATER PUMP AND THERMOSTAT [93330]
A-ARM AND SWAY BAR ASSEMBLY [90549]
AIR SILENCER ASSEMBLY [91916]
BELT GUARD ASSEMBLY [91909]
CHASSIS, REAR BUMPER, AND SNOWFLAP ASSEMBLY [91904]
CONSOLE ASSEMBLY [91907]
COOLING ASSEMBLY [91913]
CRANKCASE ASSEMBLY [91585]
CYLINDER AND HEAD ASSEMBLY [95146]
DRIVE CLUTCH [91917]
DRIVE TRAIN SHAFT AND BRAKE ASSEMBLIES [91901]
DRIVEN CLUTCH [91918]
ELECTRICAL [91920]
ENGINE AND RELATED PARTS [91914]
EXHAUST ASSEMBLY [91915]
FRONT SUSPENSION SHOCK ABSORBER [91500]
FUEL PUMP ASSEMBLY [91135]
GAS TANK ASSEMBLY [91910]
GEARCASE ASSEMBLY [91902]
HANDLEBAR AND CONTROLS [91900]
HEADLIGHT AND WIRING ASSEMBLIES [91906]
HOOD, WINDSHIELD, AND FRONT BUMPER ASSEMBLY [91905]
HYDRAULIC BRAKE CONTROL ASSEMBLY [97037]
IDLER WHEEL ASSEMBLY [93469]
MAGNETO [89829]
OIL PUMP [93329]
OIL TANK ASSEMBLY [91171]
PISTON AND CRANKSHAFT [91586]
REAR SUSPENSION FRONT ARM ASSEMBLY [93666]
REAR SUSPENSION FRONT ARM SHOCK ABSORBER [91503]
REAR SUSPENSION REAR ARM ASSEMBLY [93667]
REAR SUSPENSION REAR ARM SHOCK ABSORBER [91505]
RECOIL STARTER [89828]
REED VALVE ASSEMBLY [96875]
SEAT ASSEMBLY [91912]
SEAT SUPPORT ASSEMBLY [91911]
SERVOMOTOR ASSEMBLY [91541]
SHOCK ABSORBER ASSEMBLY [91499]
SKI AND SPINDLE ASSEMBLY [91115]
SKID PLATE AND SIDE PANEL ASSEMBLY [91908]
SLIDE RAIL AND TRACK ASSEMBLY [91903]
STEERING POST ASSEMBLY [91898]
STEERING SUPPORT ASSEMBLY [91899]
THROTTLE BODY ASSEMBLY [91588]
TIE ROD ASSEMBLY [91119]
WATER PUMP AND THERMOSTAT [93330]
VIEW WISH LIST