Greenville, TX
|
Give Us a Call
(903) 454-4440
Toggle navigation
Home
Brands
Manufacturer Models
OEM Promotions
Polaris
Can-Am
E-Z-Go
Honda
Kawasaki
Suzuki
Inventory
All Inventory In Stock
New Inventory In Stock
Used Inventory
Value Your Trade-In
Request a Model
Schedule a Test Ride
Secure Financing
Parts
Parts Department
Parts Finder
Service
Service Department
Request Polaris Service
Warranty & Recall Look-Up
Specials
Financing
About
Our Dealership
Our Team
Reviews
Customer Survey
Employment
Events Calendar
Locations
Location & Hours
Contact
Parts Finder
Home
›
Parts
›
Parts Finder
Search by :
Part / Desc
VIN
Please Select
Arctic Cat
Honda
Kawasaki
Polaris
Suzuki
*Please enter at least 3 characters
SEARCH
Manufacturer
Arctic Cat
Snowmobiles
2010
CF8 LE BLACK INTERNATIONAL [S2010CFHLEOSB]
VIEW WISH LIST
Select a Section
Show/Hide
A-ARM ASSEMBLY [91594]
AIR INTAKE ASSEMBLY [91615]
AIR SILENCER ASSEMBLY [91075]
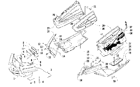
BELLY PAN ASSEMBLY [91718]
BELT GUARD ASSEMBLY [91529]
CONSOLE AND SWITCH ASSEMBLY [89328]
COOLING ASSEMBLY [91721]
CRANKCASE ASSEMBLY [91585]
CYLINDER AND HEAD ASSEMBLY [91584]
DRIVE CLUTCH [91582]
DRIVE TRAIN SHAFT AND BRAKE ASSEMBLIES [91690]
DRIVEN CLUTCH [99356]
ELECTRICAL [91591]
ENGINE AND RELATED PARTS [93561]
EXHAUST ASSEMBLY [91580]
FRONT FRAME AND FOOTREST ASSEMBLY [91716]
FRONT SUSPENSION SHOCK ABSORBER [91703]
FUEL PUMP ASSEMBLY [91068]
GAS TANK ASSEMBLY [91719]
GEARCASE ASSEMBLY [93571]
HANDLEBAR AND CONTROLS [91620]
HEADLIGHT, INSTRUMENTS, AND WIRING ASSEMBLIES [91708]
HOOD AND WINDSHIELD ASSEMBLY [91717]
HYDRAULIC BRAKE CONTROL ASSEMBLY [90653]
IDLER WHEEL ASSEMBLY [91715]
MAGNETO [89829]
OIL PUMP [93329]
OIL TANK ASSEMBLY [92915]
PISTON AND CRANKSHAFT [91586]
REAR SUSPENSION FRONT ARM ASSEMBLY [92961]
REAR SUSPENSION FRONT ARM SHOCK ABSORBER [89601]
REAR SUSPENSION REAR ARM ASSEMBLY [89718]
REAR SUSPENSION REAR ARM SHOCK ABSORBER [91061]
RECOIL STARTER [89828]
REED VALVE ASSEMBLY [96875]
SEAT ASSEMBLY [91643]
SERVOMOTOR ASSEMBLY [91541]
SHOCK ABSORBER AND SWAY BAR ASSEMBLY [91702]
SKI AND SPINDLE ASSEMBLY [93566]
SLIDE RAIL AND TRACK ASSEMBLY [91714]
STEERING POST ASSEMBLY [91619]
THROTTLE BODY ASSEMBLY [91588]
TIE ROD ASSEMBLY [94396]
TUNNEL, REAR BUMPER, AND TAILLIGHT ASSEMBLY [91720]
WATER PUMP AND THERMOSTAT [93330]
A-ARM ASSEMBLY [91594]
AIR INTAKE ASSEMBLY [91615]
AIR SILENCER ASSEMBLY [91075]
BELLY PAN ASSEMBLY [91718]
BELT GUARD ASSEMBLY [91529]
CONSOLE AND SWITCH ASSEMBLY [89328]
COOLING ASSEMBLY [91721]
CRANKCASE ASSEMBLY [91585]
CYLINDER AND HEAD ASSEMBLY [91584]
DRIVE CLUTCH [91582]
DRIVE TRAIN SHAFT AND BRAKE ASSEMBLIES [91690]
DRIVEN CLUTCH [99356]
ELECTRICAL [91591]
ENGINE AND RELATED PARTS [93561]
EXHAUST ASSEMBLY [91580]
FRONT FRAME AND FOOTREST ASSEMBLY [91716]
FRONT SUSPENSION SHOCK ABSORBER [91703]
FUEL PUMP ASSEMBLY [91068]
GAS TANK ASSEMBLY [91719]
GEARCASE ASSEMBLY [93571]
HANDLEBAR AND CONTROLS [91620]
HEADLIGHT, INSTRUMENTS, AND WIRING ASSEMBLIES [91708]
HOOD AND WINDSHIELD ASSEMBLY [91717]
HYDRAULIC BRAKE CONTROL ASSEMBLY [90653]
IDLER WHEEL ASSEMBLY [91715]
MAGNETO [89829]
OIL PUMP [93329]
OIL TANK ASSEMBLY [92915]
PISTON AND CRANKSHAFT [91586]
REAR SUSPENSION FRONT ARM ASSEMBLY [92961]
REAR SUSPENSION FRONT ARM SHOCK ABSORBER [89601]
REAR SUSPENSION REAR ARM ASSEMBLY [89718]
REAR SUSPENSION REAR ARM SHOCK ABSORBER [91061]
RECOIL STARTER [89828]
REED VALVE ASSEMBLY [96875]
SEAT ASSEMBLY [91643]
SERVOMOTOR ASSEMBLY [91541]
SHOCK ABSORBER AND SWAY BAR ASSEMBLY [91702]
SKI AND SPINDLE ASSEMBLY [93566]
SLIDE RAIL AND TRACK ASSEMBLY [91714]
STEERING POST ASSEMBLY [91619]
THROTTLE BODY ASSEMBLY [91588]
TIE ROD ASSEMBLY [94396]
TUNNEL, REAR BUMPER, AND TAILLIGHT ASSEMBLY [91720]
WATER PUMP AND THERMOSTAT [93330]
VIEW WISH LIST