Greenville, TX
|
Give Us a Call
(903) 454-4440
Toggle navigation
Home
Brands
Manufacturer Models
OEM Promotions
Polaris
Can-Am
E-Z-Go
Honda
Kawasaki
Suzuki
Inventory
All Inventory In Stock
New Inventory In Stock
Used Inventory
Value Your Trade-In
Request a Model
Schedule a Test Ride
Secure Financing
Parts
Parts Department
Parts Finder
Service
Service Department
Request Polaris Service
Warranty & Recall Look-Up
Specials
Financing
About
Our Dealership
Our Team
Reviews
Customer Survey
Employment
Events Calendar
Locations
Location & Hours
Contact
Parts Finder
Home
›
Parts
›
Parts Finder
Search by :
Part / Desc
VIN
Please Select
Arctic Cat
Honda
Kawasaki
Polaris
Suzuki
*Please enter at least 3 characters
SEARCH
Manufacturer
Arctic Cat
Snowmobiles
2010
BEARCAT 570 LONG TRACK [S2010BCDFCUSL]
VIEW WISH LIST
Select a Section
Show/Hide
A-ARM ASSEMBLY [89253]
AIR SILENCER ASSEMBLY [88569]
BELT GUARD ASSEMBLY [91192]
CARBURETOR [91204]
CARBURETOR AND FUEL PUMP ASSEMBLY [91200]
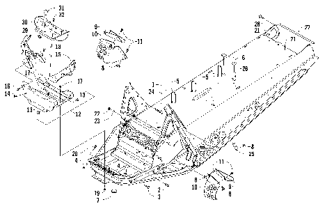
CHASSIS ASSEMBLY [91334]
CONSOLE ASSEMBLY [91337]
CRANKCASE AND CYLINDER [91205]
CYLINDER COWLING ASSEMBLY [89142]
DRIVE CLUTCH [91342]
DRIVE TRAIN SHAFT AND BRAKE ASSEMBLIES [91331]
DRIVEN CLUTCH [91343]
ELECTRICAL [91209]
ENGINE AND RELATED PARTS [93056]
EXHAUST ASSEMBLY [89128]
FRONT SEAT ASSEMBLY [89165]
FUEL LEVEL SENSOR ASSEMBLY [97043]
GAS TANK ASSEMBLY [91339]
GEARCASE ASSEMBLY [94608]
HANDLEBAR AND CONTROLS [97264]
HEADLIGHT AND WIRING ASSEMBLIES [91336]
HOOD, WINDSHIELD, AND FRONT BUMBER ASSEMBLY [91335]
HYDRAULIC BRAKE CONTROL ASSEMBLY [97037]
IDLER WHEEL ASSEMBLY [91333]
INTAKE ASSEMBLY [89139]
MAGNETO [91208]
OIL PUMP [91207]
OIL TANK ASSEMBLY [94603]
PISTON AND CRANKSHAFT [91206]
REAR BUMPER, HITCH, RACK RAIL, SNOWFLAP, AND TAILLIGHT ASSEMBLY [91341]
REAR SUSPENSION FRONT ARM ASSEMBLY [94621]
REAR SUSPENSION REAR ARM ASSEMBLY [94622]
RECOIL STARTER [89143]
REED VALVE ASSEMBLY [89140]
SEAT SUPPORT ASSEMBLY [93033]
SHOCK ABSORBER ASSEMBLY [91327]
SKI AND SPINDLE ASSEMBLY [90151]
SKID PLATE AND SIDE PANEL ASSEMBLY [91338]
SLIDE RAIL AND TRACK ASSEMBLY [91332]
STEERING POST ASSEMBLY [93023]
STEERING SUPPORT ASSEMBLY [91329]
TIE ROD ASSEMBLY [91119]
A-ARM ASSEMBLY [89253]
AIR SILENCER ASSEMBLY [88569]
BELT GUARD ASSEMBLY [91192]
CARBURETOR [91204]
CARBURETOR AND FUEL PUMP ASSEMBLY [91200]
CHASSIS ASSEMBLY [91334]
CONSOLE ASSEMBLY [91337]
CRANKCASE AND CYLINDER [91205]
CYLINDER COWLING ASSEMBLY [89142]
DRIVE CLUTCH [91342]
DRIVE TRAIN SHAFT AND BRAKE ASSEMBLIES [91331]
DRIVEN CLUTCH [91343]
ELECTRICAL [91209]
ENGINE AND RELATED PARTS [93056]
EXHAUST ASSEMBLY [89128]
FRONT SEAT ASSEMBLY [89165]
FUEL LEVEL SENSOR ASSEMBLY [97043]
GAS TANK ASSEMBLY [91339]
GEARCASE ASSEMBLY [94608]
HANDLEBAR AND CONTROLS [97264]
HEADLIGHT AND WIRING ASSEMBLIES [91336]
HOOD, WINDSHIELD, AND FRONT BUMBER ASSEMBLY [91335]
HYDRAULIC BRAKE CONTROL ASSEMBLY [97037]
IDLER WHEEL ASSEMBLY [91333]
INTAKE ASSEMBLY [89139]
MAGNETO [91208]
OIL PUMP [91207]
OIL TANK ASSEMBLY [94603]
PISTON AND CRANKSHAFT [91206]
REAR BUMPER, HITCH, RACK RAIL, SNOWFLAP, AND TAILLIGHT ASSEMBLY [91341]
REAR SUSPENSION FRONT ARM ASSEMBLY [94621]
REAR SUSPENSION REAR ARM ASSEMBLY [94622]
RECOIL STARTER [89143]
REED VALVE ASSEMBLY [89140]
SEAT SUPPORT ASSEMBLY [93033]
SHOCK ABSORBER ASSEMBLY [91327]
SKI AND SPINDLE ASSEMBLY [90151]
SKID PLATE AND SIDE PANEL ASSEMBLY [91338]
SLIDE RAIL AND TRACK ASSEMBLY [91332]
STEERING POST ASSEMBLY [93023]
STEERING SUPPORT ASSEMBLY [91329]
TIE ROD ASSEMBLY [91119]
VIEW WISH LIST