Greenville, TX
|
Give Us a Call
(903) 454-4440
Toggle navigation
Home
Brands
Manufacturer Models
OEM Promotions
Polaris
Can-Am
E-Z-Go
Honda
Kawasaki
Suzuki
Inventory
All Inventory In Stock
New Inventory In Stock
Used Inventory
Value Your Trade-In
Request a Model
Schedule a Test Ride
Secure Financing
Parts
Parts Department
Parts Finder
Service
Service Department
Request Polaris Service
Warranty & Recall Look-Up
Specials
Financing
About
Our Dealership
Our Team
Reviews
Customer Survey
Employment
Events Calendar
Locations
Location & Hours
Contact
Parts Finder
Home
›
Parts
›
Parts Finder
Search by :
Part / Desc
VIN
Please Select
Arctic Cat
Honda
Kawasaki
Polaris
Suzuki
*Please enter at least 3 characters
SEARCH
Manufacturer
Arctic Cat
Snowmobiles
2009
TZ1 TURBO LXR LE BLACK [S2009TZNTLUSB]
VIEW WISH LIST
Select a Section
Show/Hide
A-ARM AND SWAY BAR ASSEMBLY [90549]
AIR SILENCER ASSEMBLY [93713]
BATTERY AND TRAY ASSEMBLY [90252]
BELT GUARD ASSEMBLY [89747]
CAM CHAIN ASSEMBLY [101065]
CAMSHAFT/VALVE ASSEMBLY [93716]
CHASSIS ASSEMBLY [90514]
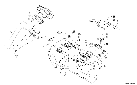
CONSOLE ASSEMBLY [90516]
COOLING ASSEMBLY [90502]
CRANK BALANCER ASSEMBLY [89768]
CRANKCASE ASSEMBLY [89764]
CYLINDER HEAD ASSEMBLY [89763]
DRIVE CLUTCH [90504]
DRIVE TRAIN SHAFT AND BRAKE ASSEMBLIES [90490]
DRIVEN CLUTCH [95804]
ELECTRICAL ASSEMBLY [89781]
ENGINE AND RELATED PARTS [90503]
EXHAUST ASSEMBLY [91846]
EXHAUST MANIFOLD ASSEMBLY [89773]
FRONT SEAT ASSEMBLY [89950]
FRONT SHOCK ABSORBER ASSEMBLY [90510]
FUEL PUMP ASSEMBLY [89749]
GAS TANK ASSEMBLY [90499]
GEARCASE ASSEMBLY [90491]
HANDLEBAR AND CONTROLS [90041]
HEADLIGHT AND WIRING ASSEMBLIES [90496]
HOOD, WINDSHIELD, AND FRONT BUMPER ASSEMBLY [90515]
HYDRAULIC BRAKE CONTROL ASSEMBLY [97037]
IDLER WHEEL ASSEMBLY [90513]
INTAKE MANIFOLD/FLANGE ASSEMBLY [89771]
INTERCOOLER ASSEMBLY [89754]
INTERCOOLER OUTLET ASSEMBLY [89774]
MAGNETO ASSEMBLY [91421]
MAGNETO COVER [91412]
OIL COOLER ASSEMBLY [89777]
OIL PAN ASSEMBLY [89775]
OIL PUMP ASSEMBLY [90508]
OIL SEPARATOR ASSEMBLY [89759]
OIL TANK ASSEMBLY [91457]
PASSENGER SEAT AND BACKREST ASSEMBLY [90500]
PISTON AND CRANKSHAFT ASSEMBLY [90506]
REAR BUMPER, RACK RAIL, SNOWFLAP, AND TAILLIGHT ASSEMBLY [90518]
REAR SUSPENSION FRONT ARM ASSEMBLY [94621]
REAR SUSPENSION REAR ARM ASSEMBLY [94622]
SEAT SUPPORT ASSEMBLY [99508]
SKI AND SPINDLE ASSEMBLY [89651]
SKID PLATE AND SIDE PANEL ASSEMBLY [90517]
SLIDE RAIL AND TRACK ASSEMBLY [90512]
STARTER CLUTCH ASSEMBLY [89767]
STARTER MOTOR ASSEMBLY [91420]
STEERING POST ASSEMBLY [90562]
STEERING SUPPORT ASSEMBLY [90511]
THROTTLE BODY ASSEMBLY [89780]
TIE ROD ASSEMBLY [90236]
TURBOCHARGER ASSEMBLY [89772]
WATER HOSE ASSEMBLY [89779]
WATER PUMP ASSEMBLY [89695]
A-ARM AND SWAY BAR ASSEMBLY [90549]
AIR SILENCER ASSEMBLY [93713]
BATTERY AND TRAY ASSEMBLY [90252]
BELT GUARD ASSEMBLY [89747]
CAM CHAIN ASSEMBLY [101065]
CAMSHAFT/VALVE ASSEMBLY [93716]
CHASSIS ASSEMBLY [90514]
CONSOLE ASSEMBLY [90516]
COOLING ASSEMBLY [90502]
CRANK BALANCER ASSEMBLY [89768]
CRANKCASE ASSEMBLY [89764]
CYLINDER HEAD ASSEMBLY [89763]
DRIVE CLUTCH [90504]
DRIVE TRAIN SHAFT AND BRAKE ASSEMBLIES [90490]
DRIVEN CLUTCH [95804]
ELECTRICAL ASSEMBLY [89781]
ENGINE AND RELATED PARTS [90503]
EXHAUST ASSEMBLY [91846]
EXHAUST MANIFOLD ASSEMBLY [89773]
FRONT SEAT ASSEMBLY [89950]
FRONT SHOCK ABSORBER ASSEMBLY [90510]
FUEL PUMP ASSEMBLY [89749]
GAS TANK ASSEMBLY [90499]
GEARCASE ASSEMBLY [90491]
HANDLEBAR AND CONTROLS [90041]
HEADLIGHT AND WIRING ASSEMBLIES [90496]
HOOD, WINDSHIELD, AND FRONT BUMPER ASSEMBLY [90515]
HYDRAULIC BRAKE CONTROL ASSEMBLY [97037]
IDLER WHEEL ASSEMBLY [90513]
INTAKE MANIFOLD/FLANGE ASSEMBLY [89771]
INTERCOOLER ASSEMBLY [89754]
INTERCOOLER OUTLET ASSEMBLY [89774]
MAGNETO ASSEMBLY [91421]
MAGNETO COVER [91412]
OIL COOLER ASSEMBLY [89777]
OIL PAN ASSEMBLY [89775]
OIL PUMP ASSEMBLY [90508]
OIL SEPARATOR ASSEMBLY [89759]
OIL TANK ASSEMBLY [91457]
PASSENGER SEAT AND BACKREST ASSEMBLY [90500]
PISTON AND CRANKSHAFT ASSEMBLY [90506]
REAR BUMPER, RACK RAIL, SNOWFLAP, AND TAILLIGHT ASSEMBLY [90518]
REAR SUSPENSION FRONT ARM ASSEMBLY [94621]
REAR SUSPENSION REAR ARM ASSEMBLY [94622]
SEAT SUPPORT ASSEMBLY [99508]
SKI AND SPINDLE ASSEMBLY [89651]
SKID PLATE AND SIDE PANEL ASSEMBLY [90517]
SLIDE RAIL AND TRACK ASSEMBLY [90512]
STARTER CLUTCH ASSEMBLY [89767]
STARTER MOTOR ASSEMBLY [91420]
STEERING POST ASSEMBLY [90562]
STEERING SUPPORT ASSEMBLY [90511]
THROTTLE BODY ASSEMBLY [89780]
TIE ROD ASSEMBLY [90236]
TURBOCHARGER ASSEMBLY [89772]
WATER HOSE ASSEMBLY [89779]
WATER PUMP ASSEMBLY [89695]
VIEW WISH LIST