Greenville, TX
|
Give Us a Call
(903) 454-4440
Toggle navigation
Home
Brands
Manufacturer Models
OEM Promotions
Polaris
Can-Am
E-Z-Go
Honda
Kawasaki
Suzuki
Inventory
All Inventory In Stock
New Inventory In Stock
Used Inventory
Value Your Trade-In
Request a Model
Schedule a Test Ride
Secure Financing
Parts
Parts Department
Parts Finder
Service
Service Department
Request Polaris Service
Warranty & Recall Look-Up
Specials
Financing
About
Our Dealership
Our Team
Reviews
Customer Survey
Employment
Events Calendar
Locations
Location & Hours
Contact
Parts Finder
Home
›
Parts
›
Parts Finder
Search by :
Part / Desc
VIN
Please Select
Arctic Cat
Honda
Kawasaki
Polaris
Suzuki
*Please enter at least 3 characters
SEARCH
Manufacturer
Arctic Cat
Snowmobiles
2009
TZ1 TOURING LXR BLACK INTERNATIONAL [S2009TZNLXOSB]
VIEW WISH LIST
Select a Section
Show/Hide
A-ARM AND SWAY BAR ASSEMBLY [90549]
AIR SILENCER ASSEMBLY [89678]
BATTERY AND TRAY ASSEMBLY [90252]
BELT GUARD ASSEMBLY [89667]
CAM CHAIN ASSEMBLY [101065]
CAMSHAFT/VALVE ASSEMBLY [90061]
CHASSIS ASSEMBLY [89704]
CONSOLE ASSEMBLY [89947]
COOLING ASSEMBLY [89674]
CRANK BALANCER ASSEMBLY [89768]
CRANKCASE ASSEMBLY [89684]
CYLINDER HEAD ASSEMBLY [90059]
DRIVE CLUTCH [90058]
DRIVE TRAIN SHAFT AND BRAKE ASSEMBLIES [90043]
DRIVEN CLUTCH [94681]
ENGINE AND RELATED PARTS [89709]
EXHAUST ASSEMBLY [89676]
EXHAUST MANIFOLD GASKET/INTAKE FLANGE ASSEMBLY [91415]
FRONT SEAT ASSEMBLY [89950]
FUEL PUMP ASSEMBLY [89669]
GAS TANK ASSEMBLY [90247]
GEARCASE ASSEMBLY [89659]
HANDLEBAR AND CONTROLS [89944]
HEADLIGHT AND WIRING ASSEMBLIES [89946]
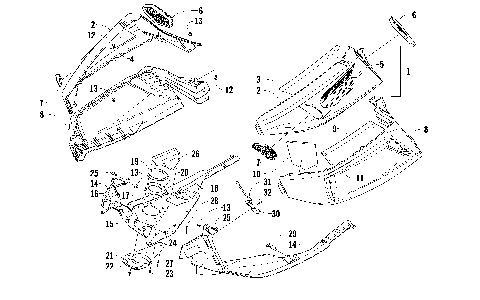
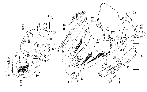
HOOD, WINDSHIELD, AND FRONT BUMPER ASSEMBLY [89945]
HYDRAULIC BRAKE CONTROL ASSEMBLY [97037]
IDLER WHEEL ASSEMBLY [89703]
MAGNETO ASSEMBLY [91421]
MAGNETO COVER [91412]
OIL COOLER ASSEMBLY [89694]
OIL PAN ASSEMBLY [89775]
OIL PUMP ASSEMBLY [90508]
OIL SEPARATOR ASSEMBLY [89679]
OIL TANK ASSEMBLY [91457]
PASSENGER SEAT AND BACKREST ASSEMBLY [89951]
PISTON AND CRANKSHAFT ASSEMBLY [90060]
REAR BUMPER, RACK RAIL, SNOWFLAP, AND TAILLIGHT ASSEMBLY [89712]
REAR SUSPENSION FRONT ARM ASSEMBLY [94621]
REAR SUSPENSION REAR ARM ASSEMBLY [94622]
SEAT SUPPORT ASSEMBLY [90074]
SHOCK ABSORBER ASSEMBLY [89701]
SKI AND SPINDLE ASSEMBLY [90561]
SKID PLATE AND SIDE PANEL ASSEMBLY [89948]
SLIDE RAIL AND TRACK ASSEMBLY [89711]
STARTER CLUTCH ASSEMBLY [89767]
STARTER MOTOR ASSEMBLY [91420]
STEERING POST ASSEMBLY [90562]
STEERING SUPPORT ASSEMBLY [89655]
THROTTLE BODY ASSEMBLY [89697]
TIE ROD ASSEMBLY [90236]
WATER HOSE ASSEMBLY [89696]
WATER PUMP ASSEMBLY [89695]
A-ARM AND SWAY BAR ASSEMBLY [90549]
AIR SILENCER ASSEMBLY [89678]
BATTERY AND TRAY ASSEMBLY [90252]
BELT GUARD ASSEMBLY [89667]
CAM CHAIN ASSEMBLY [101065]
CAMSHAFT/VALVE ASSEMBLY [90061]
CHASSIS ASSEMBLY [89704]
CONSOLE ASSEMBLY [89947]
COOLING ASSEMBLY [89674]
CRANK BALANCER ASSEMBLY [89768]
CRANKCASE ASSEMBLY [89684]
CYLINDER HEAD ASSEMBLY [90059]
DRIVE CLUTCH [90058]
DRIVE TRAIN SHAFT AND BRAKE ASSEMBLIES [90043]
DRIVEN CLUTCH [94681]
ENGINE AND RELATED PARTS [89709]
EXHAUST ASSEMBLY [89676]
EXHAUST MANIFOLD GASKET/INTAKE FLANGE ASSEMBLY [91415]
FRONT SEAT ASSEMBLY [89950]
FUEL PUMP ASSEMBLY [89669]
GAS TANK ASSEMBLY [90247]
GEARCASE ASSEMBLY [89659]
HANDLEBAR AND CONTROLS [89944]
HEADLIGHT AND WIRING ASSEMBLIES [89946]
HOOD, WINDSHIELD, AND FRONT BUMPER ASSEMBLY [89945]
HYDRAULIC BRAKE CONTROL ASSEMBLY [97037]
IDLER WHEEL ASSEMBLY [89703]
MAGNETO ASSEMBLY [91421]
MAGNETO COVER [91412]
OIL COOLER ASSEMBLY [89694]
OIL PAN ASSEMBLY [89775]
OIL PUMP ASSEMBLY [90508]
OIL SEPARATOR ASSEMBLY [89679]
OIL TANK ASSEMBLY [91457]
PASSENGER SEAT AND BACKREST ASSEMBLY [89951]
PISTON AND CRANKSHAFT ASSEMBLY [90060]
REAR BUMPER, RACK RAIL, SNOWFLAP, AND TAILLIGHT ASSEMBLY [89712]
REAR SUSPENSION FRONT ARM ASSEMBLY [94621]
REAR SUSPENSION REAR ARM ASSEMBLY [94622]
SEAT SUPPORT ASSEMBLY [90074]
SHOCK ABSORBER ASSEMBLY [89701]
SKI AND SPINDLE ASSEMBLY [90561]
SKID PLATE AND SIDE PANEL ASSEMBLY [89948]
SLIDE RAIL AND TRACK ASSEMBLY [89711]
STARTER CLUTCH ASSEMBLY [89767]
STARTER MOTOR ASSEMBLY [91420]
STEERING POST ASSEMBLY [90562]
STEERING SUPPORT ASSEMBLY [89655]
THROTTLE BODY ASSEMBLY [89697]
TIE ROD ASSEMBLY [90236]
WATER HOSE ASSEMBLY [89696]
WATER PUMP ASSEMBLY [89695]
VIEW WISH LIST