Greenville, TX
|
Give Us a Call
(903) 454-4440
Toggle navigation
Home
Brands
Manufacturer Models
OEM Promotions
Polaris
Can-Am
E-Z-Go
Honda
Kawasaki
Suzuki
Inventory
All Inventory In Stock
New Inventory In Stock
Used Inventory
Value Your Trade-In
Request a Model
Schedule a Test Ride
Secure Financing
Parts
Parts Department
Parts Finder
Service
Service Department
Request Polaris Service
Warranty & Recall Look-Up
Specials
Financing
About
Our Dealership
Our Team
Reviews
Customer Survey
Employment
Events Calendar
Locations
Location & Hours
Contact
Parts Finder
Home
›
Parts
›
Parts Finder
Search by :
Part / Desc
VIN
Please Select
Arctic Cat
Honda
Kawasaki
Polaris
Suzuki
*Please enter at least 3 characters
SEARCH
Manufacturer
Arctic Cat
Snowmobiles
2009
T570 TOURING GREEN [S2009T5DFCUSG]
VIEW WISH LIST
Select a Section
Show/Hide
A-ARM AND SWAY BAR ASSEMBLY [90549]
AIR SILENCER ASSEMBLY [88569]
BATTERY AND TRAY ASSEMBLY [89169]
BELT GUARD ASSEMBLY [89121]
CARBURETOR [90231]
CARBURETOR AND FUEL PUMP ASSEMBLY [88568]
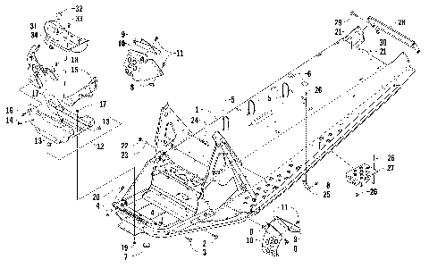
CHASSIS ASSEMBLY [89158]
CONSOLE ASSEMBLY [89164]
CRANKCASE AND CYLINDER [87653]
CYLINDER COWLING ASSEMBLY [89142]
DRIVE CLUTCH [89134]
DRIVE TRAIN SHAFT AND BRAKE ASSEMBLIES [89155]
DRIVEN CLUTCH [89269]
ELECTRIC START - STARTER MOTOR ASSEMBLY [89129]
ELECTRICAL [87655]
ENGINE AND RELATED PARTS [89127]
EXHAUST ASSEMBLY [89128]
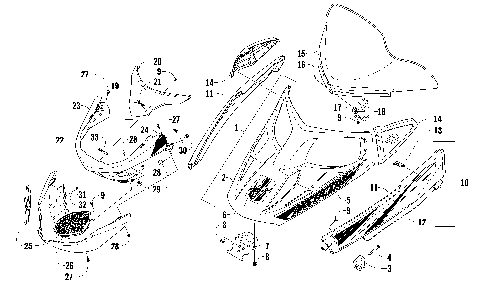
FRONT SEAT ASSEMBLY [89165]
FRONT SHOCK ABSORBER ASSEMBLY [93044]
FUEL PUMP ASSEMBLY [88562]
GAS TANK ASSEMBLY [90053]
GEARCASE ASSEMBLY [89156]
HANDLEBAR AND CONTROLS [88553]
HEADLIGHT AND WIRING ASSEMBLIES [89163]
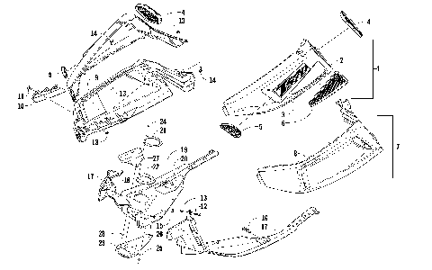
HOOD, WINDSHIELD, AND FRONT BUMBER ASSEMBLY [89161]
HYDRAULIC BRAKE CONTROL ASSEMBLY [97037]
IDLER WHEEL ASSEMBLY [89222]
INTAKE ASSEMBLY [89139]
MAGNETO [89144]
OIL PUMP [89141]
OIL TANK ASSEMBLY [94603]
PASSENGER SEAT AND BACKREST ASSEMBLY [89166]
PISTON AND CRANKSHAFT [89138]
REAR BUMPER, RACK RAIL, SNOWFLAP, AND TAILLIGHT ASSEMBLY [89167]
REAR SUSPENSION FRONT ARM ASSEMBLY [94621]
REAR SUSPENSION REAR ARM ASSEMBLY [94622]
RECOIL STARTER [89143]
REED VALVE ASSEMBLY [89140]
REVERSE SHIFT LEVER ASSEMBLY [88531]
SEAT SUPPORT ASSEMBLY [89124]
SKI AND SPINDLE ASSEMBLY [90548]
SKID PLATE AND SIDE PANEL ASSEMBLY [89162]
SLIDE RAIL AND TRACK ASSEMBLY [89157]
STEERING POST ASSEMBLY [89152]
STEERING SUPPORT ASSEMBLY [89106]
TIE ROD ASSEMBLY [90236]
A-ARM AND SWAY BAR ASSEMBLY [90549]
AIR SILENCER ASSEMBLY [88569]
BATTERY AND TRAY ASSEMBLY [89169]
BELT GUARD ASSEMBLY [89121]
CARBURETOR [90231]
CARBURETOR AND FUEL PUMP ASSEMBLY [88568]
CHASSIS ASSEMBLY [89158]
CONSOLE ASSEMBLY [89164]
CRANKCASE AND CYLINDER [87653]
CYLINDER COWLING ASSEMBLY [89142]
DRIVE CLUTCH [89134]
DRIVE TRAIN SHAFT AND BRAKE ASSEMBLIES [89155]
DRIVEN CLUTCH [89269]
ELECTRIC START - STARTER MOTOR ASSEMBLY [89129]
ELECTRICAL [87655]
ENGINE AND RELATED PARTS [89127]
EXHAUST ASSEMBLY [89128]
FRONT SEAT ASSEMBLY [89165]
FRONT SHOCK ABSORBER ASSEMBLY [93044]
FUEL PUMP ASSEMBLY [88562]
GAS TANK ASSEMBLY [90053]
GEARCASE ASSEMBLY [89156]
HANDLEBAR AND CONTROLS [88553]
HEADLIGHT AND WIRING ASSEMBLIES [89163]
HOOD, WINDSHIELD, AND FRONT BUMBER ASSEMBLY [89161]
HYDRAULIC BRAKE CONTROL ASSEMBLY [97037]
IDLER WHEEL ASSEMBLY [89222]
INTAKE ASSEMBLY [89139]
MAGNETO [89144]
OIL PUMP [89141]
OIL TANK ASSEMBLY [94603]
PASSENGER SEAT AND BACKREST ASSEMBLY [89166]
PISTON AND CRANKSHAFT [89138]
REAR BUMPER, RACK RAIL, SNOWFLAP, AND TAILLIGHT ASSEMBLY [89167]
REAR SUSPENSION FRONT ARM ASSEMBLY [94621]
REAR SUSPENSION REAR ARM ASSEMBLY [94622]
RECOIL STARTER [89143]
REED VALVE ASSEMBLY [89140]
REVERSE SHIFT LEVER ASSEMBLY [88531]
SEAT SUPPORT ASSEMBLY [89124]
SKI AND SPINDLE ASSEMBLY [90548]
SKID PLATE AND SIDE PANEL ASSEMBLY [89162]
SLIDE RAIL AND TRACK ASSEMBLY [89157]
STEERING POST ASSEMBLY [89152]
STEERING SUPPORT ASSEMBLY [89106]
TIE ROD ASSEMBLY [90236]
VIEW WISH LIST