Greenville, TX
|
Give Us a Call
(903) 454-4440
Toggle navigation
Home
Brands
Manufacturer Models
OEM Promotions
Polaris
Can-Am
E-Z-Go
Honda
Kawasaki
Suzuki
Inventory
All Inventory In Stock
New Inventory In Stock
Used Inventory
Value Your Trade-In
Request a Model
Schedule a Test Ride
Secure Financing
Parts
Parts Department
Parts Finder
Service
Service Department
Request Polaris Service
Warranty & Recall Look-Up
Specials
Financing
About
Our Dealership
Our Team
Reviews
Customer Survey
Employment
Events Calendar
Locations
Location & Hours
Contact
Parts Finder
Home
›
Parts
›
Parts Finder
Search by :
Part / Desc
VIN
Please Select
Arctic Cat
Honda
Kawasaki
Polaris
Suzuki
*Please enter at least 3 characters
SEARCH
Manufacturer
Arctic Cat
Snowmobiles
2009
M8 153 HCR GREEN [S2009M8HHCUSG]
VIEW WISH LIST
Select a Section
Show/Hide
A-ARM ASSEMBLY [90647]
AIR INTAKE ASSEMBLY [89642]
AIR SILENCER ASSEMBLY [90667]
BELLY PAN ASSEMBLY [90664]
BELT GUARD ASSEMBLY [89330]
CONSOLE AND SWITCH ASSEMBLY [89328]
COOLING ASSEMBLY [90004]
CRANKCASE ASSEMBLY [89822]
CYLINDER AND HEAD ASSEMBLY [89971]
DRIVE CLUTCH [90668]
DRIVE TRAIN SHAFT AND BRAKE ASSEMBLIES [90654]
DRIVEN CLUTCH [90669]
ELECTRICAL [89972]
ENGINE AND RELATED PARTS [90092]
EXHAUST ASSEMBLY [89967]
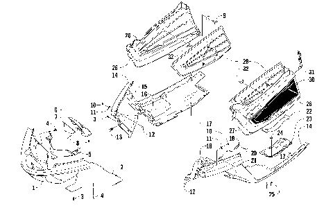
FRONT FRAME AND FOOTREST ASSEMBLY [90661]
FRONT SUSPENSION SHOCK ABSORBER [90649]
FRONT SUSPENSION SHOCK ABSORBER ASSEMBLY [90648]
FUEL PUMP ASSEMBLY [90001]
GAS TANK ASSEMBLY [90000]
GEARCASE ASSEMBLY [93612]
HANDLEBAR AND CONTROLS [90652]
HEADLIGHT, INSTRUMENTS, AND WIRING ASSEMBLIES [90663]
HOOD AND WINDSHIELD ASSEMBLY [90662]
HYDRAULIC BRAKE CONTROL ASSEMBLY [90653]
IDLER WHEEL ASSEMBLY [90657]
MAGNETO [89829]
OIL PUMP [89826]
OIL TANK ASSEMBLY [90006]
PISTON AND CRANKSHAFT [89823]
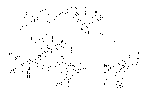
REAR SUSPENSION FRONT ARM ASSEMBLY [90658]
REAR SUSPENSION FRONT ARM SHOCK ABSORBER [90659]
REAR SUSPENSION REAR ARM ASSEMBLY [90660]
REAR SUSPENSION REAR ARM SHOCK ABSORBER [90164]
RECOIL STARTER [89828]
REED VALVE ASSEMBLY [89824]
SEAT ASSEMBLY [90665]
SERVOMOTOR ASSEMBLY [91541]
SKI AND SPINDLE ASSEMBLY [90646]
SLIDE RAIL AND TRACK ASSEMBLY [90656]
STEERING POST ASSEMBLY [90650]
THROTTLE BODY ASSEMBLY [89825]
TIE ROD ASSEMBLY [90651]
TUNNEL, REAR BUMPER, AND TAILLIGHT ASSEMBLY [90666]
WATER PUMP/WATER MANIFOLD [89827]
A-ARM ASSEMBLY [90647]
AIR INTAKE ASSEMBLY [89642]
AIR SILENCER ASSEMBLY [90667]
BELLY PAN ASSEMBLY [90664]
BELT GUARD ASSEMBLY [89330]
CONSOLE AND SWITCH ASSEMBLY [89328]
COOLING ASSEMBLY [90004]
CRANKCASE ASSEMBLY [89822]
CYLINDER AND HEAD ASSEMBLY [89971]
DRIVE CLUTCH [90668]
DRIVE TRAIN SHAFT AND BRAKE ASSEMBLIES [90654]
DRIVEN CLUTCH [90669]
ELECTRICAL [89972]
ENGINE AND RELATED PARTS [90092]
EXHAUST ASSEMBLY [89967]
FRONT FRAME AND FOOTREST ASSEMBLY [90661]
FRONT SUSPENSION SHOCK ABSORBER [90649]
FRONT SUSPENSION SHOCK ABSORBER ASSEMBLY [90648]
FUEL PUMP ASSEMBLY [90001]
GAS TANK ASSEMBLY [90000]
GEARCASE ASSEMBLY [93612]
HANDLEBAR AND CONTROLS [90652]
HEADLIGHT, INSTRUMENTS, AND WIRING ASSEMBLIES [90663]
HOOD AND WINDSHIELD ASSEMBLY [90662]
HYDRAULIC BRAKE CONTROL ASSEMBLY [90653]
IDLER WHEEL ASSEMBLY [90657]
MAGNETO [89829]
OIL PUMP [89826]
OIL TANK ASSEMBLY [90006]
PISTON AND CRANKSHAFT [89823]
REAR SUSPENSION FRONT ARM ASSEMBLY [90658]
REAR SUSPENSION FRONT ARM SHOCK ABSORBER [90659]
REAR SUSPENSION REAR ARM ASSEMBLY [90660]
REAR SUSPENSION REAR ARM SHOCK ABSORBER [90164]
RECOIL STARTER [89828]
REED VALVE ASSEMBLY [89824]
SEAT ASSEMBLY [90665]
SERVOMOTOR ASSEMBLY [91541]
SKI AND SPINDLE ASSEMBLY [90646]
SLIDE RAIL AND TRACK ASSEMBLY [90656]
STEERING POST ASSEMBLY [90650]
THROTTLE BODY ASSEMBLY [89825]
TIE ROD ASSEMBLY [90651]
TUNNEL, REAR BUMPER, AND TAILLIGHT ASSEMBLY [90666]
WATER PUMP/WATER MANIFOLD [89827]
VIEW WISH LIST