Greenville, TX
|
Give Us a Call
(903) 454-4440
Toggle navigation
Home
Brands
Manufacturer Models
OEM Promotions
Polaris
Can-Am
E-Z-Go
Honda
Kawasaki
Suzuki
Inventory
All Inventory In Stock
New Inventory In Stock
Used Inventory
Value Your Trade-In
Request a Model
Schedule a Test Ride
Secure Financing
Parts
Parts Department
Parts Finder
Service
Service Department
Request Polaris Service
Warranty & Recall Look-Up
Specials
Financing
About
Our Dealership
Our Team
Reviews
Customer Survey
Employment
Events Calendar
Locations
Location & Hours
Contact
Parts Finder
Home
›
Parts
›
Parts Finder
Search by :
Part / Desc
VIN
Please Select
Arctic Cat
Honda
Kawasaki
Polaris
Suzuki
*Please enter at least 3 characters
SEARCH
Manufacturer
Arctic Cat
Snowmobiles
2009
F8 EFI GREEN [S2009F8HEFUSG]
VIEW WISH LIST
Select a Section
Show/Hide
A-ARM AND SWAY BAR ASSEMBLY [90525]
AIR SILENCER ASSEMBLY [89502]
BELT GUARD ASSEMBLY [89808]
CHASSIS ASSEMBLY [89862]
CONSOLE ASSEMBLY [89568]
COOLING ASSEMBLY [89814]
CRANKCASE ASSEMBLY [89822]
CYLINDER AND HEAD ASSEMBLY [89821]
DRIVE CLUTCH [89819]
DRIVE TRAIN SHAFT AND BRAKE ASSEMBLIES [89856]
DRIVEN CLUTCH [90277]
ELECTRICAL [89830]
ENGINE AND RELATED PARTS [89815]
EXHAUST ASSEMBLY [89816]
FRONT SUSPENSION SHOCK ABSORBER [89854]
FUEL PUMP ASSEMBLY [90270]
GAS TANK ASSEMBLY [89229]
GEARCASE ASSEMBLY [89796]
HANDLEBAR AND CONTROLS [89855]
HEADLIGHT AND WIRING ASSEMBLIES [89805]
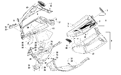
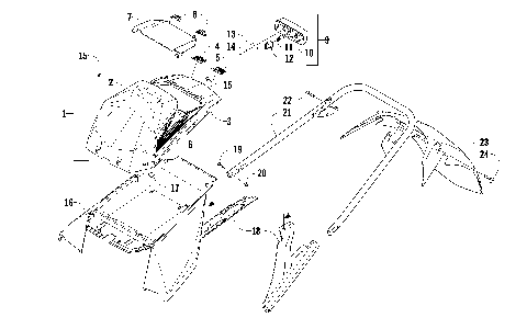
HOOD, WINDSHIELD, AND FRONT BUMPER ASSEMBLY [89566]
HYDRAULIC BRAKE CONTROL ASSEMBLY [97037]
IDLER WHEEL ASSEMBLY [90264]
MAGNETO [89829]
OIL PUMP [89826]
OIL TANK ASSEMBLY [89503]
PISTON AND CRANKSHAFT [89823]
REAR BUMPER, STORAGE BOX, AND TAILLIGHT ASSEMBLY [89573]
REAR SUSPENSION FRONT ARM ASSEMBLY [89858]
REAR SUSPENSION FRONT ARM SHOCK ABSORBER [90068]
REAR SUSPENSION REAR ARM ASSEMBLY [89860]
REAR SUSPENSION REAR ARM SHOCK ABSORBER [89861]
RECOIL STARTER [89828]
REED VALVE ASSEMBLY [89824]
SEAT ASSEMBLY [89572]
SEAT SUPPORT ASSEMBLY [89231]
SERVOMOTOR ASSEMBLY [91541]
SHOCK ABSORBER ASSEMBLY [89853]
SKI AND SPINDLE ASSEMBLY [89851]
SKID PLATE AND SIDE PANEL ASSEMBLY [89864]
SLIDE RAIL AND TRACK ASSEMBLY [89857]
STEERING POST ASSEMBLY [89555]
STEERING SUPPORT ASSEMBLY [89792]
THROTTLE BODY ASSEMBLY [89825]
TIE ROD ASSEMBLY [90236]
WATER PUMP/WATER MANIFOLD [89827]
A-ARM AND SWAY BAR ASSEMBLY [90525]
AIR SILENCER ASSEMBLY [89502]
BELT GUARD ASSEMBLY [89808]
CHASSIS ASSEMBLY [89862]
CONSOLE ASSEMBLY [89568]
COOLING ASSEMBLY [89814]
CRANKCASE ASSEMBLY [89822]
CYLINDER AND HEAD ASSEMBLY [89821]
DRIVE CLUTCH [89819]
DRIVE TRAIN SHAFT AND BRAKE ASSEMBLIES [89856]
DRIVEN CLUTCH [90277]
ELECTRICAL [89830]
ENGINE AND RELATED PARTS [89815]
EXHAUST ASSEMBLY [89816]
FRONT SUSPENSION SHOCK ABSORBER [89854]
FUEL PUMP ASSEMBLY [90270]
GAS TANK ASSEMBLY [89229]
GEARCASE ASSEMBLY [89796]
HANDLEBAR AND CONTROLS [89855]
HEADLIGHT AND WIRING ASSEMBLIES [89805]
HOOD, WINDSHIELD, AND FRONT BUMPER ASSEMBLY [89566]
HYDRAULIC BRAKE CONTROL ASSEMBLY [97037]
IDLER WHEEL ASSEMBLY [90264]
MAGNETO [89829]
OIL PUMP [89826]
OIL TANK ASSEMBLY [89503]
PISTON AND CRANKSHAFT [89823]
REAR BUMPER, STORAGE BOX, AND TAILLIGHT ASSEMBLY [89573]
REAR SUSPENSION FRONT ARM ASSEMBLY [89858]
REAR SUSPENSION FRONT ARM SHOCK ABSORBER [90068]
REAR SUSPENSION REAR ARM ASSEMBLY [89860]
REAR SUSPENSION REAR ARM SHOCK ABSORBER [89861]
RECOIL STARTER [89828]
REED VALVE ASSEMBLY [89824]
SEAT ASSEMBLY [89572]
SEAT SUPPORT ASSEMBLY [89231]
SERVOMOTOR ASSEMBLY [91541]
SHOCK ABSORBER ASSEMBLY [89853]
SKI AND SPINDLE ASSEMBLY [89851]
SKID PLATE AND SIDE PANEL ASSEMBLY [89864]
SLIDE RAIL AND TRACK ASSEMBLY [89857]
STEERING POST ASSEMBLY [89555]
STEERING SUPPORT ASSEMBLY [89792]
THROTTLE BODY ASSEMBLY [89825]
TIE ROD ASSEMBLY [90236]
WATER PUMP/WATER MANIFOLD [89827]
VIEW WISH LIST