Greenville, TX
|
Give Us a Call
(903) 454-4440
Toggle navigation
Home
Brands
Manufacturer Models
OEM Promotions
Polaris
Can-Am
E-Z-Go
Honda
Kawasaki
Suzuki
Inventory
All Inventory In Stock
New Inventory In Stock
Used Inventory
Value Your Trade-In
Request a Model
Schedule a Test Ride
Secure Financing
Parts
Parts Department
Parts Finder
Service
Service Department
Request Polaris Service
Warranty & Recall Look-Up
Specials
Financing
About
Our Dealership
Our Team
Reviews
Customer Survey
Employment
Events Calendar
Locations
Location & Hours
Contact
Parts Finder
Home
›
Parts
›
Parts Finder
Search by :
Part / Desc
VIN
Please Select
Arctic Cat
Honda
Kawasaki
Polaris
Suzuki
*Please enter at least 3 characters
SEARCH
Manufacturer
Arctic Cat
Snowmobiles
2009
CFR8 LE BLACK [S2009CFHEXUSB]
VIEW WISH LIST
Select a Section
Show/Hide
A-ARM ASSEMBLY [89310]
AIR INTAKE ASSEMBLY [89642]
AIR SILENCER ASSEMBLY [90667]
BELLY PAN ASSEMBLY [90103]
BELT GUARD ASSEMBLY [89330]
CONSOLE AND SWITCH ASSEMBLY [89328]
COOLING ASSEMBLY [90091]
CRANKCASE ASSEMBLY [89822]
CYLINDER AND HEAD ASSEMBLY [89971]
DRIVE CLUTCH [90093]
DRIVE TRAIN SHAFT AND BRAKE ASSEMBLIES [90083]
DRIVEN CLUTCH [90094]
ELECTRICAL [89972]
ENGINE AND RELATED PARTS [90092]
EXHAUST ASSEMBLY [89967]
FRONT FRAME AND FOOTREST ASSEMBLY [90085]
FRONT SUSPENSION SHOCK ABSORBER [89312]
FUEL PUMP ASSEMBLY [90001]
GAS TANK ASSEMBLY [90089]
GEARCASE ASSEMBLY [90084]
HANDLEBAR AND CONTROLS [90081]
HEADLIGHT, INSTRUMENTS, AND WIRING ASSEMBLIES [90087]
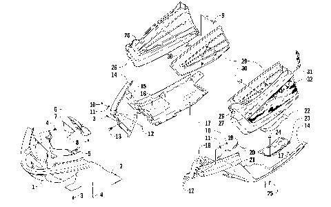
HOOD AND WINDSHIELD ASSEMBLY [90102]
HYDRAULIC BRAKE CONTROL ASSEMBLY [90653]
IDLER WHEEL ASSEMBLY [89361]
MAGNETO [89829]
OIL PUMP [89826]
OIL TANK ASSEMBLY [90006]
PISTON AND CRANKSHAFT [89823]
REAR SUSPENSION FRONT ARM ASSEMBLY [89321]
REAR SUSPENSION FRONT ARM SHOCK ABSORBER [89322]
REAR SUSPENSION REAR ARM ASSEMBLY [89323]
REAR SUSPENSION REAR ARM SHOCK ABSORBER [89324]
RECOIL STARTER [89828]
REED VALVE ASSEMBLY [89824]
SEAT ASSEMBLY [89364]
SERVOMOTOR ASSEMBLY [91541]
SHOCK ABSORBER AND SWAY BAR ASSEMBLY [91549]
SKI AND SPINDLE ASSEMBLY [90079]
SLIDE RAIL AND TRACK ASSEMBLY [89319]
STEERING POST ASSEMBLY [89313]
THROTTLE BODY ASSEMBLY [89825]
TIE ROD ASSEMBLY [90651]
TUNNEL, REAR BUMPER, AND TAILLIGHT ASSEMBLY [89334]
WATER PUMP/WATER MANIFOLD [89827]
A-ARM ASSEMBLY [89310]
AIR INTAKE ASSEMBLY [89642]
AIR SILENCER ASSEMBLY [90667]
BELLY PAN ASSEMBLY [90103]
BELT GUARD ASSEMBLY [89330]
CONSOLE AND SWITCH ASSEMBLY [89328]
COOLING ASSEMBLY [90091]
CRANKCASE ASSEMBLY [89822]
CYLINDER AND HEAD ASSEMBLY [89971]
DRIVE CLUTCH [90093]
DRIVE TRAIN SHAFT AND BRAKE ASSEMBLIES [90083]
DRIVEN CLUTCH [90094]
ELECTRICAL [89972]
ENGINE AND RELATED PARTS [90092]
EXHAUST ASSEMBLY [89967]
FRONT FRAME AND FOOTREST ASSEMBLY [90085]
FRONT SUSPENSION SHOCK ABSORBER [89312]
FUEL PUMP ASSEMBLY [90001]
GAS TANK ASSEMBLY [90089]
GEARCASE ASSEMBLY [90084]
HANDLEBAR AND CONTROLS [90081]
HEADLIGHT, INSTRUMENTS, AND WIRING ASSEMBLIES [90087]
HOOD AND WINDSHIELD ASSEMBLY [90102]
HYDRAULIC BRAKE CONTROL ASSEMBLY [90653]
IDLER WHEEL ASSEMBLY [89361]
MAGNETO [89829]
OIL PUMP [89826]
OIL TANK ASSEMBLY [90006]
PISTON AND CRANKSHAFT [89823]
REAR SUSPENSION FRONT ARM ASSEMBLY [89321]
REAR SUSPENSION FRONT ARM SHOCK ABSORBER [89322]
REAR SUSPENSION REAR ARM ASSEMBLY [89323]
REAR SUSPENSION REAR ARM SHOCK ABSORBER [89324]
RECOIL STARTER [89828]
REED VALVE ASSEMBLY [89824]
SEAT ASSEMBLY [89364]
SERVOMOTOR ASSEMBLY [91541]
SHOCK ABSORBER AND SWAY BAR ASSEMBLY [91549]
SKI AND SPINDLE ASSEMBLY [90079]
SLIDE RAIL AND TRACK ASSEMBLY [89319]
STEERING POST ASSEMBLY [89313]
THROTTLE BODY ASSEMBLY [89825]
TIE ROD ASSEMBLY [90651]
TUNNEL, REAR BUMPER, AND TAILLIGHT ASSEMBLY [89334]
WATER PUMP/WATER MANIFOLD [89827]
VIEW WISH LIST