Greenville, TX
|
Give Us a Call
(903) 454-4440
Toggle navigation
Home
Brands
Manufacturer Models
OEM Promotions
Polaris
Can-Am
E-Z-Go
Honda
Kawasaki
Suzuki
Inventory
All Inventory In Stock
New Inventory In Stock
Used Inventory
Value Your Trade-In
Request a Model
Schedule a Test Ride
Secure Financing
Parts
Parts Department
Parts Finder
Service
Service Department
Request Polaris Service
Warranty & Recall Look-Up
Specials
Financing
About
Our Dealership
Our Team
Reviews
Customer Survey
Employment
Events Calendar
Locations
Location & Hours
Contact
Parts Finder
Home
›
Parts
›
Parts Finder
Search by :
Part / Desc
VIN
Please Select
Arctic Cat
Honda
Kawasaki
Polaris
Suzuki
*Please enter at least 3 characters
SEARCH
Manufacturer
Arctic Cat
Snowmobiles
2009
BEARCAT 570 XT BLUE [S2009BCDWTUSL]
VIEW WISH LIST
Select a Section
Show/Hide
A-ARM ASSEMBLY [90204]
AIR SILENCER ASSEMBLY [90227]
ARTICULATING SKID FRAME ASSEMBLY [90120]
BATTERY AND TRAY ASSEMBLY [90226]
BELT GUARD ASSEMBLY [90219]
CARBURETOR [90231]
CARBURETOR AND FUEL PUMP ASSEMBLY [88568]
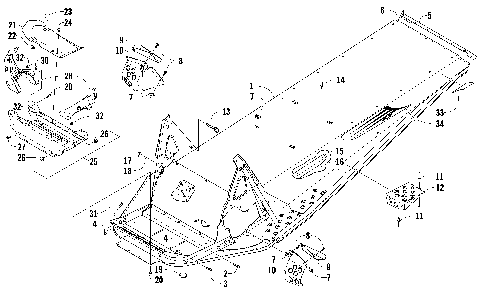
CHASSIS ASSEMBLY [90214]
CONSOLE ASSEMBLY [90217]
CRANKCASE AND CYLINDER [87653]
CYLINDER COWLING ASSEMBLY [89142]
DRIVE CLUTCH [90229]
DRIVE TRAIN SHAFT AND BRAKE ASSEMBLIES [90210]
DRIVEN CLUTCH [90230]
ELECTRIC START - STARTER MOTOR ASSEMBLY [90225]
ELECTRICAL [87655]
ENGINE AND RELATED PARTS [90223]
EXHAUST ASSEMBLY [90224]
FRONT SEAT ASSEMBLY [90130]
GAS TANK ASSEMBLY [90220]
GEARCASE ASSEMBLY [90211]
HANDLEBAR AND CONTROLS [90208]
HEADLIGHT AND WIRING ASSEMBLIES [90216]
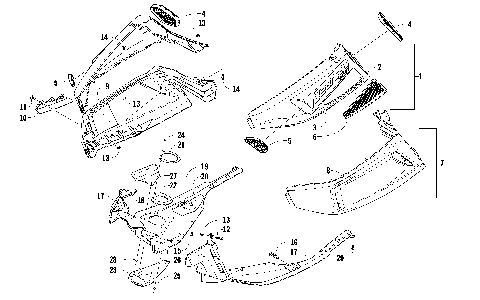
HOOD, WINDSHIELD, AND FRONT BUMBER ASSEMBLY [90215]
HYDRAULIC BRAKE CONTROL ASSEMBLY [97275]
IDLER WHEEL ASSEMBLY [90213]
INTAKE ASSEMBLY [89139]
MAGNETO [89144]
OIL PUMP [89141]
OIL TANK ASSEMBLY [90228]
PASSENGER SEAT AND BACKREST ASSEMBLY [90131]
PISTON AND CRANKSHAFT [89138]
REAR BUMPER, RACK RAIL, SNOWFLAP, AND TAILLIGHT ASSEMBLY [90222]
REAR SUSPENSION FRONT ARM ASSEMBLY [90118]
REAR SUSPENSION REAR ARM ASSEMBLY [90119]
RECOIL STARTER [89143]
REED VALVE ASSEMBLY [89140]
REVERSE SHIFT LEVER ASSEMBLY [88531]
SEAT SUPPORT ASSEMBLY [94883]
SHOCK ABSORBER ASSEMBLY [90205]
SKI AND SPINDLE ASSEMBLY [90151]
SKID PLATE AND SIDE PANEL ASSEMBLY [90218]
SLIDE RAIL AND TRACK ASSEMBLY [90212]
STEERING POST ASSEMBLY [90206]
STEERING SUPPORT ASSEMBLY [90207]
TIE ROD ASSEMBLY [90110]
A-ARM ASSEMBLY [90204]
AIR SILENCER ASSEMBLY [90227]
ARTICULATING SKID FRAME ASSEMBLY [90120]
BATTERY AND TRAY ASSEMBLY [90226]
BELT GUARD ASSEMBLY [90219]
CARBURETOR [90231]
CARBURETOR AND FUEL PUMP ASSEMBLY [88568]
CHASSIS ASSEMBLY [90214]
CONSOLE ASSEMBLY [90217]
CRANKCASE AND CYLINDER [87653]
CYLINDER COWLING ASSEMBLY [89142]
DRIVE CLUTCH [90229]
DRIVE TRAIN SHAFT AND BRAKE ASSEMBLIES [90210]
DRIVEN CLUTCH [90230]
ELECTRIC START - STARTER MOTOR ASSEMBLY [90225]
ELECTRICAL [87655]
ENGINE AND RELATED PARTS [90223]
EXHAUST ASSEMBLY [90224]
FRONT SEAT ASSEMBLY [90130]
GAS TANK ASSEMBLY [90220]
GEARCASE ASSEMBLY [90211]
HANDLEBAR AND CONTROLS [90208]
HEADLIGHT AND WIRING ASSEMBLIES [90216]
HOOD, WINDSHIELD, AND FRONT BUMBER ASSEMBLY [90215]
HYDRAULIC BRAKE CONTROL ASSEMBLY [97275]
IDLER WHEEL ASSEMBLY [90213]
INTAKE ASSEMBLY [89139]
MAGNETO [89144]
OIL PUMP [89141]
OIL TANK ASSEMBLY [90228]
PASSENGER SEAT AND BACKREST ASSEMBLY [90131]
PISTON AND CRANKSHAFT [89138]
REAR BUMPER, RACK RAIL, SNOWFLAP, AND TAILLIGHT ASSEMBLY [90222]
REAR SUSPENSION FRONT ARM ASSEMBLY [90118]
REAR SUSPENSION REAR ARM ASSEMBLY [90119]
RECOIL STARTER [89143]
REED VALVE ASSEMBLY [89140]
REVERSE SHIFT LEVER ASSEMBLY [88531]
SEAT SUPPORT ASSEMBLY [94883]
SHOCK ABSORBER ASSEMBLY [90205]
SKI AND SPINDLE ASSEMBLY [90151]
SKID PLATE AND SIDE PANEL ASSEMBLY [90218]
SLIDE RAIL AND TRACK ASSEMBLY [90212]
STEERING POST ASSEMBLY [90206]
STEERING SUPPORT ASSEMBLY [90207]
TIE ROD ASSEMBLY [90110]
VIEW WISH LIST