Greenville, TX
|
Give Us a Call
(903) 454-4440
Toggle navigation
Home
Brands
Manufacturer Models
OEM Promotions
Polaris
Can-Am
E-Z-Go
Honda
Kawasaki
Suzuki
Inventory
All Inventory In Stock
New Inventory In Stock
Used Inventory
Value Your Trade-In
Request a Model
Schedule a Test Ride
Secure Financing
Parts
Parts Department
Parts Finder
Service
Service Department
Request Polaris Service
Warranty & Recall Look-Up
Specials
Financing
About
Our Dealership
Our Team
Reviews
Customer Survey
Employment
Events Calendar
Locations
Location & Hours
Contact
Parts Finder
Home
›
Parts
›
Parts Finder
Search by :
Part / Desc
VIN
Please Select
Arctic Cat
Honda
Kawasaki
Polaris
Suzuki
*Please enter at least 3 characters
SEARCH
Manufacturer
Arctic Cat
Snowmobiles
2009
600 SNO PRO GREEN [S2009ACDPRUSG]
VIEW WISH LIST
Select a Section
Show/Hide
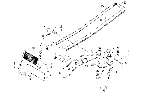
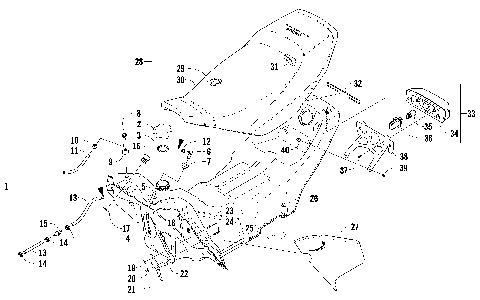
A-ARM ASSEMBLY [98327]
AIR SILENCER, CARBURETOR, AND FUEL PUMP ASSEMBLY [90446]
BELLY PAN ASSEMBLY [90439]
BELT GUARD ASSEMBLY [90440]
CARBURETOR - EXTERNAL PARTS [90450]
CARBURETOR - INTERNAL PARTS [90449]
CHASSIS, REAR BUMPER, AND SNOWFLAP ASSEMBLY [90442]
CONSOLE AND SWITCH ASSEMBLY [90438]
COOLING ASSEMBLY [90443]
CRANKCASE ASSEMBLY [90454]
CYLINDER AND HEAD ASSEMBLY [90453]
DRIVE CLUTCH [90447]
DRIVE TRAIN SHAFT AND BRAKE ASSEMBLIES [92168]
DRIVE/DROPCASE ASSEMBLY [90427]
DRIVEN CLUTCH [92190]
ELECTRICAL [90460]
ENGINE AND RELATED PARTS [90444]
EXHAUST ASSEMBLY [90445]
FRONT FRAME AND STEERING SUPPORT ASSEMBLY [90434]
FRONT SUSPENSION SHOCK ABSORBER [90421]
GAS TANK, SEAT, AND TAILLIGHT ASSEMBLY [90441]
HANDLEBAR ASSEMBLY [90424]
HEADLIGHT AND WIRING ASSEMBLY [90437]
HOOD AND WINDSHIELD ASSEMBLY [90435]
HOOD ASSEMBLY (MODIFIED RACE SLED) [90436]
HYDRAULIC BRAKE CONTROL ASSEMBLY [90425]
IDLER WHEEL ASSEMBLY [90429]
KIT PARTS LIST (MODIFIED RACE SLED: PUMP GAS)
MAGNETO [90459]
PISTON AND CRANKSHAFT [90455]
REAR SUSPENSION FRONT ARM ASSEMBLY [90430]
REAR SUSPENSION FRONT ARM SHOCK ABSORBER [90431]
REAR SUSPENSION REAR ARM ASSEMBLY [90432]
REAR SUSPENSION REAR ARM SHOCK ABSORBER [90433]
RECOIL STARTER [90458]
REED VALVE ASSEMBLY [90456]
SERVOMOTOR ASSEMBLY [90461]
SHOCK ABSORBER AND SWAY BAR ASSEMBLY [90420]
SKI AND SPINDLE ASSEMBLY [92164]
SLIDE RAIL AND TRACK ASSEMBLY [90428]
STEERING POST AND TIE ROD ASSEMBLY [93842]
THROTTLE CONTROL ASSEMBLY [90423]
WATER PUMP AND THERMOSTAT [94058]
A-ARM ASSEMBLY [98327]
AIR SILENCER, CARBURETOR, AND FUEL PUMP ASSEMBLY [90446]
BELLY PAN ASSEMBLY [90439]
BELT GUARD ASSEMBLY [90440]
CARBURETOR - EXTERNAL PARTS [90450]
CARBURETOR - INTERNAL PARTS [90449]
CHASSIS, REAR BUMPER, AND SNOWFLAP ASSEMBLY [90442]
CONSOLE AND SWITCH ASSEMBLY [90438]
COOLING ASSEMBLY [90443]
CRANKCASE ASSEMBLY [90454]
CYLINDER AND HEAD ASSEMBLY [90453]
DRIVE CLUTCH [90447]
DRIVE TRAIN SHAFT AND BRAKE ASSEMBLIES [92168]
DRIVE/DROPCASE ASSEMBLY [90427]
DRIVEN CLUTCH [92190]
ELECTRICAL [90460]
ENGINE AND RELATED PARTS [90444]
EXHAUST ASSEMBLY [90445]
FRONT FRAME AND STEERING SUPPORT ASSEMBLY [90434]
FRONT SUSPENSION SHOCK ABSORBER [90421]
GAS TANK, SEAT, AND TAILLIGHT ASSEMBLY [90441]
HANDLEBAR ASSEMBLY [90424]
HEADLIGHT AND WIRING ASSEMBLY [90437]
HOOD AND WINDSHIELD ASSEMBLY [90435]
HOOD ASSEMBLY (MODIFIED RACE SLED) [90436]
HYDRAULIC BRAKE CONTROL ASSEMBLY [90425]
IDLER WHEEL ASSEMBLY [90429]
KIT PARTS LIST (MODIFIED RACE SLED: PUMP GAS)
MAGNETO [90459]
PISTON AND CRANKSHAFT [90455]
REAR SUSPENSION FRONT ARM ASSEMBLY [90430]
REAR SUSPENSION FRONT ARM SHOCK ABSORBER [90431]
REAR SUSPENSION REAR ARM ASSEMBLY [90432]
REAR SUSPENSION REAR ARM SHOCK ABSORBER [90433]
RECOIL STARTER [90458]
REED VALVE ASSEMBLY [90456]
SERVOMOTOR ASSEMBLY [90461]
SHOCK ABSORBER AND SWAY BAR ASSEMBLY [90420]
SKI AND SPINDLE ASSEMBLY [92164]
SLIDE RAIL AND TRACK ASSEMBLY [90428]
STEERING POST AND TIE ROD ASSEMBLY [93842]
THROTTLE CONTROL ASSEMBLY [90423]
WATER PUMP AND THERMOSTAT [94058]
VIEW WISH LIST