Greenville, TX
|
Give Us a Call
(903) 454-4440
Toggle navigation
Home
Brands
Manufacturer Models
OEM Promotions
Polaris
Can-Am
E-Z-Go
Honda
Kawasaki
Suzuki
Inventory
All Inventory In Stock
New Inventory In Stock
Used Inventory
Value Your Trade-In
Request a Model
Schedule a Test Ride
Secure Financing
Parts
Parts Department
Parts Finder
Service
Service Department
Request Polaris Service
Warranty & Recall Look-Up
Specials
Financing
About
Our Dealership
Our Team
Reviews
Customer Survey
Employment
Events Calendar
Locations
Location & Hours
Contact
Parts Finder
Home
›
Parts
›
Parts Finder
Search by :
Part / Desc
VIN
Please Select
Arctic Cat
Honda
Kawasaki
Polaris
Suzuki
*Please enter at least 3 characters
SEARCH
Manufacturer
Arctic Cat
Snowmobiles
2008
TZ1 TOURING LXR RED [S2008TZNLXUSR]
VIEW WISH LIST
Select a Section
Show/Hide
A-ARM AND SWAY BAR ASSEMBLY [90525]
AIR SILENCER ASSEMBLY [89678]
BATTERY AND TRAY ASSEMBLY [88621]
BELT GUARD ASSEMBLY [88640]
CAM CHAIN ASSEMBLY [101065]
CAMSHAFT/VALVE ASSEMBLY [88261]
CHASSIS ASSEMBLY [88647]
CONSOLE ASSEMBLY [88632]
COOLING ASSEMBLY [88238]
CRANK BALANCER ASSEMBLY [89768]
CRANKCASE ASSEMBLY [86370]
CYLINDER HEAD ASSEMBLY [90059]
DRIVE CLUTCH [91458]
DRIVE TRAIN SHAFT AND BRAKE ASSEMBLIES [88223]
DRIVEN CLUTCH [94681]
ENGINE AND RELATED PARTS [88258]
EXHAUST ASSEMBLY [88239]
EXHAUST MANIFOLD GASKET/INTAKE FLANGE ASSEMBLY [91415]
FRONT SEAT ASSEMBLY [88634]
FUEL PUMP ASSEMBLY [88234]
GAS TANK ASSEMBLY [90247]
GEARCASE ASSEMBLY [88254]
HANDLEBAR AND CONTROLS [88650]
HEADLIGHT AND WIRING ASSEMBLIES [88630]
HOOD, WINDSHIELD, AND FRONT BUMPER ASSEMBLY [88648]
HYDRAULIC BRAKE CONTROL ASSEMBLY [97037]
IDLER WHEEL ASSEMBLY [88645]
MAGNETO ASSEMBLY [91421]
MAGNETO COVER [91412]
OIL COOLER ASSEMBLY [89694]
OIL PAN ASSEMBLY [86375]
OIL PUMP ASSEMBLY [90508]
OIL TANK ASSEMBLY [88241]
PASSENGER SEAT AND BACKREST ASSEMBLY [88635]
PISTON AND CRANKSHAFT ASSEMBLY [90060]
RADIO AND WIRING ASSEMBLIES [88631]
REAR BUMPER, RACK RAIL, SNOWFLAP, AND TAILLIGHT ASSEMBLY [88636]
REAR SUSPENSION FRONT ARM ASSEMBLY [94621]
REAR SUSPENSION REAR ARM ASSEMBLY [94622]
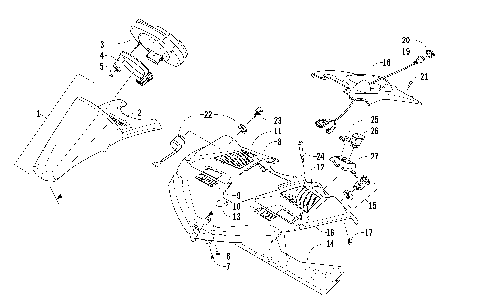
SEAT SUPPORT ASSEMBLY [88633]
SHOCK ABSORBER ASSEMBLY [88643]
SKI AND SPINDLE ASSEMBLY [88614]
SKID PLATE AND SIDE PANEL ASSEMBLY [88649]
SLIDE RAILS AND TRACK ASSEMBLY [88644]
STARTER CLUTCH ASSEMBLY [89767]
STARTER MOTOR ASSEMBLY [91420]
STEERING POST ASSEMBLY [88244]
STEERING SUPPORT ASSEMBLY [88220]
THROTTLE BODY ASSEMBLY [86353]
TIE ROD ASSEMBLY [90236]
WATER HOSE ASSEMBLY [89696]
WATER PUMP ASSEMBLY [89695]
A-ARM AND SWAY BAR ASSEMBLY [90525]
AIR SILENCER ASSEMBLY [89678]
BATTERY AND TRAY ASSEMBLY [88621]
BELT GUARD ASSEMBLY [88640]
CAM CHAIN ASSEMBLY [101065]
CAMSHAFT/VALVE ASSEMBLY [88261]
CHASSIS ASSEMBLY [88647]
CONSOLE ASSEMBLY [88632]
COOLING ASSEMBLY [88238]
CRANK BALANCER ASSEMBLY [89768]
CRANKCASE ASSEMBLY [86370]
CYLINDER HEAD ASSEMBLY [90059]
DRIVE CLUTCH [91458]
DRIVE TRAIN SHAFT AND BRAKE ASSEMBLIES [88223]
DRIVEN CLUTCH [94681]
ENGINE AND RELATED PARTS [88258]
EXHAUST ASSEMBLY [88239]
EXHAUST MANIFOLD GASKET/INTAKE FLANGE ASSEMBLY [91415]
FRONT SEAT ASSEMBLY [88634]
FUEL PUMP ASSEMBLY [88234]
GAS TANK ASSEMBLY [90247]
GEARCASE ASSEMBLY [88254]
HANDLEBAR AND CONTROLS [88650]
HEADLIGHT AND WIRING ASSEMBLIES [88630]
HOOD, WINDSHIELD, AND FRONT BUMPER ASSEMBLY [88648]
HYDRAULIC BRAKE CONTROL ASSEMBLY [97037]
IDLER WHEEL ASSEMBLY [88645]
MAGNETO ASSEMBLY [91421]
MAGNETO COVER [91412]
OIL COOLER ASSEMBLY [89694]
OIL PAN ASSEMBLY [86375]
OIL PUMP ASSEMBLY [90508]
OIL TANK ASSEMBLY [88241]
PASSENGER SEAT AND BACKREST ASSEMBLY [88635]
PISTON AND CRANKSHAFT ASSEMBLY [90060]
RADIO AND WIRING ASSEMBLIES [88631]
REAR BUMPER, RACK RAIL, SNOWFLAP, AND TAILLIGHT ASSEMBLY [88636]
REAR SUSPENSION FRONT ARM ASSEMBLY [94621]
REAR SUSPENSION REAR ARM ASSEMBLY [94622]
SEAT SUPPORT ASSEMBLY [88633]
SHOCK ABSORBER ASSEMBLY [88643]
SKI AND SPINDLE ASSEMBLY [88614]
SKID PLATE AND SIDE PANEL ASSEMBLY [88649]
SLIDE RAILS AND TRACK ASSEMBLY [88644]
STARTER CLUTCH ASSEMBLY [89767]
STARTER MOTOR ASSEMBLY [91420]
STEERING POST ASSEMBLY [88244]
STEERING SUPPORT ASSEMBLY [88220]
THROTTLE BODY ASSEMBLY [86353]
TIE ROD ASSEMBLY [90236]
WATER HOSE ASSEMBLY [89696]
WATER PUMP ASSEMBLY [89695]
VIEW WISH LIST