Greenville, TX
|
Give Us a Call
(903) 454-4440
Toggle navigation
Home
Brands
Manufacturer Models
OEM Promotions
Polaris
Can-Am
E-Z-Go
Honda
Kawasaki
Suzuki
Inventory
All Inventory In Stock
New Inventory In Stock
Used Inventory
Value Your Trade-In
Request a Model
Schedule a Test Ride
Secure Financing
Parts
Parts Department
Parts Finder
Service
Service Department
Request Polaris Service
Warranty & Recall Look-Up
Specials
Financing
About
Our Dealership
Our Team
Reviews
Customer Survey
Employment
Events Calendar
Locations
Location & Hours
Contact
Parts Finder
Home
›
Parts
›
Parts Finder
Search by :
Part / Desc
VIN
Please Select
Arctic Cat
Honda
Kawasaki
Polaris
Suzuki
*Please enter at least 3 characters
SEARCH
Manufacturer
Arctic Cat
Snowmobiles
2008
M1000 EFI 153 SNO PRO WHITE [S2008M1LSPUSW]
VIEW WISH LIST
Select a Section
Show/Hide
A-ARM ASSEMBLY [87812]
AIR INTAKE ASSEMBLY [89642]
AIR SILENCER ASSEMBLY [88298]
BELLY PAN ASSEMBLY [88397]
BELT GUARD ASSEMBLY [89330]
CONSOLE AND SWITCH ASSEMBLY [87827]
COOLING ASSEMBLY [88334]
CRANKCASE ASSEMBLY [88167]
CYLINDER AND HEAD ASSEMBLY [91546]
DRIVE CLUTCH [88406]
DRIVE TRAIN SHAFT AND BRAKE ASSEMBLIES [88367]
DRIVEN CLUTCH [88407]
ELECTRICAL [88316]
ENGINE AND RELATED PARTS [88296]
EXHAUST ASSEMBLY [88297]
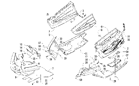
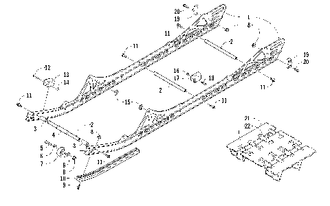
FRONT FRAME AND FOOTREST ASSEMBLY [88369]
FRONT SUSPENSION SHOCK ABSORBER [86867]
FRONT SUSPENSION SHOCK ABSORBER ASSEMBLY [86866]
FUEL PUMP ASSEMBLY [86408]
GAS TANK ASSEMBLY [90000]
GEARCASE ASSEMBLY [88368]
HANDLEBAR AND CONTROLS [88366]
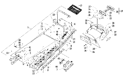
HEADLIGHT, INSTRUMENTS, AND WIRING ASSEMBLIES [88379]
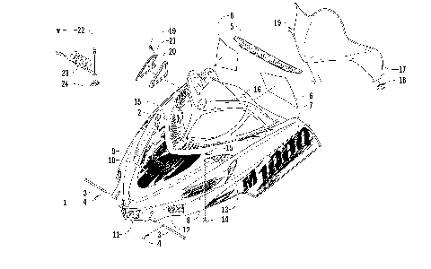
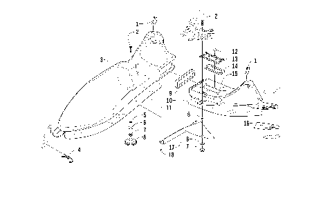
HOOD AND WINDSHIELD ASSEMBLY [88394]
HYDRAULIC BRAKE CONTROL ASSEMBLY [97037]
IDLER WHEEL ASSEMBLY [88382]
MAGNETO [89351]
OIL PUMP [88169]
OIL TANK ASSEMBLY [88299]
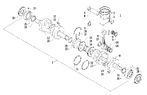
PISTON AND CRANKSHAFT [89345]
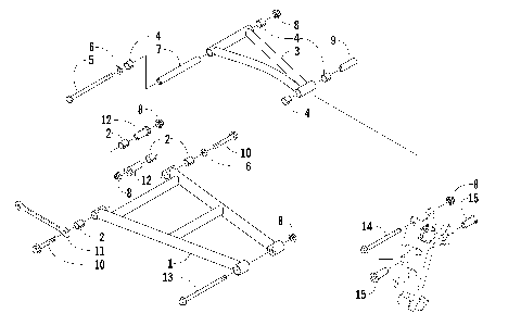
REAR SUSPENSION FRONT ARM ASSEMBLY [88383]
REAR SUSPENSION FRONT ARM SHOCK ABSORBER [86433]
REAR SUSPENSION REAR ARM ASSEMBLY [88384]
REAR SUSPENSION REAR ARM SHOCK ABSORBER [87823]
RECOIL STARTER [89350]
REED VALVE ASSEMBLY [89346]
SEAT ASSEMBLY [88405]
SERVOMOTOR ASSEMBLY [90461]
SKI AND SPINDLE ASSEMBLY [87811]
SLIDE RAILS AND TRACK ASSEMBLY [88381]
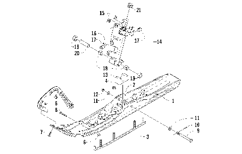
STEERING POST ASSEMBLY [88123]
THROTTLE BODY ASSEMBLY [88168]
TIE ROD ASSEMBLY [87815]
TUNNEL, REAR BUMPER, AND TAILLIGHT ASSEMBLY [88403]
WATER PUMP AND THERMOSTAT [92916]
A-ARM ASSEMBLY [87812]
AIR INTAKE ASSEMBLY [89642]
AIR SILENCER ASSEMBLY [88298]
BELLY PAN ASSEMBLY [88397]
BELT GUARD ASSEMBLY [89330]
CONSOLE AND SWITCH ASSEMBLY [87827]
COOLING ASSEMBLY [88334]
CRANKCASE ASSEMBLY [88167]
CYLINDER AND HEAD ASSEMBLY [91546]
DRIVE CLUTCH [88406]
DRIVE TRAIN SHAFT AND BRAKE ASSEMBLIES [88367]
DRIVEN CLUTCH [88407]
ELECTRICAL [88316]
ENGINE AND RELATED PARTS [88296]
EXHAUST ASSEMBLY [88297]
FRONT FRAME AND FOOTREST ASSEMBLY [88369]
FRONT SUSPENSION SHOCK ABSORBER [86867]
FRONT SUSPENSION SHOCK ABSORBER ASSEMBLY [86866]
FUEL PUMP ASSEMBLY [86408]
GAS TANK ASSEMBLY [90000]
GEARCASE ASSEMBLY [88368]
HANDLEBAR AND CONTROLS [88366]
HEADLIGHT, INSTRUMENTS, AND WIRING ASSEMBLIES [88379]
HOOD AND WINDSHIELD ASSEMBLY [88394]
HYDRAULIC BRAKE CONTROL ASSEMBLY [97037]
IDLER WHEEL ASSEMBLY [88382]
MAGNETO [89351]
OIL PUMP [88169]
OIL TANK ASSEMBLY [88299]
PISTON AND CRANKSHAFT [89345]
REAR SUSPENSION FRONT ARM ASSEMBLY [88383]
REAR SUSPENSION FRONT ARM SHOCK ABSORBER [86433]
REAR SUSPENSION REAR ARM ASSEMBLY [88384]
REAR SUSPENSION REAR ARM SHOCK ABSORBER [87823]
RECOIL STARTER [89350]
REED VALVE ASSEMBLY [89346]
SEAT ASSEMBLY [88405]
SERVOMOTOR ASSEMBLY [90461]
SKI AND SPINDLE ASSEMBLY [87811]
SLIDE RAILS AND TRACK ASSEMBLY [88381]
STEERING POST ASSEMBLY [88123]
THROTTLE BODY ASSEMBLY [88168]
TIE ROD ASSEMBLY [87815]
TUNNEL, REAR BUMPER, AND TAILLIGHT ASSEMBLY [88403]
WATER PUMP AND THERMOSTAT [92916]
VIEW WISH LIST