Greenville, TX
|
Give Us a Call
(903) 454-4440
Toggle navigation
Home
Brands
Manufacturer Models
OEM Promotions
Polaris
Can-Am
E-Z-Go
Honda
Kawasaki
Suzuki
Inventory
All Inventory In Stock
New Inventory In Stock
Used Inventory
Value Your Trade-In
Request a Model
Schedule a Test Ride
Secure Financing
Parts
Parts Department
Parts Finder
Service
Service Department
Request Polaris Service
Warranty & Recall Look-Up
Specials
Financing
About
Our Dealership
Our Team
Reviews
Customer Survey
Employment
Events Calendar
Locations
Location & Hours
Contact
Parts Finder
Home
›
Parts
›
Parts Finder
Search by :
Part / Desc
VIN
Please Select
Arctic Cat
Honda
Kawasaki
Polaris
Suzuki
*Please enter at least 3 characters
SEARCH
Manufacturer
Arctic Cat
Snowmobiles
2008
F8 EFI ORANGE [S2008F8HEFUSO]
VIEW WISH LIST
Select a Section
Show/Hide
A-ARM AND SWAY BAR ASSEMBLY [90549]
AIR SILENCER ASSEMBLY [87924]
BELT GUARD ASSEMBLY [88165]
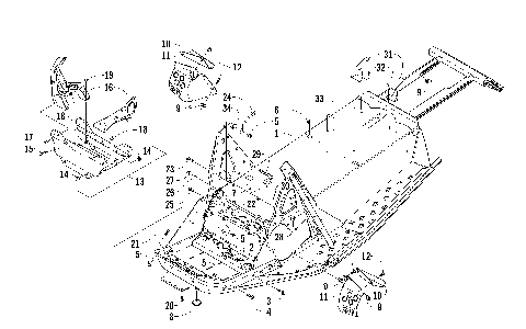
CHASSIS ASSEMBLY [87912]
CONSOLE ASSEMBLY [87963]
COOLING ASSEMBLY [88454]
CRANKCASE ASSEMBLY [89822]
CYLINDER AND HEAD ASSEMBLY [88470]
DRIVE CLUTCH [88469]
DRIVE TRAIN SHAFT AND BRAKE ASSEMBLIES [88466]
DRIVEN CLUTCH [91173]
ELECTRICAL [88471]
ENGINE AND RELATED PARTS [88455]
EXHAUST ASSEMBLY [88468]
FRONT SUSPENSION SHOCK ABSORBER [85496]
FUEL PUMP ASSEMBLY [86502]
GAS TANK ASSEMBLY [87918]
GEARCASE ASSEMBLY [88467]
HANDLEBAR AND CONTROLS [88014]
HEADLIGHT AND WIRING ASSEMBLIES [106523]
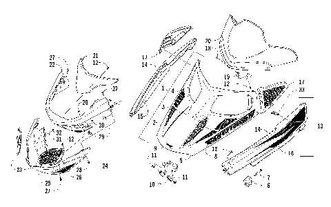
HOOD, WINDSHIELD, AND FRONT BUMPER ASSEMBLY [88062]
HYDRAULIC BRAKE CONTROL ASSEMBLY [97037]
IDLER WHEEL ASSEMBLY [92604]
MAGNETO [89829]
OIL PUMP [86673]
OIL TANK ASSEMBLY [89575]
PISTON AND CRANKSHAFT [89823]
REAR BUMPER, STORAGE BOX, AND TAILLIGHT ASSEMBLY [88476]
REAR SUSPENSION FRONT ARM ASSEMBLY [88017]
REAR SUSPENSION FRONT ARM SHOCK ABSORBER [86591]
REAR SUSPENSION REAR ARM ASSEMBLY [88018]
RECOIL STARTER [89828]
REED VALVE ASSEMBLY [89824]
SEAT ASSEMBLY [87920]
SEAT SUPPORT ASSEMBLY [87965]
SERVOMOTOR ASSEMBLY [90461]
SKI AND SPINDLE ASSEMBLY [87942]
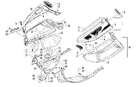
SKID PLATE AND SIDE PANEL ASSEMBLY [88475]
SLIDE RAILS AND TRACK ASSEMBLY [88045]
STEERING POST ASSEMBLY [87902]
STEERING SUPPORT ASSEMBLY [88143]
THROTTLE BODY ASSEMBLY [86672]
TIE ROD ASSEMBLY [90236]
WATER PUMP/WATER MANIFOLD [89827]
A-ARM AND SWAY BAR ASSEMBLY [90549]
AIR SILENCER ASSEMBLY [87924]
BELT GUARD ASSEMBLY [88165]
CHASSIS ASSEMBLY [87912]
CONSOLE ASSEMBLY [87963]
COOLING ASSEMBLY [88454]
CRANKCASE ASSEMBLY [89822]
CYLINDER AND HEAD ASSEMBLY [88470]
DRIVE CLUTCH [88469]
DRIVE TRAIN SHAFT AND BRAKE ASSEMBLIES [88466]
DRIVEN CLUTCH [91173]
ELECTRICAL [88471]
ENGINE AND RELATED PARTS [88455]
EXHAUST ASSEMBLY [88468]
FRONT SUSPENSION SHOCK ABSORBER [85496]
FUEL PUMP ASSEMBLY [86502]
GAS TANK ASSEMBLY [87918]
GEARCASE ASSEMBLY [88467]
HANDLEBAR AND CONTROLS [88014]
HEADLIGHT AND WIRING ASSEMBLIES [106523]
HOOD, WINDSHIELD, AND FRONT BUMPER ASSEMBLY [88062]
HYDRAULIC BRAKE CONTROL ASSEMBLY [97037]
IDLER WHEEL ASSEMBLY [92604]
MAGNETO [89829]
OIL PUMP [86673]
OIL TANK ASSEMBLY [89575]
PISTON AND CRANKSHAFT [89823]
REAR BUMPER, STORAGE BOX, AND TAILLIGHT ASSEMBLY [88476]
REAR SUSPENSION FRONT ARM ASSEMBLY [88017]
REAR SUSPENSION FRONT ARM SHOCK ABSORBER [86591]
REAR SUSPENSION REAR ARM ASSEMBLY [88018]
RECOIL STARTER [89828]
REED VALVE ASSEMBLY [89824]
SEAT ASSEMBLY [87920]
SEAT SUPPORT ASSEMBLY [87965]
SERVOMOTOR ASSEMBLY [90461]
SKI AND SPINDLE ASSEMBLY [87942]
SKID PLATE AND SIDE PANEL ASSEMBLY [88475]
SLIDE RAILS AND TRACK ASSEMBLY [88045]
STEERING POST ASSEMBLY [87902]
STEERING SUPPORT ASSEMBLY [88143]
THROTTLE BODY ASSEMBLY [86672]
TIE ROD ASSEMBLY [90236]
WATER PUMP/WATER MANIFOLD [89827]
VIEW WISH LIST