Greenville, TX
|
Give Us a Call
(903) 454-4440
Toggle navigation
Home
Brands
Manufacturer Models
OEM Promotions
Polaris
Can-Am
E-Z-Go
Honda
Kawasaki
Suzuki
Inventory
All Inventory In Stock
New Inventory In Stock
Used Inventory
Value Your Trade-In
Request a Model
Schedule a Test Ride
Secure Financing
Parts
Parts Department
Parts Finder
Service
Service Department
Request Polaris Service
Warranty & Recall Look-Up
Specials
Financing
About
Our Dealership
Our Team
Reviews
Customer Survey
Employment
Events Calendar
Locations
Location & Hours
Contact
Parts Finder
Home
›
Parts
›
Parts Finder
Search by :
Part / Desc
VIN
Please Select
Arctic Cat
Honda
Kawasaki
Polaris
Suzuki
*Please enter at least 3 characters
SEARCH
Manufacturer
Arctic Cat
Snowmobiles
2008
F570 BLACK [S2008F5DFCUSB]
VIEW WISH LIST
Select a Section
Show/Hide
A-ARM AND SWAY BAR ASSEMBLY [90549]
AIR SILENCER ASSEMBLY [88569]
BATTERY AND TRAY ASSEMBLY [88567]
BELT GUARD ASSEMBLY [88560]
CARBURETOR [86256]
CARBURETOR AND FUEL PUMP ASSEMBLY [88568]
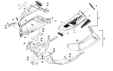
CHASSIS ASSEMBLY [88581]
CONSOLE ASSEMBLY [88596]
CRANKCASE AND CYLINDER [87653]
CYLINDER COWLING ASSEMBLY [89142]
DRIVE CLUTCH [88574]
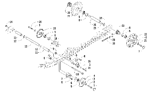
DRIVE TRAIN SHAFT AND BRAKE ASSEMBLIES [88592]
DRIVEN CLUTCH [89269]
ELECTRIC START - STARTER MOTOR ASSEMBLY [88566]
ELECTRICAL [87655]
ENGINE AND RELATED PARTS [88564]
EXHAUST ASSEMBLY [88565]
FRONT SHOCK ABSORBER ASSEMBLY [93044]
FUEL PUMP ASSEMBLY [88562]
GAS TANK ASSEMBLY [90247]
GEARCASE ASSEMBLY [88593]
HANDLEBAR AND CONTROLS [88589]
HEADLIGHT AND WIRING ASSEMBLIES [88557]
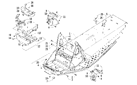
HOOD, WINDSHIELD, AND FRONT BUMPER ASSEMBLY [88604]
HYDRAULIC BRAKE CONTROL ASSEMBLY [97037]
IDLER WHEEL ASSEMBLY [87952]
INTAKE ASSEMBLY [89139]
MAGNETO [89144]
OIL PUMP [89141]
OIL TANK ASSEMBLY [94603]
PISTON AND CRANKSHAFT [89138]
REAR BUMPER, STORAGE BOX, SNOWFLAP, AND TAILLIGHT ASSEMBLY [88610]
REAR SUSPENSION FRONT ARM ASSEMBLY [88580]
REAR SUSPENSION REAR ARM ASSEMBLY [88594]
RECOIL STARTER [87654]
REED VALVE ASSEMBLY [89140]
REVERSE SHIFT LEVER ASSEMBLY [88531]
SEAT ASSEMBLY [88607]
SEAT SUPPORT ASSEMBLY [88599]
SKI AND SPINDLE ASSEMBLY [88601]
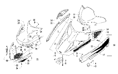
SKID PLATE AND SIDE PANEL ASSEMBLY [88583]
SLIDE RAILS AND TRACK ASSEMBLY [88602]
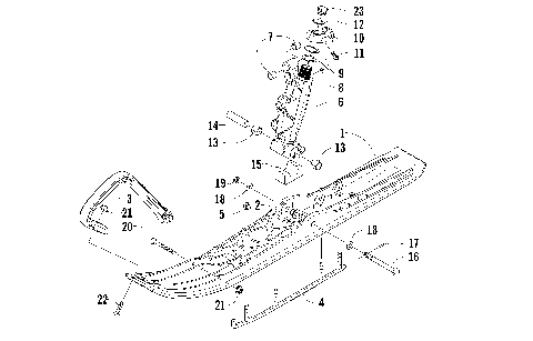
STEERING POST ASSEMBLY [88578]
STEERING SUPPORT ASSEMBLY [88552]
TIE ROD ASSEMBLY [90236]
A-ARM AND SWAY BAR ASSEMBLY [90549]
AIR SILENCER ASSEMBLY [88569]
BATTERY AND TRAY ASSEMBLY [88567]
BELT GUARD ASSEMBLY [88560]
CARBURETOR [86256]
CARBURETOR AND FUEL PUMP ASSEMBLY [88568]
CHASSIS ASSEMBLY [88581]
CONSOLE ASSEMBLY [88596]
CRANKCASE AND CYLINDER [87653]
CYLINDER COWLING ASSEMBLY [89142]
DRIVE CLUTCH [88574]
DRIVE TRAIN SHAFT AND BRAKE ASSEMBLIES [88592]
DRIVEN CLUTCH [89269]
ELECTRIC START - STARTER MOTOR ASSEMBLY [88566]
ELECTRICAL [87655]
ENGINE AND RELATED PARTS [88564]
EXHAUST ASSEMBLY [88565]
FRONT SHOCK ABSORBER ASSEMBLY [93044]
FUEL PUMP ASSEMBLY [88562]
GAS TANK ASSEMBLY [90247]
GEARCASE ASSEMBLY [88593]
HANDLEBAR AND CONTROLS [88589]
HEADLIGHT AND WIRING ASSEMBLIES [88557]
HOOD, WINDSHIELD, AND FRONT BUMPER ASSEMBLY [88604]
HYDRAULIC BRAKE CONTROL ASSEMBLY [97037]
IDLER WHEEL ASSEMBLY [87952]
INTAKE ASSEMBLY [89139]
MAGNETO [89144]
OIL PUMP [89141]
OIL TANK ASSEMBLY [94603]
PISTON AND CRANKSHAFT [89138]
REAR BUMPER, STORAGE BOX, SNOWFLAP, AND TAILLIGHT ASSEMBLY [88610]
REAR SUSPENSION FRONT ARM ASSEMBLY [88580]
REAR SUSPENSION REAR ARM ASSEMBLY [88594]
RECOIL STARTER [87654]
REED VALVE ASSEMBLY [89140]
REVERSE SHIFT LEVER ASSEMBLY [88531]
SEAT ASSEMBLY [88607]
SEAT SUPPORT ASSEMBLY [88599]
SKI AND SPINDLE ASSEMBLY [88601]
SKID PLATE AND SIDE PANEL ASSEMBLY [88583]
SLIDE RAILS AND TRACK ASSEMBLY [88602]
STEERING POST ASSEMBLY [88578]
STEERING SUPPORT ASSEMBLY [88552]
TIE ROD ASSEMBLY [90236]
VIEW WISH LIST