Greenville, TX
|
Give Us a Call
(903) 454-4440
Toggle navigation
Home
Brands
Manufacturer Models
OEM Promotions
Polaris
Can-Am
E-Z-Go
Honda
Kawasaki
Suzuki
Inventory
All Inventory In Stock
New Inventory In Stock
Used Inventory
Value Your Trade-In
Request a Model
Schedule a Test Ride
Secure Financing
Parts
Parts Department
Parts Finder
Service
Service Department
Request Polaris Service
Warranty & Recall Look-Up
Specials
Financing
About
Our Dealership
Our Team
Reviews
Customer Survey
Employment
Events Calendar
Locations
Location & Hours
Contact
Parts Finder
Home
›
Parts
›
Parts Finder
Search by :
Part / Desc
VIN
Please Select
Arctic Cat
Honda
Kawasaki
Polaris
Suzuki
*Please enter at least 3 characters
SEARCH
Manufacturer
Arctic Cat
Snowmobiles
2008
F5 EFI LXR BLACK [S2008F5CLXUSB]
VIEW WISH LIST
Select a Section
Show/Hide
A-ARM AND SWAY BAR ASSEMBLY [90549]
AIR SILENCER ASSEMBLY [106450]
BATTERY AND TRAY ASSEMBLY [87937]
BELT GUARD ASSEMBLY [87917]
CHASSIS ASSEMBLY [87929]
CONSOLE ASSEMBLY [87981]
COOLING ASSEMBLY [86506]
CRANKCASE ASSEMBLY [93866]
CYLINDER AND HEAD ASSEMBLY [89241]
DRIVE CLUTCH [89239]
DRIVE TRAIN SHAFT AND BRAKE ASSEMBLIES [87906]
DRIVEN CLUTCH [89577]
ELECTRICAL [87949]
ENGINE AND RELATED PARTS [87922]
EXHAUST ASSEMBLY [87923]
FLEX-DRIVE STARTER MOTOR ASSEMBLY [87936]
FRONT SHOCK ABSORBER ASSEMBLY [93044]
FUEL PUMP ASSEMBLY [86502]
GAS TANK ASSEMBLY [87918]
GEARCASE ASSEMBLY [87907]
HANDLEBAR AND CONTROLS [87928]
HEADLIGHT AND WIRING ASSEMBLIES [87931]
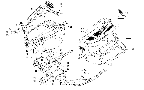
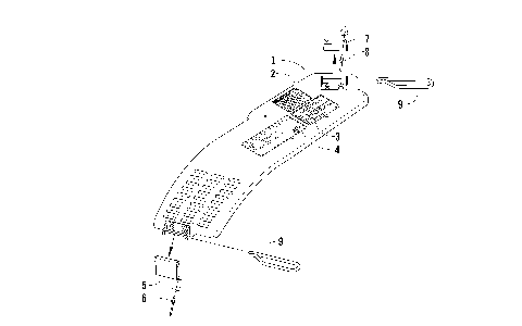
HOOD, WINDSHIELD, AND FRONT BUMPER ASSEMBLY [87980]
HYDRAULIC BRAKE CONTROL ASSEMBLY [97037]
IDLER WHEEL ASSEMBLY [87952]
MAGNETO [89578]
OIL PUMP [89245]
OIL TANK ASSEMBLY [89575]
PISTON AND CRANKSHAFT [89243]
REAR BUMPER, STORAGE BOX, AND TAILLIGHT ASSEMBLY [87984]
REAR SUSPENSION FRONT ARM ASSEMBLY [87910]
REAR SUSPENSION REAR ARM ASSEMBLY [89564]
RECOIL STARTER [89247]
REED VALVE/THROTTLE BODY ASSEMBLY [98224]
SEAT ASSEMBLY [87983]
SEAT SUPPORT ASSEMBLY [87982]
SKI AND SPINDLE ASSEMBLY [87942]
SKID PLATE AND SIDE PANEL ASSEMBLY [87916]
SLIDE RAILS AND TRACK ASSEMBLY [87951]
STEERING POST ASSEMBLY [86516]
STEERING SUPPORT ASSEMBLY [87979]
TIE ROD ASSEMBLY [90236]
WATER PUMP AND THERMOSTAT [93010]
A-ARM AND SWAY BAR ASSEMBLY [90549]
AIR SILENCER ASSEMBLY [106450]
BATTERY AND TRAY ASSEMBLY [87937]
BELT GUARD ASSEMBLY [87917]
CHASSIS ASSEMBLY [87929]
CONSOLE ASSEMBLY [87981]
COOLING ASSEMBLY [86506]
CRANKCASE ASSEMBLY [93866]
CYLINDER AND HEAD ASSEMBLY [89241]
DRIVE CLUTCH [89239]
DRIVE TRAIN SHAFT AND BRAKE ASSEMBLIES [87906]
DRIVEN CLUTCH [89577]
ELECTRICAL [87949]
ENGINE AND RELATED PARTS [87922]
EXHAUST ASSEMBLY [87923]
FLEX-DRIVE STARTER MOTOR ASSEMBLY [87936]
FRONT SHOCK ABSORBER ASSEMBLY [93044]
FUEL PUMP ASSEMBLY [86502]
GAS TANK ASSEMBLY [87918]
GEARCASE ASSEMBLY [87907]
HANDLEBAR AND CONTROLS [87928]
HEADLIGHT AND WIRING ASSEMBLIES [87931]
HOOD, WINDSHIELD, AND FRONT BUMPER ASSEMBLY [87980]
HYDRAULIC BRAKE CONTROL ASSEMBLY [97037]
IDLER WHEEL ASSEMBLY [87952]
MAGNETO [89578]
OIL PUMP [89245]
OIL TANK ASSEMBLY [89575]
PISTON AND CRANKSHAFT [89243]
REAR BUMPER, STORAGE BOX, AND TAILLIGHT ASSEMBLY [87984]
REAR SUSPENSION FRONT ARM ASSEMBLY [87910]
REAR SUSPENSION REAR ARM ASSEMBLY [89564]
RECOIL STARTER [89247]
REED VALVE/THROTTLE BODY ASSEMBLY [98224]
SEAT ASSEMBLY [87983]
SEAT SUPPORT ASSEMBLY [87982]
SKI AND SPINDLE ASSEMBLY [87942]
SKID PLATE AND SIDE PANEL ASSEMBLY [87916]
SLIDE RAILS AND TRACK ASSEMBLY [87951]
STEERING POST ASSEMBLY [86516]
STEERING SUPPORT ASSEMBLY [87979]
TIE ROD ASSEMBLY [90236]
WATER PUMP AND THERMOSTAT [93010]
VIEW WISH LIST