Greenville, TX
|
Give Us a Call
(903) 454-4440
Toggle navigation
Home
Brands
Manufacturer Models
OEM Promotions
Polaris
Can-Am
E-Z-Go
Honda
Kawasaki
Suzuki
Inventory
All Inventory In Stock
New Inventory In Stock
Used Inventory
Value Your Trade-In
Request a Model
Schedule a Test Ride
Secure Financing
Parts
Parts Department
Parts Finder
Service
Service Department
Request Polaris Service
Warranty & Recall Look-Up
Specials
Financing
About
Our Dealership
Our Team
Reviews
Customer Survey
Employment
Events Calendar
Locations
Location & Hours
Contact
Parts Finder
Home
›
Parts
›
Parts Finder
Search by :
Part / Desc
VIN
Please Select
Arctic Cat
Honda
Kawasaki
Polaris
Suzuki
*Please enter at least 3 characters
SEARCH
Manufacturer
Arctic Cat
Snowmobiles
2008
F1000 EFI LXR BLACK [S2008F1LLXUSB]
VIEW WISH LIST
Select a Section
Show/Hide
A-ARM AND SWAY BAR ASSEMBLY [90549]
AIR SILENCER ASSEMBLY [86709]
BATTERY AND TRAY ASSEMBLY [88155]
BELT GUARD ASSEMBLY [88165]
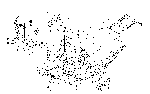
CHASSIS ASSEMBLY [88090]
CONSOLE ASSEMBLY [87981]
COOLING ASSEMBLY [88147]
CRANKCASE ASSEMBLY [88167]
CYLINDER AND HEAD ASSEMBLY [90278]
DRIVE CLUTCH [90276]
DRIVE TRAIN SHAFT AND BRAKE ASSEMBLIES [88161]
DRIVEN CLUTCH [91173]
ELECTRICAL [88171]
ENGINE AND RELATED PARTS [88172]
EXHAUST ASSEMBLY [88149]
FLEX-DRIVE STARTER MOTOR ASSEMBLY [86723]
FRONT SUSPENSION SHOCK ABSORBER [85496]
FUEL PUMP ASSEMBLY [86502]
GAS TANK ASSEMBLY [87918]
GEARCASE ASSEMBLY [88163]
HANDLEBAR AND CONTROLS [88958]
HEADLIGHT AND WIRING ASSEMBLIES [88153]
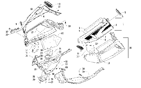
HOOD, WINDSHIELD, AND FRONT BUMPER ASSEMBLY [88058]
HYDRAULIC BRAKE CONTROL ASSEMBLY [97037]
IDLER WHEEL ASSEMBLY [92603]
MAGNETO [89351]
OIL PUMP [88169]
OIL TANK ASSEMBLY [89575]
PISTON AND CRANKSHAFT [89345]
REAR BUMPER, STORAGE BOX, AND TAILLIGHT ASSEMBLY [88178]
REAR SUSPENSION FRONT ARM ASSEMBLY [88017]
REAR SUSPENSION FRONT ARM SHOCK ABSORBER [86591]
REAR SUSPENSION REAR ARM ASSEMBLY [88018]
RECOIL STARTER [89350]
REED VALVE ASSEMBLY [89346]
SEAT ASSEMBLY [87983]
SEAT SUPPORT ASSEMBLY [87982]
SERVOMOTOR ASSEMBLY [90461]
SHOCK ABSORBER ASSEMBLY [88070]
SKI AND SPINDLE ASSEMBLY [87942]
SKID PLATE AND SIDE PANEL ASSEMBLY [88145]
SLIDE RAILS AND TRACK ASSEMBLY [88052]
STEERING POST ASSEMBLY [86516]
STEERING SUPPORT ASSEMBLY [88173]
THROTTLE BODY ASSEMBLY [88168]
TIE ROD ASSEMBLY [90236]
WATER PUMP AND THERMOSTAT [92916]
A-ARM AND SWAY BAR ASSEMBLY [90549]
AIR SILENCER ASSEMBLY [86709]
BATTERY AND TRAY ASSEMBLY [88155]
BELT GUARD ASSEMBLY [88165]
CHASSIS ASSEMBLY [88090]
CONSOLE ASSEMBLY [87981]
COOLING ASSEMBLY [88147]
CRANKCASE ASSEMBLY [88167]
CYLINDER AND HEAD ASSEMBLY [90278]
DRIVE CLUTCH [90276]
DRIVE TRAIN SHAFT AND BRAKE ASSEMBLIES [88161]
DRIVEN CLUTCH [91173]
ELECTRICAL [88171]
ENGINE AND RELATED PARTS [88172]
EXHAUST ASSEMBLY [88149]
FLEX-DRIVE STARTER MOTOR ASSEMBLY [86723]
FRONT SUSPENSION SHOCK ABSORBER [85496]
FUEL PUMP ASSEMBLY [86502]
GAS TANK ASSEMBLY [87918]
GEARCASE ASSEMBLY [88163]
HANDLEBAR AND CONTROLS [88958]
HEADLIGHT AND WIRING ASSEMBLIES [88153]
HOOD, WINDSHIELD, AND FRONT BUMPER ASSEMBLY [88058]
HYDRAULIC BRAKE CONTROL ASSEMBLY [97037]
IDLER WHEEL ASSEMBLY [92603]
MAGNETO [89351]
OIL PUMP [88169]
OIL TANK ASSEMBLY [89575]
PISTON AND CRANKSHAFT [89345]
REAR BUMPER, STORAGE BOX, AND TAILLIGHT ASSEMBLY [88178]
REAR SUSPENSION FRONT ARM ASSEMBLY [88017]
REAR SUSPENSION FRONT ARM SHOCK ABSORBER [86591]
REAR SUSPENSION REAR ARM ASSEMBLY [88018]
RECOIL STARTER [89350]
REED VALVE ASSEMBLY [89346]
SEAT ASSEMBLY [87983]
SEAT SUPPORT ASSEMBLY [87982]
SERVOMOTOR ASSEMBLY [90461]
SHOCK ABSORBER ASSEMBLY [88070]
SKI AND SPINDLE ASSEMBLY [87942]
SKID PLATE AND SIDE PANEL ASSEMBLY [88145]
SLIDE RAILS AND TRACK ASSEMBLY [88052]
STEERING POST ASSEMBLY [86516]
STEERING SUPPORT ASSEMBLY [88173]
THROTTLE BODY ASSEMBLY [88168]
TIE ROD ASSEMBLY [90236]
WATER PUMP AND THERMOSTAT [92916]
VIEW WISH LIST