Greenville, TX
|
Give Us a Call
(903) 454-4440
Toggle navigation
Home
Brands
Manufacturer Models
OEM Promotions
Polaris
Can-Am
E-Z-Go
Honda
Kawasaki
Suzuki
Inventory
All Inventory In Stock
New Inventory In Stock
Used Inventory
Value Your Trade-In
Request a Model
Schedule a Test Ride
Secure Financing
Parts
Parts Department
Parts Finder
Service
Service Department
Request Polaris Service
Warranty & Recall Look-Up
Specials
Financing
About
Our Dealership
Our Team
Reviews
Customer Survey
Employment
Events Calendar
Locations
Location & Hours
Contact
Parts Finder
Home
›
Parts
›
Parts Finder
Search by :
Part / Desc
VIN
Please Select
Arctic Cat
Honda
Kawasaki
Polaris
Suzuki
*Please enter at least 3 characters
SEARCH
Manufacturer
Arctic Cat
Snowmobiles
2008
CROSSFIRE 800 EFI NIGHTFIRE SNO PRO [S2008CFHNFUSB]
VIEW WISH LIST
Select a Section
Show/Hide
A-ARM ASSEMBLY [87873]
AIR INTAKE ASSEMBLY [89642]
AIR SILENCER ASSEMBLY [102199]
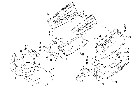
BELLY PAN ASSEMBLY [88514]
BELT GUARD ASSEMBLY [89330]
CONSOLE AND SWITCH ASSEMBLY [87827]
COOLING ASSEMBLY [88509]
CRANKCASE ASSEMBLY [89822]
CYLINDER AND HEAD ASSEMBLY [86828]
DRIVE CLUTCH [88432]
DRIVE TRAIN SHAFT AND BRAKE ASSEMBLIES [87875]
DRIVEN CLUTCH [87885]
ELECTRICAL [88434]
ENGINE AND RELATED PARTS [90092]
EXHAUST ASSEMBLY [86811]
FRONT FRAME AND FOOTREST ASSEMBLY [88522]
FRONT SUSPENSION SHOCK ABSORBER [86821]
FUEL PUMP ASSEMBLY [86408]
GAS TANK ASSEMBLY [87884]
GEARCASE ASSEMBLY [88368]
HANDLEBAR AND CONTROLS [87816]
HEADLIGHT, INSTRUMENTS, AND WIRING ASSEMBLIES [88523]
HOOD AND WINDSHIELD ASSEMBLY [88513]
HYDRAULIC BRAKE CONTROL ASSEMBLY [97037]
IDLER WHEEL ASSEMBLY [88326]
MAGNETO [89829]
OIL PUMP [86673]
OIL TANK ASSEMBLY [88299]
PISTON AND CRANKSHAFT [89823]
REAR SUSPENSION FRONT ARM ASSEMBLY [86841]
REAR SUSPENSION FRONT ARM SHOCK ABSORBER [86842]
REAR SUSPENSION REAR ARM ASSEMBLY [86822]
REAR SUSPENSION REAR ARM SHOCK ABSORBER [86843]
RECOIL STARTER [89828]
REED VALVE ASSEMBLY [89824]
SEAT ASSEMBLY [88308]
SERVOMOTOR ASSEMBLY [90461]
SHOCK ABSORBER AND SWAY BAR ASSEMBLY [88301]
SKI AND SPINDLE ASSEMBLY [88305]
SLIDE RAILS AND TRACK ASSEMBLY [88319]
STEERING POST ASSEMBLY [88123]
THROTTLE BODY ASSEMBLY [86672]
TIE ROD ASSEMBLY [88287]
TUNNEL, REAR BUMPER, AND TAILLIGHT ASSEMBLY [88309]
WATER PUMP/WATER MANIFOLD [89827]
A-ARM ASSEMBLY [87873]
AIR INTAKE ASSEMBLY [89642]
AIR SILENCER ASSEMBLY [102199]
BELLY PAN ASSEMBLY [88514]
BELT GUARD ASSEMBLY [89330]
CONSOLE AND SWITCH ASSEMBLY [87827]
COOLING ASSEMBLY [88509]
CRANKCASE ASSEMBLY [89822]
CYLINDER AND HEAD ASSEMBLY [86828]
DRIVE CLUTCH [88432]
DRIVE TRAIN SHAFT AND BRAKE ASSEMBLIES [87875]
DRIVEN CLUTCH [87885]
ELECTRICAL [88434]
ENGINE AND RELATED PARTS [90092]
EXHAUST ASSEMBLY [86811]
FRONT FRAME AND FOOTREST ASSEMBLY [88522]
FRONT SUSPENSION SHOCK ABSORBER [86821]
FUEL PUMP ASSEMBLY [86408]
GAS TANK ASSEMBLY [87884]
GEARCASE ASSEMBLY [88368]
HANDLEBAR AND CONTROLS [87816]
HEADLIGHT, INSTRUMENTS, AND WIRING ASSEMBLIES [88523]
HOOD AND WINDSHIELD ASSEMBLY [88513]
HYDRAULIC BRAKE CONTROL ASSEMBLY [97037]
IDLER WHEEL ASSEMBLY [88326]
MAGNETO [89829]
OIL PUMP [86673]
OIL TANK ASSEMBLY [88299]
PISTON AND CRANKSHAFT [89823]
REAR SUSPENSION FRONT ARM ASSEMBLY [86841]
REAR SUSPENSION FRONT ARM SHOCK ABSORBER [86842]
REAR SUSPENSION REAR ARM ASSEMBLY [86822]
REAR SUSPENSION REAR ARM SHOCK ABSORBER [86843]
RECOIL STARTER [89828]
REED VALVE ASSEMBLY [89824]
SEAT ASSEMBLY [88308]
SERVOMOTOR ASSEMBLY [90461]
SHOCK ABSORBER AND SWAY BAR ASSEMBLY [88301]
SKI AND SPINDLE ASSEMBLY [88305]
SLIDE RAILS AND TRACK ASSEMBLY [88319]
STEERING POST ASSEMBLY [88123]
THROTTLE BODY ASSEMBLY [86672]
TIE ROD ASSEMBLY [88287]
TUNNEL, REAR BUMPER, AND TAILLIGHT ASSEMBLY [88309]
WATER PUMP/WATER MANIFOLD [89827]
VIEW WISH LIST