Greenville, TX
|
Give Us a Call
(903) 454-4440
Toggle navigation
Home
Brands
Manufacturer Models
OEM Promotions
Polaris
Can-Am
E-Z-Go
Honda
Kawasaki
Suzuki
Inventory
All Inventory In Stock
New Inventory In Stock
Used Inventory
Value Your Trade-In
Request a Model
Schedule a Test Ride
Secure Financing
Parts
Parts Department
Parts Finder
Service
Service Department
Request Polaris Service
Warranty & Recall Look-Up
Specials
Financing
About
Our Dealership
Our Team
Reviews
Customer Survey
Employment
Events Calendar
Locations
Location & Hours
Contact
Parts Finder
Home
›
Parts
›
Parts Finder
Search by :
Part / Desc
VIN
Please Select
Arctic Cat
Honda
Kawasaki
Polaris
Suzuki
*Please enter at least 3 characters
SEARCH
Manufacturer
Arctic Cat
Snowmobiles
2008
CROSSFIRE 500 EFI BLACK INTERNATIONAL [S2008CFC36OSB]
VIEW WISH LIST
Select a Section
Show/Hide
A-ARM ASSEMBLY [87873]
AIR INTAKE ASSEMBLY [82240]
AIR SILENCER ASSEMBLY [88131]
BELLY PAN ASSEMBLY [88137]
BELT GUARD ASSEMBLY [89330]
CONSOLE AND SWITCH ASSEMBLY [87827]
COOLING ASSEMBLY [88128]
CRANKCASE ASSEMBLY [93866]
CYLINDER AND HEAD ASSEMBLY [89241]
DRIVE CLUTCH [89939]
DRIVE TRAIN SHAFT AND BRAKE ASSEMBLIES [88135]
DRIVEN CLUTCH [89577]
ELECTRICAL [88139]
ENGINE AND RELATED PARTS [88129]
EXHAUST ASSEMBLY [88130]
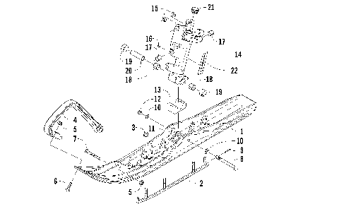
FRONT FRAME AND FOOTREST ASSEMBLY [87883]
FUEL PUMP ASSEMBLY [86408]
GAS TANK ASSEMBLY [87884]
GEARCASE ASSEMBLY [88136]
HANDLEBAR AND CONTROLS [88125]
HEADLIGHT, INSTRUMENTS, AND WIRING ASSEMBLIES [88127]
HOOD AND WINDSHIELD ASSEMBLY [88126]
HYDRAULIC BRAKE CONTROL ASSEMBLY [97037]
IDLER WHEEL ASSEMBLY [86460]
MAGNETO [89578]
OIL PUMP [89245]
OIL TANK ASSEMBLY [87837]
PISTON AND CRANKSHAFT [89243]
REAR SUSPENSION FRONT ARM ASSEMBLY [86785]
REAR SUSPENSION REAR ARM ASSEMBLY [86786]
RECOIL STARTER [89247]
REED VALVE/THROTTLE BODY ASSEMBLY [98224]
SEAT ASSEMBLY [87879]
SHOCK ABSORBER AND SWAY BAR ASSEMBLY [88122]
SKI AND SPINDLE ASSEMBLY [88134]
SLIDE RAILS AND TRACK ASSEMBLY [88140]
STEERING POST ASSEMBLY [88123]
TIE ROD ASSEMBLY [88287]
TUNNEL, REAR BUMPER, AND TAILLIGHT ASSEMBLY [87880]
WATER PUMP AND THERMOSTAT [93010]
A-ARM ASSEMBLY [87873]
AIR INTAKE ASSEMBLY [82240]
AIR SILENCER ASSEMBLY [88131]
BELLY PAN ASSEMBLY [88137]
BELT GUARD ASSEMBLY [89330]
CONSOLE AND SWITCH ASSEMBLY [87827]
COOLING ASSEMBLY [88128]
CRANKCASE ASSEMBLY [93866]
CYLINDER AND HEAD ASSEMBLY [89241]
DRIVE CLUTCH [89939]
DRIVE TRAIN SHAFT AND BRAKE ASSEMBLIES [88135]
DRIVEN CLUTCH [89577]
ELECTRICAL [88139]
ENGINE AND RELATED PARTS [88129]
EXHAUST ASSEMBLY [88130]
FRONT FRAME AND FOOTREST ASSEMBLY [87883]
FUEL PUMP ASSEMBLY [86408]
GAS TANK ASSEMBLY [87884]
GEARCASE ASSEMBLY [88136]
HANDLEBAR AND CONTROLS [88125]
HEADLIGHT, INSTRUMENTS, AND WIRING ASSEMBLIES [88127]
HOOD AND WINDSHIELD ASSEMBLY [88126]
HYDRAULIC BRAKE CONTROL ASSEMBLY [97037]
IDLER WHEEL ASSEMBLY [86460]
MAGNETO [89578]
OIL PUMP [89245]
OIL TANK ASSEMBLY [87837]
PISTON AND CRANKSHAFT [89243]
REAR SUSPENSION FRONT ARM ASSEMBLY [86785]
REAR SUSPENSION REAR ARM ASSEMBLY [86786]
RECOIL STARTER [89247]
REED VALVE/THROTTLE BODY ASSEMBLY [98224]
SEAT ASSEMBLY [87879]
SHOCK ABSORBER AND SWAY BAR ASSEMBLY [88122]
SKI AND SPINDLE ASSEMBLY [88134]
SLIDE RAILS AND TRACK ASSEMBLY [88140]
STEERING POST ASSEMBLY [88123]
TIE ROD ASSEMBLY [88287]
TUNNEL, REAR BUMPER, AND TAILLIGHT ASSEMBLY [87880]
WATER PUMP AND THERMOSTAT [93010]
VIEW WISH LIST