Greenville, TX
|
Give Us a Call
(903) 454-4440
Toggle navigation
Home
Brands
Manufacturer Models
OEM Promotions
Polaris
Can-Am
E-Z-Go
Honda
Kawasaki
Suzuki
Inventory
All Inventory In Stock
New Inventory In Stock
Used Inventory
Value Your Trade-In
Request a Model
Schedule a Test Ride
Secure Financing
Parts
Parts Department
Parts Finder
Service
Service Department
Request Polaris Service
Warranty & Recall Look-Up
Specials
Financing
About
Our Dealership
Our Team
Reviews
Customer Survey
Employment
Events Calendar
Locations
Location & Hours
Contact
Parts Finder
Home
›
Parts
›
Parts Finder
Search by :
Part / Desc
VIN
Please Select
Arctic Cat
Honda
Kawasaki
Polaris
Suzuki
*Please enter at least 3 characters
SEARCH
Manufacturer
Arctic Cat
Snowmobiles
2008
BEARCAT 570 LONG TRACK CANADIAN [S2008BCDLTNAR]
VIEW WISH LIST
Select a Section
Show/Hide
A-ARM ASSEMBLY [86194]
AIR SILENCER ASSEMBLY [87652]
BATTERY, SOLENOID, AND CABLES [86265]
BELLY PAN AND FRONT BUMPER ASSEMBLY [87649]
BELT GUARD ASSEMBLY [81794]
CARBURETOR [86256]
CARBURETOR AND FUEL PUMP ASSEMBLY [88732]
CONSOLE AND SWITCH ASSEMBLY [83506]
CRANKCASE AND CYLINDER [87653]
CYLINDER COWLING ASSEMBLY [89142]
DRIVE CLUTCH [86320]
DRIVE TRAIN SHAFT AND BRAKE ASSEMBLIES [86315]
DRIVE/REVERSE DROPCASE ASSEMBLY [87644]
DRIVEN CLUTCH [86321]
DROPCASE AND CHAIN TENSION ASSEMBLY [84102]
ELECTRICAL [87655]
ENGINE AND RELATED PARTS [87651]
EXHAUST ASSEMBLY [86309]
FLEX-DRIVE STARTER MOTOR ASSEMBLY [86248]
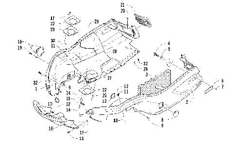
FRONT FRAME AND FOOTREST ASSEMBLY [87648]
FRONT SUSPENSION SHOCK ABSORBER ASSEMBLY [87643]
GAS TANK AND SEAT ASSEMBLY [87733]
HANDLEBAR AND CONTROLS [86312]
HEADLIGHT, INSTRUMENTS, AND WIRING ASSEMBLIES [87637]
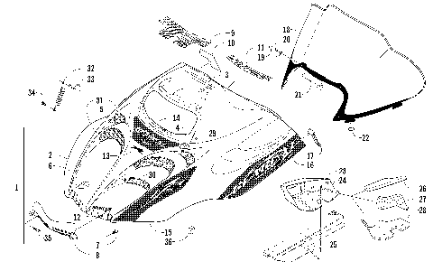
HOOD AND WINDSHIELD ASSEMBLY [87636]
HYDRAULIC BRAKE CONTROL ASSEMBLY [81929]
IDLER WHEEL ASSEMBLY [87647]
INTAKE ASSEMBLY [89139]
MAGNETO [89144]
OIL PUMP [89141]
OIL TANK ASSEMBLY [86186]
PISTON AND CRANKSHAFT [89138]
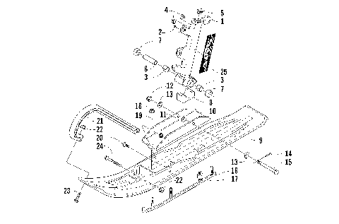
RACK, BACKREST, AND TAILLIGHT ASSEMBLY [87638]
REAR SUSPENSION FRONT ARM ASSEMBLY [86193]
REAR SUSPENSION REAR ARM ASSEMBLY [86317]
RECOIL STARTER [87654]
REED VALVE ASSEMBLY [89140]
REVERSE SHIFT LEVER ASSEMBLY [87645]
SKI AND SPINDLE ASSEMBLY [87635]
SLIDE RAIL AND TRACK ASSEMBLY [87646]
STEERING POST ASSEMBLY [86313]
TIE ROD ASSEMBLY [86225]
TUNNEL, REAR BUMPER, AND HITCH ASSEMBLY [87639]
A-ARM ASSEMBLY [86194]
AIR SILENCER ASSEMBLY [87652]
BATTERY, SOLENOID, AND CABLES [86265]
BELLY PAN AND FRONT BUMPER ASSEMBLY [87649]
BELT GUARD ASSEMBLY [81794]
CARBURETOR [86256]
CARBURETOR AND FUEL PUMP ASSEMBLY [88732]
CONSOLE AND SWITCH ASSEMBLY [83506]
CRANKCASE AND CYLINDER [87653]
CYLINDER COWLING ASSEMBLY [89142]
DRIVE CLUTCH [86320]
DRIVE TRAIN SHAFT AND BRAKE ASSEMBLIES [86315]
DRIVE/REVERSE DROPCASE ASSEMBLY [87644]
DRIVEN CLUTCH [86321]
DROPCASE AND CHAIN TENSION ASSEMBLY [84102]
ELECTRICAL [87655]
ENGINE AND RELATED PARTS [87651]
EXHAUST ASSEMBLY [86309]
FLEX-DRIVE STARTER MOTOR ASSEMBLY [86248]
FRONT FRAME AND FOOTREST ASSEMBLY [87648]
FRONT SUSPENSION SHOCK ABSORBER ASSEMBLY [87643]
GAS TANK AND SEAT ASSEMBLY [87733]
HANDLEBAR AND CONTROLS [86312]
HEADLIGHT, INSTRUMENTS, AND WIRING ASSEMBLIES [87637]
HOOD AND WINDSHIELD ASSEMBLY [87636]
HYDRAULIC BRAKE CONTROL ASSEMBLY [81929]
IDLER WHEEL ASSEMBLY [87647]
INTAKE ASSEMBLY [89139]
MAGNETO [89144]
OIL PUMP [89141]
OIL TANK ASSEMBLY [86186]
PISTON AND CRANKSHAFT [89138]
RACK, BACKREST, AND TAILLIGHT ASSEMBLY [87638]
REAR SUSPENSION FRONT ARM ASSEMBLY [86193]
REAR SUSPENSION REAR ARM ASSEMBLY [86317]
RECOIL STARTER [87654]
REED VALVE ASSEMBLY [89140]
REVERSE SHIFT LEVER ASSEMBLY [87645]
SKI AND SPINDLE ASSEMBLY [87635]
SLIDE RAIL AND TRACK ASSEMBLY [87646]
STEERING POST ASSEMBLY [86313]
TIE ROD ASSEMBLY [86225]
TUNNEL, REAR BUMPER, AND HITCH ASSEMBLY [87639]
VIEW WISH LIST