Greenville, TX
|
Give Us a Call
(903) 454-4440
Toggle navigation
Home
Brands
Manufacturer Models
OEM Promotions
Polaris
Can-Am
E-Z-Go
Honda
Kawasaki
Suzuki
Inventory
All Inventory In Stock
New Inventory In Stock
Used Inventory
Value Your Trade-In
Request a Model
Schedule a Test Ride
Secure Financing
Parts
Parts Department
Parts Finder
Service
Service Department
Request Polaris Service
Warranty & Recall Look-Up
Specials
Financing
About
Our Dealership
Our Team
Reviews
Customer Survey
Employment
Events Calendar
Locations
Location & Hours
Contact
Parts Finder
Home
›
Parts
›
Parts Finder
Search by :
Part / Desc
VIN
Please Select
Arctic Cat
Honda
Kawasaki
Polaris
Suzuki
*Please enter at least 3 characters
SEARCH
Manufacturer
Arctic Cat
Snowmobiles
2007
Z 570 ORANGE LX [S2007ZADLXUSO]
VIEW WISH LIST
Select a Section
Show/Hide
A-ARM ASSEMBLY [86194]
AIR SILENCER ASSEMBLY [86243]
BATTERY, SOLENOID, AND CABLES [86265]
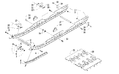
BELLY PAN AND FRONT BUMPER ASSEMBLY [86240]
BELT GUARD ASSEMBLY [86180]
CARBURETOR [86256]
CARBURETOR AND FUEL PUMP ASSEMBLY [86255]
CONSOLE AND SWITCH ASSEMBLY [83506]
CRANKCASE AND CYLINDER [87653]
CYLINDER COWLING ASSEMBLY [87413]
DRIVE CLUTCH [86191]
DRIVE TRAIN SHAFT AND BRAKE ASSEMBLIES [86236]
DRIVE/REVERSE DROPCASE ASSEMBLY [86289]
DRIVEN CLUTCH [86250]
DROPCASE AND CHAIN TENSION ASSEMBLY [85438]
ELECTRICAL [86264]
ENGINE AND RELATED PARTS [86287]
EXHAUST ASSEMBLY [86242]
FLEX-DRIVE STARTER MOTOR ASSEMBLY [86248]
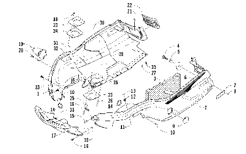
FRONT FRAME AND FOOTREST ASSEMBLY [86288]
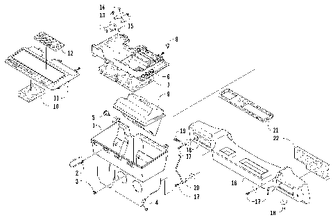
GAS TANK, SEAT, AND TAILLIGHT ASSEMBLY [86249]
HANDLEBAR AND CONTROLS [86251]
HEADLIGHT, INSTRUMENTS, AND WIRING ASSEMBLIES [86291]
HOOD AND WINDSHIELD ASSEMBLY [86296]
HYDRAULIC BRAKE CONTROL ASSEMBLY [86252]
IDLER WHEEL ASSEMBLY [86215]
INTAKE ASSEMBLY [89139]
MAGNETO [89144]
OIL PUMP [89141]
OIL TANK ASSEMBLY [86186]
PISTON AND CRANKSHAFT [89138]
REAR SUSPENSION FRONT ARM ASSEMBLY [83869]
REAR SUSPENSION REAR ARM ASSEMBLY [86216]
RECOIL STARTER [86262]
REED VALVE ASSEMBLY [89140]
REVERSE SHIFT LEVER ASSEMBLY [86198]
SHOCK ABSORBER AND SWAY BAR ASSEMBLY [86235]
SKI AND SPINDLE ASSEMBLY [86213]
SLIDE RAIL AND TRACK ASSEMBLY [86226]
STEERING POST ASSEMBLY [86232]
TIE ROD ASSEMBLY [86225]
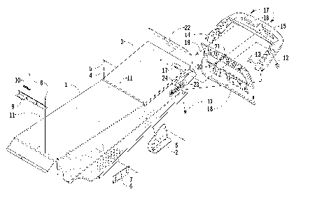
TUNNEL AND REAR BUMPER [86297]
A-ARM ASSEMBLY [86194]
AIR SILENCER ASSEMBLY [86243]
BATTERY, SOLENOID, AND CABLES [86265]
BELLY PAN AND FRONT BUMPER ASSEMBLY [86240]
BELT GUARD ASSEMBLY [86180]
CARBURETOR [86256]
CARBURETOR AND FUEL PUMP ASSEMBLY [86255]
CONSOLE AND SWITCH ASSEMBLY [83506]
CRANKCASE AND CYLINDER [87653]
CYLINDER COWLING ASSEMBLY [87413]
DRIVE CLUTCH [86191]
DRIVE TRAIN SHAFT AND BRAKE ASSEMBLIES [86236]
DRIVE/REVERSE DROPCASE ASSEMBLY [86289]
DRIVEN CLUTCH [86250]
DROPCASE AND CHAIN TENSION ASSEMBLY [85438]
ELECTRICAL [86264]
ENGINE AND RELATED PARTS [86287]
EXHAUST ASSEMBLY [86242]
FLEX-DRIVE STARTER MOTOR ASSEMBLY [86248]
FRONT FRAME AND FOOTREST ASSEMBLY [86288]
GAS TANK, SEAT, AND TAILLIGHT ASSEMBLY [86249]
HANDLEBAR AND CONTROLS [86251]
HEADLIGHT, INSTRUMENTS, AND WIRING ASSEMBLIES [86291]
HOOD AND WINDSHIELD ASSEMBLY [86296]
HYDRAULIC BRAKE CONTROL ASSEMBLY [86252]
IDLER WHEEL ASSEMBLY [86215]
INTAKE ASSEMBLY [89139]
MAGNETO [89144]
OIL PUMP [89141]
OIL TANK ASSEMBLY [86186]
PISTON AND CRANKSHAFT [89138]
REAR SUSPENSION FRONT ARM ASSEMBLY [83869]
REAR SUSPENSION REAR ARM ASSEMBLY [86216]
RECOIL STARTER [86262]
REED VALVE ASSEMBLY [89140]
REVERSE SHIFT LEVER ASSEMBLY [86198]
SHOCK ABSORBER AND SWAY BAR ASSEMBLY [86235]
SKI AND SPINDLE ASSEMBLY [86213]
SLIDE RAIL AND TRACK ASSEMBLY [86226]
STEERING POST ASSEMBLY [86232]
TIE ROD ASSEMBLY [86225]
TUNNEL AND REAR BUMPER [86297]
VIEW WISH LIST