Greenville, TX
|
Give Us a Call
(903) 454-4440
Toggle navigation
Home
Brands
Manufacturer Models
OEM Promotions
Polaris
Can-Am
E-Z-Go
Honda
Kawasaki
Suzuki
Inventory
All Inventory In Stock
New Inventory In Stock
Used Inventory
Value Your Trade-In
Request a Model
Schedule a Test Ride
Secure Financing
Parts
Parts Department
Parts Finder
Service
Service Department
Request Polaris Service
Warranty & Recall Look-Up
Specials
Financing
About
Our Dealership
Our Team
Reviews
Customer Survey
Employment
Events Calendar
Locations
Location & Hours
Contact
Parts Finder
Home
›
Parts
›
Parts Finder
Search by :
Part / Desc
VIN
Please Select
Arctic Cat
Honda
Kawasaki
Polaris
Suzuki
*Please enter at least 3 characters
SEARCH
Manufacturer
Arctic Cat
Snowmobiles
2007
Z 370 ORANGE [S2007ZAAFCUSO]
VIEW WISH LIST
Select a Section
Show/Hide
A-ARM ASSEMBLY [86194]
AIR SILENCER ASSEMBLY [86185]
BELLY PAN AND FRONT BUMPER ASSEMBLY [86219]
BELT GUARD ASSEMBLY [86180]
CARBURETOR [86201]
CARBURETOR AND FUEL PUMP ASSEMBLY [86184]
CONSOLE AND SWITCH ASSEMBLY [77897]
COOLING FAN [86207]
CRANKCASE AND CYLINDER [86202]
CYLINDER COWLING [86208]
DRIVE CLUTCH [86191]
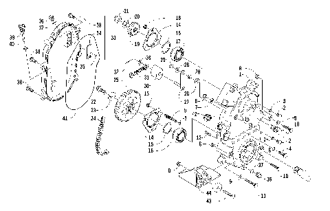
DRIVE TRAIN SHAFT AND BRAKE ASSEMBLIES [86174]
DRIVE/DROPCASE ASSEMBLY [86214]
DRIVE/REVERSE DROPCASE ASSEMBLY (Optional) [55816]
DRIVEN CLUTCH [86187]
DROPCASE CHAIN TENSION ASSEMBLY [77026]
ELECTRICAL [81809]
ENGINE AND RELATED PARTS [87804]
EXHAUST ASSEMBLY [77903]
FAN HOUSING [86206]
FRONT FRAME AND FOOTREST ASSEMBLY [92896]
GAS TANK, SEAT, AND TAILLIGHT ASSEMBLY [86228]
HANDLEBAR AND CONTROLS [81784]
HEADLIGHT, INSTRUMENTS, AND WIRING ASSEMBLIES [86218]
HOOD AND WINDSHIELD ASSEMBLY [86217]
IDLER WHEEL ASSEMBLY [86215]
INTAKE ASSEMBLY [86204]
MAGNETO [86210]
OIL PUMP [86205]
OIL TANK ASSEMBLY [86186]
PISTON AND CRANKSHAFT [86203]
REAR SUSPENSION FRONT ARM ASSEMBLY [83869]
REAR SUSPENSION REAR ARM ASSEMBLY [86216]
RECOIL STARTER [86209]
REVERSE SHIFT LEVER ASSEMBLY (OPTIONAL) [77450]
SHOCK ABSORBER ASSEMBLY [86195]
SKI AND SPINDLE ASSEMBLY [86213]
SLIDE RAIL AND TRACK ASSEMBLY [86226]
STEERING POST ASSEMBLY [86232]
TIE ROD ASSEMBLY [86225]
TUNNEL AND REAR BUMPER [86220]
A-ARM ASSEMBLY [86194]
AIR SILENCER ASSEMBLY [86185]
BELLY PAN AND FRONT BUMPER ASSEMBLY [86219]
BELT GUARD ASSEMBLY [86180]
CARBURETOR [86201]
CARBURETOR AND FUEL PUMP ASSEMBLY [86184]
CONSOLE AND SWITCH ASSEMBLY [77897]
COOLING FAN [86207]
CRANKCASE AND CYLINDER [86202]
CYLINDER COWLING [86208]
DRIVE CLUTCH [86191]
DRIVE TRAIN SHAFT AND BRAKE ASSEMBLIES [86174]
DRIVE/DROPCASE ASSEMBLY [86214]
DRIVE/REVERSE DROPCASE ASSEMBLY (Optional) [55816]
DRIVEN CLUTCH [86187]
DROPCASE CHAIN TENSION ASSEMBLY [77026]
ELECTRICAL [81809]
ENGINE AND RELATED PARTS [87804]
EXHAUST ASSEMBLY [77903]
FAN HOUSING [86206]
FRONT FRAME AND FOOTREST ASSEMBLY [92896]
GAS TANK, SEAT, AND TAILLIGHT ASSEMBLY [86228]
HANDLEBAR AND CONTROLS [81784]
HEADLIGHT, INSTRUMENTS, AND WIRING ASSEMBLIES [86218]
HOOD AND WINDSHIELD ASSEMBLY [86217]
IDLER WHEEL ASSEMBLY [86215]
INTAKE ASSEMBLY [86204]
MAGNETO [86210]
OIL PUMP [86205]
OIL TANK ASSEMBLY [86186]
PISTON AND CRANKSHAFT [86203]
REAR SUSPENSION FRONT ARM ASSEMBLY [83869]
REAR SUSPENSION REAR ARM ASSEMBLY [86216]
RECOIL STARTER [86209]
REVERSE SHIFT LEVER ASSEMBLY (OPTIONAL) [77450]
SHOCK ABSORBER ASSEMBLY [86195]
SKI AND SPINDLE ASSEMBLY [86213]
SLIDE RAIL AND TRACK ASSEMBLY [86226]
STEERING POST ASSEMBLY [86232]
TIE ROD ASSEMBLY [86225]
TUNNEL AND REAR BUMPER [86220]
VIEW WISH LIST