Greenville, TX
|
Give Us a Call
(903) 454-4440
Toggle navigation
Home
Brands
Manufacturer Models
OEM Promotions
Polaris
Can-Am
E-Z-Go
Honda
Kawasaki
Suzuki
Inventory
All Inventory In Stock
New Inventory In Stock
Used Inventory
Value Your Trade-In
Request a Model
Schedule a Test Ride
Secure Financing
Parts
Parts Department
Parts Finder
Service
Service Department
Request Polaris Service
Warranty & Recall Look-Up
Specials
Financing
About
Our Dealership
Our Team
Reviews
Customer Survey
Employment
Events Calendar
Locations
Location & Hours
Contact
Parts Finder
Home
›
Parts
›
Parts Finder
Search by :
Part / Desc
VIN
Please Select
Arctic Cat
Honda
Kawasaki
Polaris
Suzuki
*Please enter at least 3 characters
SEARCH
Manufacturer
Arctic Cat
Snowmobiles
2007
T660 TURBO TOURING BLACK [S2007ACFTTUSB]
VIEW WISH LIST
Select a Section
Show/Hide
A-ARM ASSEMBLY [86020]
AIR SILENCER ASSEMBLY [86094]
ALTERNATOR ASSEMBLY [86044]
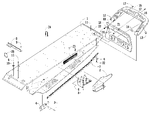
BACKREST, RACK, AND TAILLIGHT ASSEMBLY [86152]
BATTERY ASSEMBLY [82816]
BELLY PAN AND FRONT BUMPER ASSEMBLY [86104]
BELT GUARD ASSEMBLY [86105]
CAM CHAIN ASSEMBLY [86035]
CAMSHAFT/VALVE ASSEMBLY [86111]
CONSOLE AND SWITCH ASSEMBLY [86027]
COOLING ASSEMBLY [86141]
CRANKSHAFT ASSEMBLY [82827]
CYLINDER BLOCK/BASE ASSEMBLY [86110]
CYLINDER HEAD ASSEMBLY [86109]
DELIVERY PIPE ASSEMBLY [86116]
DRIVE CLUTCH [86108]
DRIVE TRAIN SHAFT AND BRAKE ASSEMBLIES [86137]
DRIVE/REVERSE DROPCASE ASSEMBLY [86101]
DRIVEN CLUTCH [86095]
DROPCASE AND CHAIN TENSION ASSEMBLY [86150]
ELECTRICAL [86117]
ENGINE AND RELATED PARTS [86093]
EXHAUST ASSEMBLY [86118]
EXHAUST MANIFOLD ASSEMBLY [87779]
FRONT FRAME AND FOOTREST ASSEMBLY [85191]
FUEL PUMP ASSEMBLY [86091]
GAS TANK AND SEAT ASSEMBLY [86139]
GASKET SET [82790]
HANDLEBAR AND CONTROLS [86100]
HEADLIGHT, INSTRUMENTS, AND WIRING ASSEMBLIES [85157]
HOOD AND WINDSHIELD ASSEMBLY [86155]
HYDRAULIC BRAKE ASSEMBLY [84970]
IDLER WHEEL ASSEMBLY [86048]
INTAKE MANIFOLD ASSEMBLY [86119]
INTERCOOLER ASSEMBLY [86114]
OIL PAN ASSEMBLY [86034]
REAR SUSPENSION FRONT ARM ASSEMBLY [86154]
REAR SUSPENSION REAR ARM ASSEMBLY [86049]
REVERSE SHIFT LEVER ASSEMBLY [86122]
SHOCK ABSORBER AND SWAY BAR ASSEMBLY [86149]
SKI AND SPINDLE ASSEMBLY [86085]
SLIDE RAIL AND TRACK ASSEMBLY [86151]
STARTER MOTOR ASSEMBLY [87782]
STEERING POST ASSEMBLY [86086]
THROTTLE BODY ASSEMBLY [86112]
TIE ROD ASSEMBLY [86022]
TIMING CHAIN COVER/OIL PUMP ASSEMBLY [86040]
TUNNEL AND REAR BUMPER [86140]
TURBOCHARGER ASSEMBLY [86113]
WATER PUMP AND THERMOSTAT ASSEMBLIES [86120]
A-ARM ASSEMBLY [86020]
AIR SILENCER ASSEMBLY [86094]
ALTERNATOR ASSEMBLY [86044]
BACKREST, RACK, AND TAILLIGHT ASSEMBLY [86152]
BATTERY ASSEMBLY [82816]
BELLY PAN AND FRONT BUMPER ASSEMBLY [86104]
BELT GUARD ASSEMBLY [86105]
CAM CHAIN ASSEMBLY [86035]
CAMSHAFT/VALVE ASSEMBLY [86111]
CONSOLE AND SWITCH ASSEMBLY [86027]
COOLING ASSEMBLY [86141]
CRANKSHAFT ASSEMBLY [82827]
CYLINDER BLOCK/BASE ASSEMBLY [86110]
CYLINDER HEAD ASSEMBLY [86109]
DELIVERY PIPE ASSEMBLY [86116]
DRIVE CLUTCH [86108]
DRIVE TRAIN SHAFT AND BRAKE ASSEMBLIES [86137]
DRIVE/REVERSE DROPCASE ASSEMBLY [86101]
DRIVEN CLUTCH [86095]
DROPCASE AND CHAIN TENSION ASSEMBLY [86150]
ELECTRICAL [86117]
ENGINE AND RELATED PARTS [86093]
EXHAUST ASSEMBLY [86118]
EXHAUST MANIFOLD ASSEMBLY [87779]
FRONT FRAME AND FOOTREST ASSEMBLY [85191]
FUEL PUMP ASSEMBLY [86091]
GAS TANK AND SEAT ASSEMBLY [86139]
GASKET SET [82790]
HANDLEBAR AND CONTROLS [86100]
HEADLIGHT, INSTRUMENTS, AND WIRING ASSEMBLIES [85157]
HOOD AND WINDSHIELD ASSEMBLY [86155]
HYDRAULIC BRAKE ASSEMBLY [84970]
IDLER WHEEL ASSEMBLY [86048]
INTAKE MANIFOLD ASSEMBLY [86119]
INTERCOOLER ASSEMBLY [86114]
OIL PAN ASSEMBLY [86034]
REAR SUSPENSION FRONT ARM ASSEMBLY [86154]
REAR SUSPENSION REAR ARM ASSEMBLY [86049]
REVERSE SHIFT LEVER ASSEMBLY [86122]
SHOCK ABSORBER AND SWAY BAR ASSEMBLY [86149]
SKI AND SPINDLE ASSEMBLY [86085]
SLIDE RAIL AND TRACK ASSEMBLY [86151]
STARTER MOTOR ASSEMBLY [87782]
STEERING POST ASSEMBLY [86086]
THROTTLE BODY ASSEMBLY [86112]
TIE ROD ASSEMBLY [86022]
TIMING CHAIN COVER/OIL PUMP ASSEMBLY [86040]
TUNNEL AND REAR BUMPER [86140]
TURBOCHARGER ASSEMBLY [86113]
WATER PUMP AND THERMOSTAT ASSEMBLIES [86120]
VIEW WISH LIST