Greenville, TX
|
Give Us a Call
(903) 454-4440
Toggle navigation
Home
Brands
Manufacturer Models
OEM Promotions
Polaris
Can-Am
E-Z-Go
Honda
Kawasaki
Suzuki
Inventory
All Inventory In Stock
New Inventory In Stock
Used Inventory
Value Your Trade-In
Request a Model
Schedule a Test Ride
Secure Financing
Parts
Parts Department
Parts Finder
Service
Service Department
Request Polaris Service
Warranty & Recall Look-Up
Specials
Financing
About
Our Dealership
Our Team
Reviews
Customer Survey
Employment
Events Calendar
Locations
Location & Hours
Contact
Parts Finder
Home
›
Parts
›
Parts Finder
Search by :
Part / Desc
VIN
Please Select
Arctic Cat
Honda
Kawasaki
Polaris
Suzuki
*Please enter at least 3 characters
SEARCH
Manufacturer
Arctic Cat
Snowmobiles
2007
PANTHER 660 TOURING INTERNATIONAL [S2007PAFTOOSB]
VIEW WISH LIST
Select a Section
Show/Hide
A-ARM ASSEMBLY [86020]
AIR SILENCER ASSEMBLY [86016]
ALTERNATOR ASSEMBLY [86044]
BATTERY ASSEMBLY [86015]
BELLY PAN AND FRONT BUMPER ASSEMBLY [86028]
BELT GUARD ASSEMBLY [86029]
CAM CHAIN ASSEMBLY [86035]
CAMSHAFT/VALVE ASSEMBLY [81633]
CONSOLE AND SWITCH ASSEMBLY [86027]
COOLING ASSEMBLY [86058]
CRANKSHAFT ASSEMBLY [81632]
CYLINDER BLOCK/BASE ASSEMBLY [86033]
CYLINDER HEAD ASSEMBLY [86032]
DELIVERY PIPE ASSEMBLY [86039]
DRIVE CLUTCH [88494]
DRIVE TRAIN SHAFT AND BRAKE ASSEMBLIES [86006]
DRIVE/REVERSE DROPCASE ASSEMBLY [87706]
DRIVEN CLUTCH [86018]
DROPCASE AND CHAIN TENSION ASSEMBLY [86024]
ELECTRICAL [87712]
ENGINE AND RELATED PARTS [86014]
EXHAUST ASSEMBLY [80913]
EXHAUST MANIFOLD ASSEMBLY [87710]
FRONT FRAME AND FOOTREST ASSEMBLY [86009]
FUEL PUMP ASSEMBLY [86012]
GAS TANK, SEAT, AND TAILLIGHT ASSEMBLY [86051]
GASKET SET [81644]
HANDLEBAR AND CONTROLS [86005]
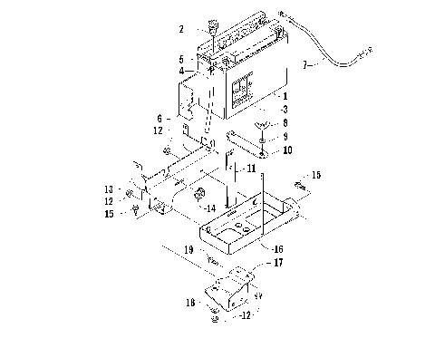
HEADLIGHT, INSTRUMENTS, AND WIRING ASSEMBLIES [86063]
HITCH ASSEMBLY [86065]
HOOD AND WINDSHIELD ASSEMBLY [86050]
HYDRAULIC BRAKE ASSEMBLY [84970]
IDLER WHEEL ASSEMBLY [86048]
INTAKE MANIFOLD ASSEMBLY [86036]
OIL PAN ASSEMBLY [86034]
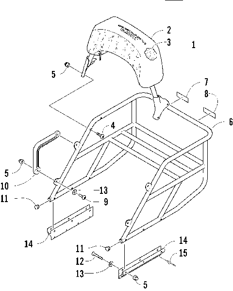
RACK AND BACKREST ASSEMBLY [86052]
REAR SUSPENSION FRONT ARM ASSEMBLY [86061]
REAR SUSPENSION REAR ARM ASSEMBLY [86062]
REVERSE SHIFT LEVER ASSEMBLY [84409]
SHOCK ABSORBER ASSEMBLY [86021]
SKI AND SPINDLE ASSEMBLY [86056]
SLIDE RAIL AND TRACK ASSEMBLY [86060]
STARTER MOTOR ASSEMBLY [87782]
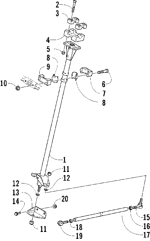
STEERING POST ASSEMBLY [86004]
THROTTLE BODY ASSEMBLY [86037]
TIE ROD ASSEMBLY [86022]
TIMING CHAIN COVER/OIL PUMP ASSEMBLY [86040]
TUNNEL AND REAR BUMPER [86064]
WATER PUMP AND THERMOSTAT ASSEMBLIES [86041]
A-ARM ASSEMBLY [86020]
AIR SILENCER ASSEMBLY [86016]
ALTERNATOR ASSEMBLY [86044]
BATTERY ASSEMBLY [86015]
BELLY PAN AND FRONT BUMPER ASSEMBLY [86028]
BELT GUARD ASSEMBLY [86029]
CAM CHAIN ASSEMBLY [86035]
CAMSHAFT/VALVE ASSEMBLY [81633]
CONSOLE AND SWITCH ASSEMBLY [86027]
COOLING ASSEMBLY [86058]
CRANKSHAFT ASSEMBLY [81632]
CYLINDER BLOCK/BASE ASSEMBLY [86033]
CYLINDER HEAD ASSEMBLY [86032]
DELIVERY PIPE ASSEMBLY [86039]
DRIVE CLUTCH [88494]
DRIVE TRAIN SHAFT AND BRAKE ASSEMBLIES [86006]
DRIVE/REVERSE DROPCASE ASSEMBLY [87706]
DRIVEN CLUTCH [86018]
DROPCASE AND CHAIN TENSION ASSEMBLY [86024]
ELECTRICAL [87712]
ENGINE AND RELATED PARTS [86014]
EXHAUST ASSEMBLY [80913]
EXHAUST MANIFOLD ASSEMBLY [87710]
FRONT FRAME AND FOOTREST ASSEMBLY [86009]
FUEL PUMP ASSEMBLY [86012]
GAS TANK, SEAT, AND TAILLIGHT ASSEMBLY [86051]
GASKET SET [81644]
HANDLEBAR AND CONTROLS [86005]
HEADLIGHT, INSTRUMENTS, AND WIRING ASSEMBLIES [86063]
HITCH ASSEMBLY [86065]
HOOD AND WINDSHIELD ASSEMBLY [86050]
HYDRAULIC BRAKE ASSEMBLY [84970]
IDLER WHEEL ASSEMBLY [86048]
INTAKE MANIFOLD ASSEMBLY [86036]
OIL PAN ASSEMBLY [86034]
RACK AND BACKREST ASSEMBLY [86052]
REAR SUSPENSION FRONT ARM ASSEMBLY [86061]
REAR SUSPENSION REAR ARM ASSEMBLY [86062]
REVERSE SHIFT LEVER ASSEMBLY [84409]
SHOCK ABSORBER ASSEMBLY [86021]
SKI AND SPINDLE ASSEMBLY [86056]
SLIDE RAIL AND TRACK ASSEMBLY [86060]
STARTER MOTOR ASSEMBLY [87782]
STEERING POST ASSEMBLY [86004]
THROTTLE BODY ASSEMBLY [86037]
TIE ROD ASSEMBLY [86022]
TIMING CHAIN COVER/OIL PUMP ASSEMBLY [86040]
TUNNEL AND REAR BUMPER [86064]
WATER PUMP AND THERMOSTAT ASSEMBLIES [86041]
VIEW WISH LIST