Greenville, TX
|
Give Us a Call
(903) 454-4440
Toggle navigation
Home
Brands
Manufacturer Models
OEM Promotions
Polaris
Can-Am
E-Z-Go
Honda
Kawasaki
Suzuki
Inventory
All Inventory In Stock
New Inventory In Stock
Used Inventory
Value Your Trade-In
Request a Model
Schedule a Test Ride
Secure Financing
Parts
Parts Department
Parts Finder
Service
Service Department
Request Polaris Service
Warranty & Recall Look-Up
Specials
Financing
About
Our Dealership
Our Team
Reviews
Customer Survey
Employment
Events Calendar
Locations
Location & Hours
Contact
Parts Finder
Home
›
Parts
›
Parts Finder
Search by :
Part / Desc
VIN
Please Select
Arctic Cat
Honda
Kawasaki
Polaris
Suzuki
*Please enter at least 3 characters
SEARCH
Manufacturer
Arctic Cat
Snowmobiles
2007
M1000 EFI 162 BLACK [S2007M1LEKUSB]
VIEW WISH LIST
Select a Section
Show/Hide
A-ARM ASSEMBLY [87812]
AIR INTAKE ASSEMBLY [86812]
AIR SILENCER ASSEMBLY [87309]
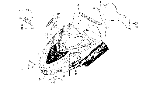
BELLY PAN ASSEMBLY [87048]
BELT GUARD ASSEMBLY [89330]
CONSOLE AND SWITCH ASSEMBLY [86406]
COOLING ASSEMBLY [87046]
CRANKCASE ASSEMBLY [88167]
CYLINDER AND HEAD ASSEMBLY [86927]
DRIVE CLUTCH [86929]
DRIVE TRAIN SHAFT AND BRAKE ASSEMBLIES [86926]
DRIVEN CLUTCH [88433]
ELECTRICAL [88316]
ENGINE AND RELATED PARTS [86913]
EXHAUST ASSEMBLY [86914]
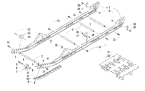
FRONT FRAME AND FOOTREST ASSEMBLY [87051]
FRONT SUSPENSION SHOCK ABSORBER [82259]
FRONT SUSPENSION SHOCK ABSORBER ASSEMBLY [83422]
FUEL PUMP ASSEMBLY [86408]
GAS TANK ASSEMBLY [86911]
GEARCASE ASSEMBLY [86833]
HANDLEBAR AND CONTROLS [86925]
HEADLIGHT, INSTRUMENTS, AND WIRING ASSEMBLIES [87045]
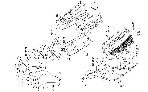
HOOD AND WINDSHIELD ASSEMBLY [87047]
HYDRAULIC BRAKE CONTROL ASSEMBLY [87294]
IDLER WHEEL ASSEMBLY [86894]
MAGNETO [89351]
OIL PUMP [88169]
OIL TANK ASSEMBLY [86411]
PISTON AND CRANKSHAFT [89345]
REAR SUSPENSION FRONT ARM ASSEMBLY [86432]
REAR SUSPENSION FRONT ARM SHOCK ABSORBER [86433]
REAR SUSPENSION REAR ARM ASSEMBLY [86878]
REAR SUSPENSION REAR ARM SHOCK ABSORBER [86858]
RECOIL STARTER [89350]
REED VALVE ASSEMBLY [89346]
SEAT ASSEMBLY [86581]
SERVOMOTOR ASSEMBLY [90461]
SKI AND SPINDLE ASSEMBLY [86576]
SLIDE RAILS AND TRACK ASSEMBLY [86932]
STEERING POST ASSEMBLY [86781]
THROTTLE BODY ASSEMBLY [86715]
TIE ROD ASSEMBLY [88079]
TUNNEL, REAR BUMPER, AND TAILLIGHT ASSEMBLY [86883]
WATER PUMP AND THERMOSTAT [92916]
A-ARM ASSEMBLY [87812]
AIR INTAKE ASSEMBLY [86812]
AIR SILENCER ASSEMBLY [87309]
BELLY PAN ASSEMBLY [87048]
BELT GUARD ASSEMBLY [89330]
CONSOLE AND SWITCH ASSEMBLY [86406]
COOLING ASSEMBLY [87046]
CRANKCASE ASSEMBLY [88167]
CYLINDER AND HEAD ASSEMBLY [86927]
DRIVE CLUTCH [86929]
DRIVE TRAIN SHAFT AND BRAKE ASSEMBLIES [86926]
DRIVEN CLUTCH [88433]
ELECTRICAL [88316]
ENGINE AND RELATED PARTS [86913]
EXHAUST ASSEMBLY [86914]
FRONT FRAME AND FOOTREST ASSEMBLY [87051]
FRONT SUSPENSION SHOCK ABSORBER [82259]
FRONT SUSPENSION SHOCK ABSORBER ASSEMBLY [83422]
FUEL PUMP ASSEMBLY [86408]
GAS TANK ASSEMBLY [86911]
GEARCASE ASSEMBLY [86833]
HANDLEBAR AND CONTROLS [86925]
HEADLIGHT, INSTRUMENTS, AND WIRING ASSEMBLIES [87045]
HOOD AND WINDSHIELD ASSEMBLY [87047]
HYDRAULIC BRAKE CONTROL ASSEMBLY [87294]
IDLER WHEEL ASSEMBLY [86894]
MAGNETO [89351]
OIL PUMP [88169]
OIL TANK ASSEMBLY [86411]
PISTON AND CRANKSHAFT [89345]
REAR SUSPENSION FRONT ARM ASSEMBLY [86432]
REAR SUSPENSION FRONT ARM SHOCK ABSORBER [86433]
REAR SUSPENSION REAR ARM ASSEMBLY [86878]
REAR SUSPENSION REAR ARM SHOCK ABSORBER [86858]
RECOIL STARTER [89350]
REED VALVE ASSEMBLY [89346]
SEAT ASSEMBLY [86581]
SERVOMOTOR ASSEMBLY [90461]
SKI AND SPINDLE ASSEMBLY [86576]
SLIDE RAILS AND TRACK ASSEMBLY [86932]
STEERING POST ASSEMBLY [86781]
THROTTLE BODY ASSEMBLY [86715]
TIE ROD ASSEMBLY [88079]
TUNNEL, REAR BUMPER, AND TAILLIGHT ASSEMBLY [86883]
WATER PUMP AND THERMOSTAT [92916]
VIEW WISH LIST