Greenville, TX
|
Give Us a Call
(903) 454-4440
Toggle navigation
Home
Brands
Manufacturer Models
OEM Promotions
Polaris
Can-Am
E-Z-Go
Honda
Kawasaki
Suzuki
Inventory
All Inventory In Stock
New Inventory In Stock
Used Inventory
Value Your Trade-In
Request a Model
Schedule a Test Ride
Secure Financing
Parts
Parts Department
Parts Finder
Service
Service Department
Request Polaris Service
Warranty & Recall Look-Up
Specials
Financing
About
Our Dealership
Our Team
Reviews
Customer Survey
Employment
Events Calendar
Locations
Location & Hours
Contact
Parts Finder
Home
›
Parts
›
Parts Finder
Search by :
Part / Desc
VIN
Please Select
Arctic Cat
Honda
Kawasaki
Polaris
Suzuki
*Please enter at least 3 characters
SEARCH
Manufacturer
Arctic Cat
Snowmobiles
2007
JAGUAR Z1 EFI BLACK [S2007Z1NJGUSB]
VIEW WISH LIST
Select a Section
Show/Hide
A-ARM AND SWAY BAR ASSEMBLY [86324]
AIR SILENCER ASSEMBLY [86349]
BATTERY AND TRAY ASSEMBLY [85513]
BELT GUARD ASSEMBLY [86340]
CAM CHAIN ASSEMBLY [101065]
CAMSHAFT/VALVE ASSEMBLY [86373]
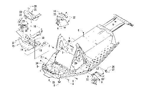
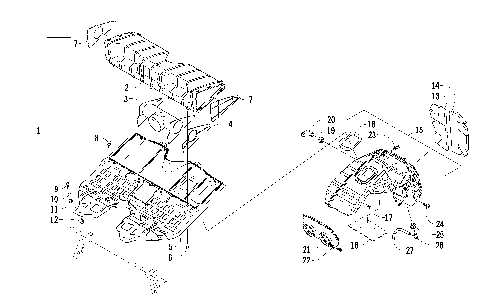
CHASSIS ASSEMBLY [86335]
CONSOLE ASSEMBLY [86480]
COOLING ASSEMBLY [86346]
CRANK BALANCER ASSEMBLY [89768]
CRANKCASE ASSEMBLY [86370]
CYLINDER HEAD ASSEMBLY [90059]
DRIVE CLUTCH [91458]
DRIVE TRAIN SHAFT AND BRAKE ASSEMBLIES [86330]
DRIVEN CLUTCH [86351]
ENGINE AND RELATED PARTS [88258]
EXHAUST ASSEMBLY [88239]
EXHAUST MANIFOLD GASKET/INTAKE FLANGE ASSEMBLY [91415]
FUEL PUMP ASSEMBLY [88234]
GAS TANK ASSEMBLY [86341]
GEARCASE ASSEMBLY [86331]
HANDLEBAR AND CONTROLS [86329]
HEADLIGHT AND WIRING ASSEMBLIES [86337]
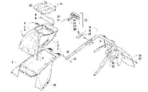
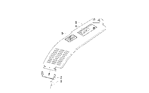
HOOD, WINDSHIELD, AND FRONT BUMPER ASSEMBLY [86477]
HYDRAULIC BRAKE CONTROL ASSEMBLY [97037]
IDLER WHEEL ASSEMBLY [86475]
MAGNETO ASSEMBLY [91421]
MAGNETO COVER [91412]
OIL COOLER ASSEMBLY [89694]
OIL PAN ASSEMBLY [86375]
OIL PUMP ASSEMBLY [90508]
OIL TANK ASSEMBLY [86350]
PISTON AND CRANKSHAFT ASSEMBLY [90060]
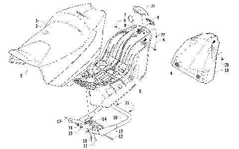
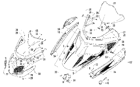
REAR BUMPER, STORAGE BOX, AND TAILLIGHT ASSEMBLY [86485]
REAR SUSPENSION FRONT ARM ASSEMBLY [86333]
REAR SUSPENSION REAR ARM ASSEMBLY [86334]
SEAT ASSEMBLY [86483]
SEAT SUPPORT ASSEMBLY [86343]
SHOCK ABSORBER ASSEMBLY [86469]
SKI AND SPINDLE ASSEMBLY [86366]
SKID PLATE AND SIDE PANEL ASSEMBLY [86481]
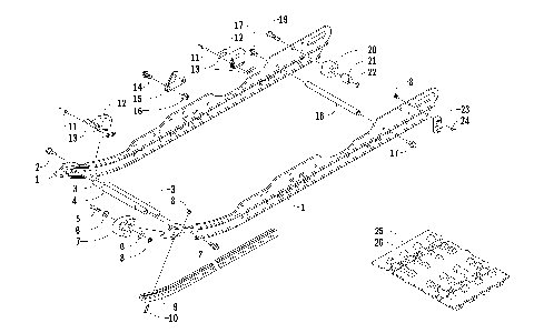
SLIDE RAILS AND TRACK ASSEMBLY [86471]
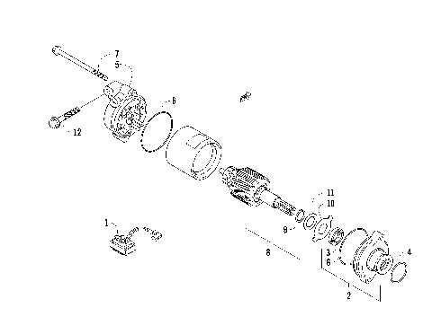
STARTER CLUTCH ASSEMBLY [89767]
STARTER MOTOR ASSEMBLY [85542]
STEERING POST ASSEMBLY [86326]
STEERING SUPPORT ASSEMBLY [86328]
THROTTLE BODY ASSEMBLY [86353]
TIE ROD ASSEMBLY [86327]
WATER HOSE ASSEMBLY [89696]
WATER PUMP ASSEMBLY [89695]
A-ARM AND SWAY BAR ASSEMBLY [86324]
AIR SILENCER ASSEMBLY [86349]
BATTERY AND TRAY ASSEMBLY [85513]
BELT GUARD ASSEMBLY [86340]
CAM CHAIN ASSEMBLY [101065]
CAMSHAFT/VALVE ASSEMBLY [86373]
CHASSIS ASSEMBLY [86335]
CONSOLE ASSEMBLY [86480]
COOLING ASSEMBLY [86346]
CRANK BALANCER ASSEMBLY [89768]
CRANKCASE ASSEMBLY [86370]
CYLINDER HEAD ASSEMBLY [90059]
DRIVE CLUTCH [91458]
DRIVE TRAIN SHAFT AND BRAKE ASSEMBLIES [86330]
DRIVEN CLUTCH [86351]
ENGINE AND RELATED PARTS [88258]
EXHAUST ASSEMBLY [88239]
EXHAUST MANIFOLD GASKET/INTAKE FLANGE ASSEMBLY [91415]
FUEL PUMP ASSEMBLY [88234]
GAS TANK ASSEMBLY [86341]
GEARCASE ASSEMBLY [86331]
HANDLEBAR AND CONTROLS [86329]
HEADLIGHT AND WIRING ASSEMBLIES [86337]
HOOD, WINDSHIELD, AND FRONT BUMPER ASSEMBLY [86477]
HYDRAULIC BRAKE CONTROL ASSEMBLY [97037]
IDLER WHEEL ASSEMBLY [86475]
MAGNETO ASSEMBLY [91421]
MAGNETO COVER [91412]
OIL COOLER ASSEMBLY [89694]
OIL PAN ASSEMBLY [86375]
OIL PUMP ASSEMBLY [90508]
OIL TANK ASSEMBLY [86350]
PISTON AND CRANKSHAFT ASSEMBLY [90060]
REAR BUMPER, STORAGE BOX, AND TAILLIGHT ASSEMBLY [86485]
REAR SUSPENSION FRONT ARM ASSEMBLY [86333]
REAR SUSPENSION REAR ARM ASSEMBLY [86334]
SEAT ASSEMBLY [86483]
SEAT SUPPORT ASSEMBLY [86343]
SHOCK ABSORBER ASSEMBLY [86469]
SKI AND SPINDLE ASSEMBLY [86366]
SKID PLATE AND SIDE PANEL ASSEMBLY [86481]
SLIDE RAILS AND TRACK ASSEMBLY [86471]
STARTER CLUTCH ASSEMBLY [89767]
STARTER MOTOR ASSEMBLY [85542]
STEERING POST ASSEMBLY [86326]
STEERING SUPPORT ASSEMBLY [86328]
THROTTLE BODY ASSEMBLY [86353]
TIE ROD ASSEMBLY [86327]
WATER HOSE ASSEMBLY [89696]
WATER PUMP ASSEMBLY [89695]
VIEW WISH LIST