Greenville, TX
|
Give Us a Call
(903) 454-4440
Toggle navigation
Home
Brands
Manufacturer Models
OEM Promotions
Polaris
Can-Am
E-Z-Go
Honda
Kawasaki
Suzuki
Inventory
All Inventory In Stock
New Inventory In Stock
Used Inventory
Value Your Trade-In
Request a Model
Schedule a Test Ride
Secure Financing
Parts
Parts Department
Parts Finder
Service
Service Department
Request Polaris Service
Warranty & Recall Look-Up
Specials
Financing
About
Our Dealership
Our Team
Reviews
Customer Survey
Employment
Events Calendar
Locations
Location & Hours
Contact
Parts Finder
Home
›
Parts
›
Parts Finder
Search by :
Part / Desc
VIN
Please Select
Arctic Cat
Honda
Kawasaki
Polaris
Suzuki
*Please enter at least 3 characters
SEARCH
Manufacturer
Arctic Cat
Snowmobiles
2007
JAGUAR Z1 EARLY BUILD GREEN [S2007JGNEREBG]
VIEW WISH LIST
Select a Section
Show/Hide
A-ARM AND SWAY BAR ASSEMBLY [85494]
AIR SILENCER ASSEMBLY [85524]
BATTERY AND TRAY ASSEMBLY [85513]
BELT GUARD ASSEMBLY [85515]
CAM CHAIN ASSEMBLY [85533]
CAMSHAFT/VALVE ASSEMBLY [85534]
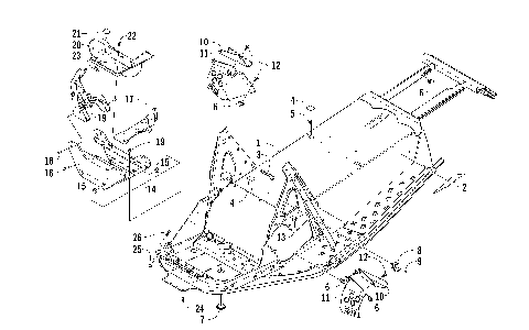
CHASSIS ASSEMBLY [85509]
CONSOLE ASSEMBLY [85512]
COOLING ASSEMBLY [85521]
CRANK BALANCER ASSEMBLY [89768]
CRANKCASE ASSEMBLY [85528]
CYLINDER HEAD ASSEMBLY [85527]
DRIVE CLUTCH [85526]
DRIVE CLUTCH [91458]
DRIVE TRAIN SHAFT AND BRAKE ASSEMBLIES [85501]
DRIVEN CLUTCH [85545]
ENGINE AND RELATED PARTS [88258]
EXHAUST ASSEMBLY [85523]
EXHAUST MANIFOLD GASKET/INTAKE FLANGE ASSEMBLY [91415]
FRONT SUSPENSION SHOCK ABSORBER [85496]
FUEL PUMP ASSEMBLY [85517]
GAS TANK ASSEMBLY [85516]
GEARCASE ASSEMBLY [85502]
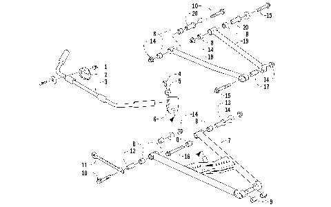
HANDLEBAR AND CONTROLS [85500]
HEADLIGHT AND WIRING ASSEMBLIES [85511]
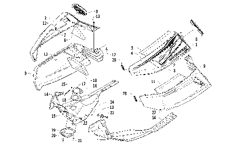
HOOD, WINDSHIELD, AND FRONT BUMPER ASSEMBLY [85510]
HYDRAULIC BRAKE CONTROL ASSEMBLY [97037]
IDLER WHEEL ASSEMBLY [85504]
MAGNETO ASSEMBLY [85543]
MAGNETO COVER [91412]
OIL COOLER ASSEMBLY [89694]
OIL PAN ASSEMBLY [85536]
OIL PUMP ASSEMBLY [90508]
OIL TANK ASSEMBLY [85525]
PISTON AND CRANKSHAFT ASSEMBLY [90060]
REAR BUMPER, STORAGE BOX, AND TAILLIGHT ASSEMBLY [85520]
REAR SUSPENSION FRONT ARM ASSEMBLY [85505]
REAR SUSPENSION FRONT ARM SHOCK ABSORBER [85506]
REAR SUSPENSION REAR ARM ASSEMBLY [85507]
REAR SUSPENSION REAR ARM SHOCK ABSORBER [85508]
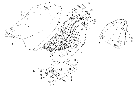
SEAT ASSEMBLY [85519]
SEAT SUPPORT ASSEMBLY [85518]
SHOCK ABSORBER ASSEMBLY [85495]
SKI AND SPINDLE ASSEMBLY [86366]
SKID PLATE AND SIDE PANEL ASSEMBLY [85514]
SLIDE RAIL AND TRACK ASSEMBLY [85503]
STARTER CLUTCH ASSEMBLY [89767]
STARTER MOTOR ASSEMBLY [85542]
STEERING POST ASSEMBLY [85497]
STEERING SUPPORT ASSEMBLY [85499]
THROTTLE BODY ASSEMBLY [85541]
TIE ROD ASSEMBLY [86327]
WATER HOSE ASSEMBLY [85540]
WATER PUMP ASSEMBLY [89695]
A-ARM AND SWAY BAR ASSEMBLY [85494]
AIR SILENCER ASSEMBLY [85524]
BATTERY AND TRAY ASSEMBLY [85513]
BELT GUARD ASSEMBLY [85515]
CAM CHAIN ASSEMBLY [85533]
CAMSHAFT/VALVE ASSEMBLY [85534]
CHASSIS ASSEMBLY [85509]
CONSOLE ASSEMBLY [85512]
COOLING ASSEMBLY [85521]
CRANK BALANCER ASSEMBLY [89768]
CRANKCASE ASSEMBLY [85528]
CYLINDER HEAD ASSEMBLY [85527]
DRIVE CLUTCH [85526]
DRIVE CLUTCH [91458]
DRIVE TRAIN SHAFT AND BRAKE ASSEMBLIES [85501]
DRIVEN CLUTCH [85545]
ENGINE AND RELATED PARTS [88258]
EXHAUST ASSEMBLY [85523]
EXHAUST MANIFOLD GASKET/INTAKE FLANGE ASSEMBLY [91415]
FRONT SUSPENSION SHOCK ABSORBER [85496]
FUEL PUMP ASSEMBLY [85517]
GAS TANK ASSEMBLY [85516]
GEARCASE ASSEMBLY [85502]
HANDLEBAR AND CONTROLS [85500]
HEADLIGHT AND WIRING ASSEMBLIES [85511]
HOOD, WINDSHIELD, AND FRONT BUMPER ASSEMBLY [85510]
HYDRAULIC BRAKE CONTROL ASSEMBLY [97037]
IDLER WHEEL ASSEMBLY [85504]
MAGNETO ASSEMBLY [85543]
MAGNETO COVER [91412]
OIL COOLER ASSEMBLY [89694]
OIL PAN ASSEMBLY [85536]
OIL PUMP ASSEMBLY [90508]
OIL TANK ASSEMBLY [85525]
PISTON AND CRANKSHAFT ASSEMBLY [90060]
REAR BUMPER, STORAGE BOX, AND TAILLIGHT ASSEMBLY [85520]
REAR SUSPENSION FRONT ARM ASSEMBLY [85505]
REAR SUSPENSION FRONT ARM SHOCK ABSORBER [85506]
REAR SUSPENSION REAR ARM ASSEMBLY [85507]
REAR SUSPENSION REAR ARM SHOCK ABSORBER [85508]
SEAT ASSEMBLY [85519]
SEAT SUPPORT ASSEMBLY [85518]
SHOCK ABSORBER ASSEMBLY [85495]
SKI AND SPINDLE ASSEMBLY [86366]
SKID PLATE AND SIDE PANEL ASSEMBLY [85514]
SLIDE RAIL AND TRACK ASSEMBLY [85503]
STARTER CLUTCH ASSEMBLY [89767]
STARTER MOTOR ASSEMBLY [85542]
STEERING POST ASSEMBLY [85497]
STEERING SUPPORT ASSEMBLY [85499]
THROTTLE BODY ASSEMBLY [85541]
TIE ROD ASSEMBLY [86327]
WATER HOSE ASSEMBLY [85540]
WATER PUMP ASSEMBLY [89695]
VIEW WISH LIST