Greenville, TX
|
Give Us a Call
(903) 454-4440
Toggle navigation
Home
Brands
Manufacturer Models
OEM Promotions
Polaris
Can-Am
E-Z-Go
Honda
Kawasaki
Suzuki
Inventory
All Inventory In Stock
New Inventory In Stock
Used Inventory
Value Your Trade-In
Request a Model
Schedule a Test Ride
Secure Financing
Parts
Parts Department
Parts Finder
Service
Service Department
Request Polaris Service
Warranty & Recall Look-Up
Specials
Financing
About
Our Dealership
Our Team
Reviews
Customer Survey
Employment
Events Calendar
Locations
Location & Hours
Contact
Parts Finder
Home
›
Parts
›
Parts Finder
Search by :
Part / Desc
VIN
Please Select
Arctic Cat
Honda
Kawasaki
Polaris
Suzuki
*Please enter at least 3 characters
SEARCH
Manufacturer
Arctic Cat
Snowmobiles
2007
F6 EFI LXR ORANGE [S2007F6DLXUSO]
VIEW WISH LIST
Select a Section
Show/Hide
A-ARM AND SWAY BAR ASSEMBLY [86324]
AIR SILENCER ASSEMBLY [86609]
BATTERY AND TRAY ASSEMBLY [86526]
BELT GUARD ASSEMBLY [86608]
CHASSIS ASSEMBLY [86518]
CONSOLE ASSEMBLY [86764]
COOLING ASSEMBLY [86506]
CRANKCASE ASSEMBLY [87839]
CYLINDER AND HEAD ASSEMBLY [86615]
DRIVE CLUTCH [86610]
DRIVE TRAIN SHAFT AND BRAKE ASSEMBLIES [86605]
DRIVEN CLUTCH [86611]
ELECTRICAL [88048]
ENGINE AND RELATED PARTS [86600]
EXHAUST ASSEMBLY [86595]
FLEX-DRIVE STARTER MOTOR ASSEMBLY [86525]
FRONT SUSPENSION SHOCK ABSORBER [85496]
FUEL PUMP ASSEMBLY [86502]
GAS TANK ASSEMBLY [86501]
GEARCASE ASSEMBLY [86606]
HANDLEBAR AND CONTROLS [86598]
HEADLIGHT AND WIRING ASSEMBLIES [86599]
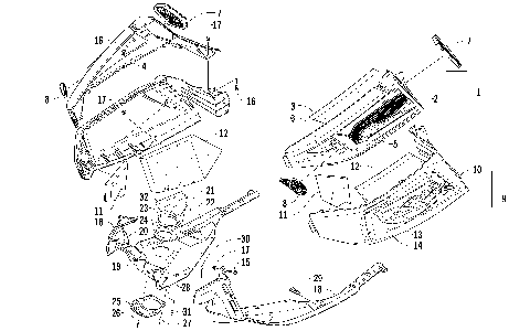
HOOD, WINDSHIELD, AND FRONT BUMPER ASSEMBLY [86762]
HYDRAULIC BRAKE CONTROL ASSEMBLY [97037]
IDLER WHEEL ASSEMBLY [86628]
MAGNETO [86419]
OIL PUMP [89511]
OIL TANK ASSEMBLY [89503]
PISTON AND CRANKSHAFT [89508]
REAR BUMPER, STORAGE BOX, AND TAILLIGHT ASSEMBLY [86620]
REAR SUSPENSION FRONT ARM ASSEMBLY [86617]
REAR SUSPENSION FRONT ARM SHOCK ABSORBER [86591]
REAR SUSPENSION REAR ARM ASSEMBLY [86618]
RECOIL STARTER [89513]
REED VALVE ASSEMBLY [86414]
SEAT ASSEMBLY [86766]
SEAT SUPPORT ASSEMBLY [86522]
SERVOMOTOR ASSEMBLY [90461]
SHOCK ABSORBER ASSEMBLY [86631]
SKI AND SPINDLE ASSEMBLY [86366]
SKID PLATE AND SIDE PANEL ASSEMBLY [86627]
SLIDE RAILS AND TRACK ASSEMBLY [86624]
STEERING POST ASSEMBLY [86516]
STEERING SUPPORT ASSEMBLY [86588]
THROTTLE BODY ASSEMBLY [86415]
TIE ROD ASSEMBLY [86327]
WATER PUMP AND THERMOSTAT [91081]
A-ARM AND SWAY BAR ASSEMBLY [86324]
AIR SILENCER ASSEMBLY [86609]
BATTERY AND TRAY ASSEMBLY [86526]
BELT GUARD ASSEMBLY [86608]
CHASSIS ASSEMBLY [86518]
CONSOLE ASSEMBLY [86764]
COOLING ASSEMBLY [86506]
CRANKCASE ASSEMBLY [87839]
CYLINDER AND HEAD ASSEMBLY [86615]
DRIVE CLUTCH [86610]
DRIVE TRAIN SHAFT AND BRAKE ASSEMBLIES [86605]
DRIVEN CLUTCH [86611]
ELECTRICAL [88048]
ENGINE AND RELATED PARTS [86600]
EXHAUST ASSEMBLY [86595]
FLEX-DRIVE STARTER MOTOR ASSEMBLY [86525]
FRONT SUSPENSION SHOCK ABSORBER [85496]
FUEL PUMP ASSEMBLY [86502]
GAS TANK ASSEMBLY [86501]
GEARCASE ASSEMBLY [86606]
HANDLEBAR AND CONTROLS [86598]
HEADLIGHT AND WIRING ASSEMBLIES [86599]
HOOD, WINDSHIELD, AND FRONT BUMPER ASSEMBLY [86762]
HYDRAULIC BRAKE CONTROL ASSEMBLY [97037]
IDLER WHEEL ASSEMBLY [86628]
MAGNETO [86419]
OIL PUMP [89511]
OIL TANK ASSEMBLY [89503]
PISTON AND CRANKSHAFT [89508]
REAR BUMPER, STORAGE BOX, AND TAILLIGHT ASSEMBLY [86620]
REAR SUSPENSION FRONT ARM ASSEMBLY [86617]
REAR SUSPENSION FRONT ARM SHOCK ABSORBER [86591]
REAR SUSPENSION REAR ARM ASSEMBLY [86618]
RECOIL STARTER [89513]
REED VALVE ASSEMBLY [86414]
SEAT ASSEMBLY [86766]
SEAT SUPPORT ASSEMBLY [86522]
SERVOMOTOR ASSEMBLY [90461]
SHOCK ABSORBER ASSEMBLY [86631]
SKI AND SPINDLE ASSEMBLY [86366]
SKID PLATE AND SIDE PANEL ASSEMBLY [86627]
SLIDE RAILS AND TRACK ASSEMBLY [86624]
STEERING POST ASSEMBLY [86516]
STEERING SUPPORT ASSEMBLY [86588]
THROTTLE BODY ASSEMBLY [86415]
TIE ROD ASSEMBLY [86327]
WATER PUMP AND THERMOSTAT [91081]
VIEW WISH LIST