Greenville, TX
|
Give Us a Call
(903) 454-4440
Toggle navigation
Home
Brands
Manufacturer Models
OEM Promotions
Polaris
Can-Am
E-Z-Go
Honda
Kawasaki
Suzuki
Inventory
All Inventory In Stock
New Inventory In Stock
Used Inventory
Value Your Trade-In
Request a Model
Schedule a Test Ride
Secure Financing
Parts
Parts Department
Parts Finder
Service
Service Department
Request Polaris Service
Warranty & Recall Look-Up
Specials
Financing
About
Our Dealership
Our Team
Reviews
Customer Survey
Employment
Events Calendar
Locations
Location & Hours
Contact
Parts Finder
Home
›
Parts
›
Parts Finder
Search by :
Part / Desc
VIN
Please Select
Arctic Cat
Honda
Kawasaki
Polaris
Suzuki
*Please enter at least 3 characters
SEARCH
Manufacturer
Arctic Cat
Snowmobiles
2007
F1000 EFI SNO PRO BLACK [S2007F1LEPUSB]
VIEW WISH LIST
Select a Section
Show/Hide
A-ARM AND SWAY BAR ASSEMBLY [86324]
AIR SILENCER ASSEMBLY [86709]
BELT GUARD ASSEMBLY [86732]
CHASSIS ASSEMBLY [86495]
CONSOLE ASSEMBLY [86658]
COOLING ASSEMBLY [86706]
CRANKCASE ASSEMBLY [88167]
CYLINDER AND HEAD ASSEMBLY [86711]
DRIVE CLUTCH [86710]
DRIVE TRAIN SHAFT AND BRAKE ASSEMBLIES [86729]
DRIVEN CLUTCH [86735]
ELECTRICAL [86719]
ENGINE AND RELATED PARTS [86707]
EXHAUST ASSEMBLY [86708]
FRONT SHOCK ABSORBER ASSEMBLY [86359]
FRONT SUSPENSION SHOCK ABSORBER [86360]
FUEL PUMP ASSEMBLY [86502]
GAS TANK ASSEMBLY [86642]
GEARCASE ASSEMBLY [86730]
HANDLEBAR AND CONTROLS [86743]
HEADLIGHT AND WIRING ASSEMBLIES [86705]
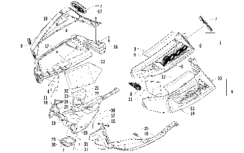
HOOD, WINDSHIELD, AND FRONT BUMPER ASSEMBLY [88953]
HYDRAULIC BRAKE CONTROL ASSEMBLY [97037]
IDLER WHEEL ASSEMBLY [86629]
MAGNETO [89351]
OIL PUMP [88169]
OIL TANK ASSEMBLY [89503]
PISTON AND CRANKSHAFT [89345]
REAR BUMPER, STORAGE BOX, AND TAILLIGHT ASSEMBLY [86739]
REAR SUSPENSION FRONT ARM ASSEMBLY [86653]
REAR SUSPENSION FRONT ARM SHOCK ABSORBER [86636]
REAR SUSPENSION REAR ARM ASSEMBLY [86637]
REAR SUSPENSION REAR ARM SHOCK ABSORBER [89488]
RECOIL STARTER [89350]
REED VALVE ASSEMBLY [89346]
SEAT ASSEMBLY [86765]
SEAT SUPPORT ASSEMBLY [86522]
SERVOMOTOR ASSEMBLY [90461]
SKI AND SPINDLE ASSEMBLY [86366]
SKID PLATE AND SIDE PANEL ASSEMBLY [86835]
SLIDE RAILS AND TRACK ASSEMBLY [86655]
STEERING POST ASSEMBLY [86516]
STEERING SUPPORT ASSEMBLY [86588]
THROTTLE BODY ASSEMBLY [86715]
TIE ROD ASSEMBLY [86327]
WATER PUMP AND THERMOSTAT [92916]
A-ARM AND SWAY BAR ASSEMBLY [86324]
AIR SILENCER ASSEMBLY [86709]
BELT GUARD ASSEMBLY [86732]
CHASSIS ASSEMBLY [86495]
CONSOLE ASSEMBLY [86658]
COOLING ASSEMBLY [86706]
CRANKCASE ASSEMBLY [88167]
CYLINDER AND HEAD ASSEMBLY [86711]
DRIVE CLUTCH [86710]
DRIVE TRAIN SHAFT AND BRAKE ASSEMBLIES [86729]
DRIVEN CLUTCH [86735]
ELECTRICAL [86719]
ENGINE AND RELATED PARTS [86707]
EXHAUST ASSEMBLY [86708]
FRONT SHOCK ABSORBER ASSEMBLY [86359]
FRONT SUSPENSION SHOCK ABSORBER [86360]
FUEL PUMP ASSEMBLY [86502]
GAS TANK ASSEMBLY [86642]
GEARCASE ASSEMBLY [86730]
HANDLEBAR AND CONTROLS [86743]
HEADLIGHT AND WIRING ASSEMBLIES [86705]
HOOD, WINDSHIELD, AND FRONT BUMPER ASSEMBLY [88953]
HYDRAULIC BRAKE CONTROL ASSEMBLY [97037]
IDLER WHEEL ASSEMBLY [86629]
MAGNETO [89351]
OIL PUMP [88169]
OIL TANK ASSEMBLY [89503]
PISTON AND CRANKSHAFT [89345]
REAR BUMPER, STORAGE BOX, AND TAILLIGHT ASSEMBLY [86739]
REAR SUSPENSION FRONT ARM ASSEMBLY [86653]
REAR SUSPENSION FRONT ARM SHOCK ABSORBER [86636]
REAR SUSPENSION REAR ARM ASSEMBLY [86637]
REAR SUSPENSION REAR ARM SHOCK ABSORBER [89488]
RECOIL STARTER [89350]
REED VALVE ASSEMBLY [89346]
SEAT ASSEMBLY [86765]
SEAT SUPPORT ASSEMBLY [86522]
SERVOMOTOR ASSEMBLY [90461]
SKI AND SPINDLE ASSEMBLY [86366]
SKID PLATE AND SIDE PANEL ASSEMBLY [86835]
SLIDE RAILS AND TRACK ASSEMBLY [86655]
STEERING POST ASSEMBLY [86516]
STEERING SUPPORT ASSEMBLY [86588]
THROTTLE BODY ASSEMBLY [86715]
TIE ROD ASSEMBLY [86327]
WATER PUMP AND THERMOSTAT [92916]
VIEW WISH LIST