Greenville, TX
|
Give Us a Call
(903) 454-4440
Toggle navigation
Home
Brands
Manufacturer Models
OEM Promotions
Polaris
Can-Am
E-Z-Go
Honda
Kawasaki
Suzuki
Inventory
All Inventory In Stock
New Inventory In Stock
Used Inventory
Value Your Trade-In
Request a Model
Schedule a Test Ride
Secure Financing
Parts
Parts Department
Parts Finder
Service
Service Department
Request Polaris Service
Warranty & Recall Look-Up
Specials
Financing
About
Our Dealership
Our Team
Reviews
Customer Survey
Employment
Events Calendar
Locations
Location & Hours
Contact
Parts Finder
Home
›
Parts
›
Parts Finder
Search by :
Part / Desc
VIN
Please Select
Arctic Cat
Honda
Kawasaki
Polaris
Suzuki
*Please enter at least 3 characters
SEARCH
Manufacturer
Arctic Cat
Snowmobiles
2007
BEARCAT WIDE TRACK TURBO ARTICULATING [S2007BCFAWUSL]
VIEW WISH LIST
Select a Section
Show/Hide
A-ARM ASSEMBLY [86194]
AIR SILENCER ASSEMBLY [85014]
ALTERNATOR ASSEMBLY [81643]
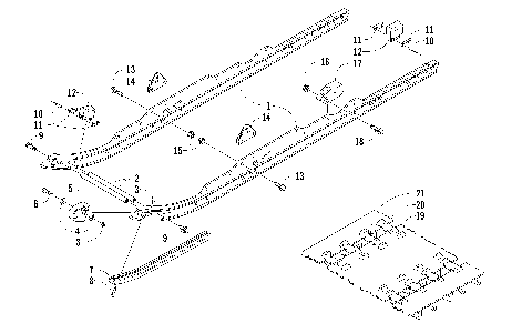
ARTICULATING SKID FRAME ASSEMBLY [87007]
BATTERY ASSEMBLY [85013]
BELLY PAN AND FRONT BUMPER ASSEMBLY [87001]
BELT GUARD ASSEMBLY [87008]
CAM CHAIN ASSEMBLY [86035]
CAMSHAFT/VALVE ASSEMBLY [86111]
CONSOLE AND SWITCH ASSEMBLY [86027]
COOLING ASSEMBLY [84983]
CRANKSHAFT ASSEMBLY [82827]
CYLINDER BLOCK/BASE ASSEMBLY [86110]
CYLINDER HEAD ASSEMBLY [86109]
DELIVERY PIPE ASSEMBLY [86116]
DRIVE CLUTCH [87009]
DRIVE TRAIN SHAFTS AND BRAKE ASSEMBLIES [86995]
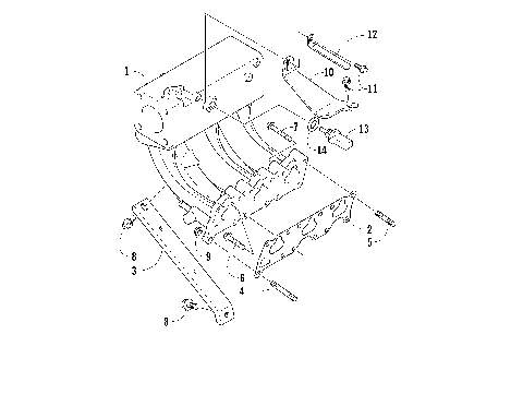
DRIVE/REVERSE DROPCASE ASSEMBLY [87749]
DRIVEN CLUTCH [85015]
DROPCASE AND CHAIN TENSION ASSEMBLY [86986]
ELECTRICAL [87781]
ENGINE AND RELATED PARTS [86967]
EXHAUST ASSEMBLY [87010]
EXHAUST MANIFOLD ASSEMBLY [87779]
FRONT FRAME AND FOOTREST ASSEMBLY [86998]
FRONT SEAT ASSEMBLY [86963]
FRONT SUSPENSION SHOCK ABSORBER ASSEMBLY [86978]
FUEL PUMP ASSEMBLY [85011]
GAS TANK ASSEMBLY [84979]
GASKET SET [82790]
HANDLEBAR AND CONTROLS [86993]
HEADLIGHT, INSTRUMENTS, AND WIRING ASSEMBLIES [85009]
HOOD AND WINDSHIELD ASSEMBLY [87000]
HYDRAULIC BRAKE ASSEMBLY [84970]
IDLER WHEEL ASSEMBLY [86957]
INTAKE MANIFOLD ASSEMBLY [86119]
INTERCOOLER ASSEMBLY [87019]
OIL PAN ASSEMBLY [86034]
REAR SEAT, BACKREST, AND RACK ASSEMBLY [86964]
REAR SUSPENSION FRONT ARM ASSEMBLY [84973]
REAR SUSPENSION REAR ARM ASSEMBLY [87044]
REVERSE SHIFT LEVER ASSEMBLY [86980]
SKI AND SPINDLE ASSEMBLY [86952]
SLIDE RAILS AND TRACK ASSEMBLY [87005]
STARTER MOTOR ASSEMBLY [87782]
STEERING POST ASSEMBLY [86953]
STEERING SUPPORT ASSEMBLY [86999]
THROTTLE BODY ASSEMBLY [86112]
TIE ROD ASSEMBLY [86954]
TIMING CHAIN COVER/OIL PUMP ASSEMBLY [86040]
TUNNEL AND REAR BUMPER ASSEMBLY [86965]
TURBOCHARGER ASSEMBLY [86113]
WATER PUMP AND THERMOSTAT ASSEMBLIES [86120]
A-ARM ASSEMBLY [86194]
AIR SILENCER ASSEMBLY [85014]
ALTERNATOR ASSEMBLY [81643]
ARTICULATING SKID FRAME ASSEMBLY [87007]
BATTERY ASSEMBLY [85013]
BELLY PAN AND FRONT BUMPER ASSEMBLY [87001]
BELT GUARD ASSEMBLY [87008]
CAM CHAIN ASSEMBLY [86035]
CAMSHAFT/VALVE ASSEMBLY [86111]
CONSOLE AND SWITCH ASSEMBLY [86027]
COOLING ASSEMBLY [84983]
CRANKSHAFT ASSEMBLY [82827]
CYLINDER BLOCK/BASE ASSEMBLY [86110]
CYLINDER HEAD ASSEMBLY [86109]
DELIVERY PIPE ASSEMBLY [86116]
DRIVE CLUTCH [87009]
DRIVE TRAIN SHAFTS AND BRAKE ASSEMBLIES [86995]
DRIVE/REVERSE DROPCASE ASSEMBLY [87749]
DRIVEN CLUTCH [85015]
DROPCASE AND CHAIN TENSION ASSEMBLY [86986]
ELECTRICAL [87781]
ENGINE AND RELATED PARTS [86967]
EXHAUST ASSEMBLY [87010]
EXHAUST MANIFOLD ASSEMBLY [87779]
FRONT FRAME AND FOOTREST ASSEMBLY [86998]
FRONT SEAT ASSEMBLY [86963]
FRONT SUSPENSION SHOCK ABSORBER ASSEMBLY [86978]
FUEL PUMP ASSEMBLY [85011]
GAS TANK ASSEMBLY [84979]
GASKET SET [82790]
HANDLEBAR AND CONTROLS [86993]
HEADLIGHT, INSTRUMENTS, AND WIRING ASSEMBLIES [85009]
HOOD AND WINDSHIELD ASSEMBLY [87000]
HYDRAULIC BRAKE ASSEMBLY [84970]
IDLER WHEEL ASSEMBLY [86957]
INTAKE MANIFOLD ASSEMBLY [86119]
INTERCOOLER ASSEMBLY [87019]
OIL PAN ASSEMBLY [86034]
REAR SEAT, BACKREST, AND RACK ASSEMBLY [86964]
REAR SUSPENSION FRONT ARM ASSEMBLY [84973]
REAR SUSPENSION REAR ARM ASSEMBLY [87044]
REVERSE SHIFT LEVER ASSEMBLY [86980]
SKI AND SPINDLE ASSEMBLY [86952]
SLIDE RAILS AND TRACK ASSEMBLY [87005]
STARTER MOTOR ASSEMBLY [87782]
STEERING POST ASSEMBLY [86953]
STEERING SUPPORT ASSEMBLY [86999]
THROTTLE BODY ASSEMBLY [86112]
TIE ROD ASSEMBLY [86954]
TIMING CHAIN COVER/OIL PUMP ASSEMBLY [86040]
TUNNEL AND REAR BUMPER ASSEMBLY [86965]
TURBOCHARGER ASSEMBLY [86113]
WATER PUMP AND THERMOSTAT ASSEMBLIES [86120]
VIEW WISH LIST