Greenville, TX
|
Give Us a Call
(903) 454-4440
Toggle navigation
Home
Brands
Manufacturer Models
OEM Promotions
Polaris
Can-Am
E-Z-Go
Honda
Kawasaki
Suzuki
Inventory
All Inventory In Stock
New Inventory In Stock
Used Inventory
Value Your Trade-In
Request a Model
Schedule a Test Ride
Secure Financing
Parts
Parts Department
Parts Finder
Service
Service Department
Request Polaris Service
Warranty & Recall Look-Up
Specials
Financing
About
Our Dealership
Our Team
Reviews
Customer Survey
Employment
Events Calendar
Locations
Location & Hours
Contact
Parts Finder
Home
›
Parts
›
Parts Finder
Search by :
Part / Desc
VIN
Please Select
Arctic Cat
Honda
Kawasaki
Polaris
Suzuki
*Please enter at least 3 characters
SEARCH
Manufacturer
Arctic Cat
Snowmobiles
2007
AC 600 MODIFIED SNO PRO GREEN [S2007ACDMOUSG]
VIEW WISH LIST
Select a Section
Show/Hide
A-ARM ASSEMBLY [87055]
AIR SILENCER ASSEMBLY [87079]
BELLY PAN ASSEMBLY [87072]
BELT GUARD ASSEMBLY [87073]
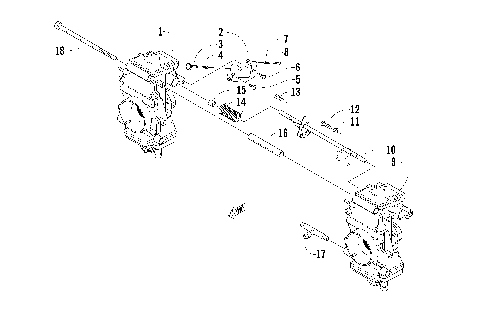
CARBURETOR - EXTERNAL PARTS [87082]
CARBURETOR, INTERNAL PARTS [87301]
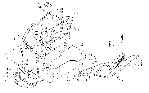
COMPLETE CHASSIS [87089]
CONSOLE AND SWITCH ASSEMBLY [87071]
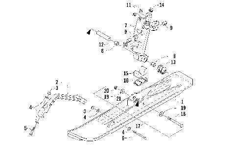
CONTROL ASSEMBLY [87058]
COOLING ASSEMBLY [87076]
CRANKCASE ASSEMBLY [87084]
CYLINDER AND HEAD ASSEMBLY [87083]
DRIVE CLUTCH [87080]
DRIVE TRAIN SHAFTS AND BRAKE ASSEMBLIES [87090]
DRIVE/DROPCASE ASSEMBLY [87061]
DRIVEN CLUTCH [85374]
ELECTRICAL [85380]
ENGINE AND RELATED PARTS [87077]
EXHAUST ASSEMBLY [87078]
FOOTREST AND STEERING SUPPORT ASSEMBLY [87068]
FRONT FRAME ASSEMBLY [87067]
FRONT SUSPENSION SHOCK ABSORBER [85321]
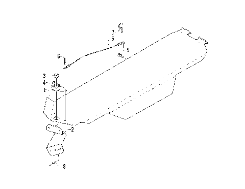
GAS TANK ASSEMBLY [82152]
HANDLEBAR ASSEMBLY [87059]
HOOD AND WINDSHIELD ASSEMBLY [87069]
HYDRAULIC BRAKE CONTROL ASSEMBLY [90425]
IDLER WHEEL ASSEMBLY [87063]
MAGNETO [85348]
PISTON AND CRANKSHAFT [87085]
REAR SUSPENSION FRONT ARM ASSEMBLY [87064]
REAR SUSPENSION FRONT ARM SHOCK ABSORBER [85329]
REAR SUSPENSION REAR ARM ASSEMBLY [87065]
REAR SUSPENSION REAR ARM SHOCK ABSORBER [87066]
RECOIL STARTER [82156]
REED VALVE ASSEMBLY [87086]
SEAT ASSEMBLY [87074]
SERVOMOTOR ASSEMBLY [90461]
SHOCK ABSORBER AND SWAY BAR ASSEMBLY [87056]
SKI AND SPINDLE ASSEMBLY [87054]
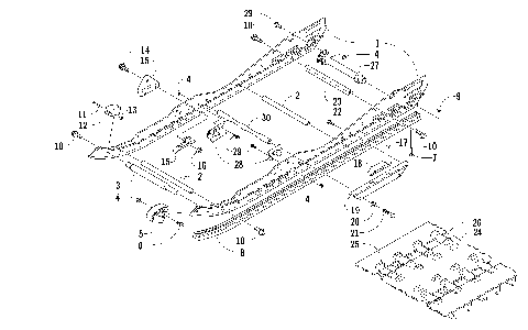
SLIDE RAILS AND TRACK ASSEMBLY [87062]
STEERING POST ASSEMBLY [85322]
TIE ROD ASSEMBLY [87057]
TUNNEL, REAR BUMPER, AND TAILLIGHT ASSEMBLIES [87091]
WATER PUMP/WATER MANIFOLD [87087]
WIRING ASSEMBLY [87070]
A-ARM ASSEMBLY [87055]
AIR SILENCER ASSEMBLY [87079]
BELLY PAN ASSEMBLY [87072]
BELT GUARD ASSEMBLY [87073]
CARBURETOR - EXTERNAL PARTS [87082]
CARBURETOR, INTERNAL PARTS [87301]
COMPLETE CHASSIS [87089]
CONSOLE AND SWITCH ASSEMBLY [87071]
CONTROL ASSEMBLY [87058]
COOLING ASSEMBLY [87076]
CRANKCASE ASSEMBLY [87084]
CYLINDER AND HEAD ASSEMBLY [87083]
DRIVE CLUTCH [87080]
DRIVE TRAIN SHAFTS AND BRAKE ASSEMBLIES [87090]
DRIVE/DROPCASE ASSEMBLY [87061]
DRIVEN CLUTCH [85374]
ELECTRICAL [85380]
ENGINE AND RELATED PARTS [87077]
EXHAUST ASSEMBLY [87078]
FOOTREST AND STEERING SUPPORT ASSEMBLY [87068]
FRONT FRAME ASSEMBLY [87067]
FRONT SUSPENSION SHOCK ABSORBER [85321]
GAS TANK ASSEMBLY [82152]
HANDLEBAR ASSEMBLY [87059]
HOOD AND WINDSHIELD ASSEMBLY [87069]
HYDRAULIC BRAKE CONTROL ASSEMBLY [90425]
IDLER WHEEL ASSEMBLY [87063]
MAGNETO [85348]
PISTON AND CRANKSHAFT [87085]
REAR SUSPENSION FRONT ARM ASSEMBLY [87064]
REAR SUSPENSION FRONT ARM SHOCK ABSORBER [85329]
REAR SUSPENSION REAR ARM ASSEMBLY [87065]
REAR SUSPENSION REAR ARM SHOCK ABSORBER [87066]
RECOIL STARTER [82156]
REED VALVE ASSEMBLY [87086]
SEAT ASSEMBLY [87074]
SERVOMOTOR ASSEMBLY [90461]
SHOCK ABSORBER AND SWAY BAR ASSEMBLY [87056]
SKI AND SPINDLE ASSEMBLY [87054]
SLIDE RAILS AND TRACK ASSEMBLY [87062]
STEERING POST ASSEMBLY [85322]
TIE ROD ASSEMBLY [87057]
TUNNEL, REAR BUMPER, AND TAILLIGHT ASSEMBLIES [87091]
WATER PUMP/WATER MANIFOLD [87087]
WIRING ASSEMBLY [87070]
VIEW WISH LIST