Greenville, TX
|
Give Us a Call
(903) 454-4440
Toggle navigation
Home
Brands
Manufacturer Models
OEM Promotions
Polaris
Can-Am
E-Z-Go
Honda
Kawasaki
Suzuki
Inventory
All Inventory In Stock
New Inventory In Stock
Used Inventory
Value Your Trade-In
Request a Model
Schedule a Test Ride
Secure Financing
Parts
Parts Department
Parts Finder
Service
Service Department
Request Polaris Service
Warranty & Recall Look-Up
Specials
Financing
About
Our Dealership
Our Team
Reviews
Customer Survey
Employment
Events Calendar
Locations
Location & Hours
Contact
Parts Finder
Home
›
Parts
›
Parts Finder
Search by :
Part / Desc
VIN
Please Select
Arctic Cat
Honda
Kawasaki
Polaris
Suzuki
*Please enter at least 3 characters
SEARCH
Manufacturer
Arctic Cat
ATVs
2019
ALTERRA 700 XT EPS RED [A2019XCT1PUSM]
VIEW WISH LIST
Select a Section
Show/Hide
AIR INTAKE ASSEMBLY [303628]
BATTERY AND STARTER ASSEMBLY [303021]
CAM CHAIN ASSEMBLY [300283]
CASE/BELT COOLING ASSEMBLY [300277]
CLUTCH/V-BELT/MAGNETO COVER ASSEMBLY [303132]
CONSOLE AND INSTRUMENT ASSEMBLY [303013]
COOLING ASSEMBLY [303018]
CRANKCASE ASSEMBLY [302118]
CRANKSHAFT BALANCER AND STARTER GEAR ASSEMBLIES [303025]
CYLINDER ASSEMBLY [303023]
CYLINDER HEAD AND CAMSHAFT/VALVE ASSEMBLY [303024]
DECALS [303134]
DRIVE TRAIN ASSEMBLY [303170]
ENGINE AND EXHAUST [303017]
FRAME AND RELATED PARTS [301595]
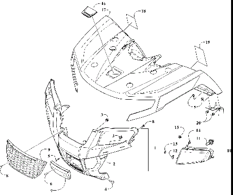
FRONT BODY PANEL AND HEADLIGHT ASSEMBLIES [303125]
FRONT DRIVE GEARCASE ASSEMBLY [303130]
FRONT RACK AND SIDE PANEL ASSEMBLIES [303126]
FRONT SUSPENSION ASSEMBLY [303014]
GAS TANK ASSEMBLY [303016]
GEAR SHIFTING ASSEMBLY [303030]
HANDLEBAR ASSEMBLY [303128]
HYDRAULIC BRAKE ASSEMBLY [303129]
MAGNETO ASSEMBLY [303031]
OIL FILTER/PUMP ASSEMBLY [301655]
REAR DRIVE GEARCASE ASSEMBLY [300080]
REAR RACK, BODY PANEL, FOOTWELL, AND TAILLIGHT ASSEMBLIES [303127]
REAR SUSPENSION ASSEMBLY [302802]
SEAT ASSEMBLY [301596]
SECONDARY DRIVE ASSEMBLY [302806]
SECONDARY TRANSMISSION ASSEMBLY [303133]
SHIFT LEVER ASSEMBLY [300273]
STEERING ASSEMBLY [301597]
THROTTLE BODY ASSEMBLY [303022]
TRANSMISSION ASSEMBLY [303028]
WATER PUMP ASSEMBLY [303027]
WHEEL AND TIRE ASSEMBLY [302815]
WIRING HARNESS ASSEMBLY [303131]
AIR INTAKE ASSEMBLY [303628]
BATTERY AND STARTER ASSEMBLY [303021]
CAM CHAIN ASSEMBLY [300283]
CASE/BELT COOLING ASSEMBLY [300277]
CLUTCH/V-BELT/MAGNETO COVER ASSEMBLY [303132]
CONSOLE AND INSTRUMENT ASSEMBLY [303013]
COOLING ASSEMBLY [303018]
CRANKCASE ASSEMBLY [302118]
CRANKSHAFT BALANCER AND STARTER GEAR ASSEMBLIES [303025]
CYLINDER ASSEMBLY [303023]
CYLINDER HEAD AND CAMSHAFT/VALVE ASSEMBLY [303024]
DECALS [303134]
DRIVE TRAIN ASSEMBLY [303170]
ENGINE AND EXHAUST [303017]
FRAME AND RELATED PARTS [301595]
FRONT BODY PANEL AND HEADLIGHT ASSEMBLIES [303125]
FRONT DRIVE GEARCASE ASSEMBLY [303130]
FRONT RACK AND SIDE PANEL ASSEMBLIES [303126]
FRONT SUSPENSION ASSEMBLY [303014]
GAS TANK ASSEMBLY [303016]
GEAR SHIFTING ASSEMBLY [303030]
HANDLEBAR ASSEMBLY [303128]
HYDRAULIC BRAKE ASSEMBLY [303129]
MAGNETO ASSEMBLY [303031]
OIL FILTER/PUMP ASSEMBLY [301655]
REAR DRIVE GEARCASE ASSEMBLY [300080]
REAR RACK, BODY PANEL, FOOTWELL, AND TAILLIGHT ASSEMBLIES [303127]
REAR SUSPENSION ASSEMBLY [302802]
SEAT ASSEMBLY [301596]
SECONDARY DRIVE ASSEMBLY [302806]
SECONDARY TRANSMISSION ASSEMBLY [303133]
SHIFT LEVER ASSEMBLY [300273]
STEERING ASSEMBLY [301597]
THROTTLE BODY ASSEMBLY [303022]
TRANSMISSION ASSEMBLY [303028]
WATER PUMP ASSEMBLY [303027]
WHEEL AND TIRE ASSEMBLY [302815]
WIRING HARNESS ASSEMBLY [303131]
VIEW WISH LIST