Greenville, TX
|
Give Us a Call
(903) 454-4440
Toggle navigation
Home
Brands
Manufacturer Models
OEM Promotions
Polaris
Can-Am
E-Z-Go
Honda
Kawasaki
Suzuki
Inventory
All Inventory In Stock
New Inventory In Stock
Used Inventory
Value Your Trade-In
Request a Model
Schedule a Test Ride
Secure Financing
Parts
Parts Department
Parts Finder
Service
Service Department
Request Polaris Service
Warranty & Recall Look-Up
Specials
Financing
About
Our Dealership
Our Team
Reviews
Customer Survey
Employment
Events Calendar
Locations
Location & Hours
Contact
Parts Finder
Home
›
Parts
›
Parts Finder
Search by :
Part / Desc
VIN
Please Select
Arctic Cat
Honda
Kawasaki
Polaris
Suzuki
*Please enter at least 3 characters
SEARCH
Manufacturer
Arctic Cat
ATVs
2018
ATV ALTERRA 300 GREEN
VIEW WISH LIST
Select a Section
Show/Hide
AIR INTAKE ASSEMBLY
CAM CHAIN ASSEMBLY
CARBURETOR ASSEMBLY
CASE/BELT COOLING ASSEMBLY
CLUTCH ASSEMBLY
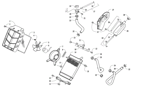
COOLING ASSEMBLY
CYLINDER HEAD AND CAMSHAFT/VALVE ASSEMBLY
DECALS
EXHAUST ASSEMBLY
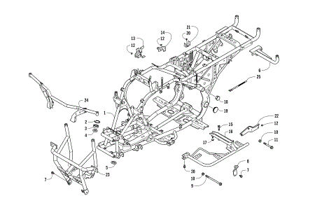
FRAME AND RELATED PARTS
FRONT AND REAR RACK ASSEMBLY
FRONT BODY AND HEADLIGHT ASSEMBLY
FRONT SUSPENSION ASSEMBLY
FRONT WHEELS AND BRAKE ASSEMBLY
GAS TANK ASSEMBLY
HANDLEBAR, INSTRUMENT POD, AND CONTROL ASSEMBLIES
HYDRAULIC BRAKE ASSEMBLY
LEFT CRANKCASE, COVER, AND RECOIL ASSEMBLY
PISTON AND CRANKSHAFT ASSEMBLY
REAR BODY AND TAILLIGHT ASSEMBLY
REAR DRIVE GEARCASE ASSEMBLY
REAR SUSPENSION ASSEMBLY
REAR WHEELS, AXLE, AND BRAKE ASSEMBLY
REED VALVE ASSEMBLY
RIGHT CRANKCASE AND COVER ASSEMBLY
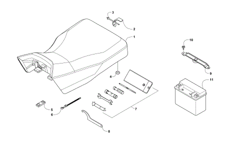
SEAT, BATTERY, AND TOOL KIT ASSEMBLIES
SHIFT LEVER ASSEMBLY
STARTER MOTOR, MAGNETO, AND OIL PUMP ASSEMBLY
STEERING ASSEMBLY
TRANSMISSION ASSEMBLY
TRANSMISSION CASE ASSEMBLY
WIRING HARNESS ASSEMBLY
AIR INTAKE ASSEMBLY
CAM CHAIN ASSEMBLY
CARBURETOR ASSEMBLY
CASE/BELT COOLING ASSEMBLY
CLUTCH ASSEMBLY
COOLING ASSEMBLY
CYLINDER HEAD AND CAMSHAFT/VALVE ASSEMBLY
DECALS
EXHAUST ASSEMBLY
FRAME AND RELATED PARTS
FRONT AND REAR RACK ASSEMBLY
FRONT BODY AND HEADLIGHT ASSEMBLY
FRONT SUSPENSION ASSEMBLY
FRONT WHEELS AND BRAKE ASSEMBLY
GAS TANK ASSEMBLY
HANDLEBAR, INSTRUMENT POD, AND CONTROL ASSEMBLIES
HYDRAULIC BRAKE ASSEMBLY
LEFT CRANKCASE, COVER, AND RECOIL ASSEMBLY
PISTON AND CRANKSHAFT ASSEMBLY
REAR BODY AND TAILLIGHT ASSEMBLY
REAR DRIVE GEARCASE ASSEMBLY
REAR SUSPENSION ASSEMBLY
REAR WHEELS, AXLE, AND BRAKE ASSEMBLY
REED VALVE ASSEMBLY
RIGHT CRANKCASE AND COVER ASSEMBLY
SEAT, BATTERY, AND TOOL KIT ASSEMBLIES
SHIFT LEVER ASSEMBLY
STARTER MOTOR, MAGNETO, AND OIL PUMP ASSEMBLY
STEERING ASSEMBLY
TRANSMISSION ASSEMBLY
TRANSMISSION CASE ASSEMBLY
WIRING HARNESS ASSEMBLY
VIEW WISH LIST