Greenville, TX
|
Give Us a Call
(903) 454-4440
Toggle navigation
Home
Brands
Manufacturer Models
OEM Promotions
Polaris
Can-Am
E-Z-Go
Honda
Kawasaki
Suzuki
Inventory
All Inventory In Stock
New Inventory In Stock
Used Inventory
Value Your Trade-In
Request a Model
Schedule a Test Ride
Secure Financing
Parts
Parts Department
Parts Finder
Service
Service Department
Request Polaris Service
Warranty & Recall Look-Up
Specials
Financing
About
Our Dealership
Our Team
Reviews
Customer Survey
Employment
Events Calendar
Locations
Location & Hours
Contact
Parts Finder
Home
›
Parts
›
Parts Finder
Search by :
Part / Desc
VIN
Please Select
Arctic Cat
Honda
Kawasaki
Polaris
Suzuki
*Please enter at least 3 characters
SEARCH
Manufacturer
Arctic Cat
ATVs
2018
ALTERRA VLX 700 EPS BLACK [A2018IBT1PUSP]
VIEW WISH LIST
Select a Section
Show/Hide
AIR INTAKE ASSEMBLY [303035]
BATTERY AND STARTER ASSEMBLY [302228]
CAM CHAIN ASSEMBLY [300283]
CASE/BELT COOLING ASSEMBLY [302273]
CLUTCH/V-BELT/MAGNETO COVER ASSEMBLY [302155]
COOLING ASSEMBLY [302148]
CRANK BALANCER ASSEMBLY [301654]
CRANKCASE ASSEMBLY [301652]
CRANKSHAFT AND PISTON ASSEMBLY [301781]
CYLINDER ASSEMBLY [302153]
CYLINDER HEAD AND CAMSHAFT/VALVE ASSEMBLY [302154]
DECALS [302248]
DRIVE TRAIN ASSEMBLY [302149]
ENGINE AND EXHAUST [302246]
FRAME AND RELATED PARTS [302243]
FRONT DRIVE GEARCASE ASSEMBLY [302150]
FRONT RACK, BODY PANEL, AND HEADLIGHT ASSEMBLIES [302223]
FRONT SUSPENSION ASSEMBLY [302141]
GAS TANK ASSEMBLY [302245]
GEAR SHIFTING ASSEMBLY [302230]
HANDLEBAR ASSEMBLY [303275]
HYDRAULIC BRAKE ASSEMBLY [302143]
INSTRUMENT POD ASSEMBLY [302244]
MAGNETO ASSEMBLY [97370]
OIL FILTER/PUMP ASSEMBLY [301655]
REAR DRIVE GEARCASE ASSEMBLY [300080]
REAR RACK, BODY PANEL, AND FOOTWELL ASSEMBLIES [302225]
REAR SUSPENSION ASSEMBLY [302142]
SEAT ASSEMBLY [100274]
SECONDARY DRIVE ASSEMBLY [302157]
SECONDARY TRANSMISSION ASSEMBLY [300083]
SHIFT LEVER ASSEMBLY [302145]
STARTER CLUTCH ASSEMBLY [300126]
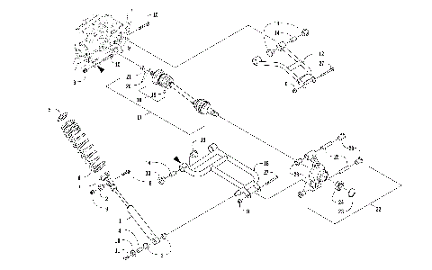
STEERING ASSEMBLY [301734]
TAILLIGHT ASSEMBLY [88992]
THROTTLE BODY ASSEMBLY [302229]
TRANSMISSION ASSEMBLY [302207]
WATER PUMP ASSEMBLY [301656]
WHEEL AND TIRE ASSEMBLY [302208]
WIRING HARNESS ASSEMBLY [302247]
AIR INTAKE ASSEMBLY [303035]
BATTERY AND STARTER ASSEMBLY [302228]
CAM CHAIN ASSEMBLY [300283]
CASE/BELT COOLING ASSEMBLY [302273]
CLUTCH/V-BELT/MAGNETO COVER ASSEMBLY [302155]
COOLING ASSEMBLY [302148]
CRANK BALANCER ASSEMBLY [301654]
CRANKCASE ASSEMBLY [301652]
CRANKSHAFT AND PISTON ASSEMBLY [301781]
CYLINDER ASSEMBLY [302153]
CYLINDER HEAD AND CAMSHAFT/VALVE ASSEMBLY [302154]
DECALS [302248]
DRIVE TRAIN ASSEMBLY [302149]
ENGINE AND EXHAUST [302246]
FRAME AND RELATED PARTS [302243]
FRONT DRIVE GEARCASE ASSEMBLY [302150]
FRONT RACK, BODY PANEL, AND HEADLIGHT ASSEMBLIES [302223]
FRONT SUSPENSION ASSEMBLY [302141]
GAS TANK ASSEMBLY [302245]
GEAR SHIFTING ASSEMBLY [302230]
HANDLEBAR ASSEMBLY [303275]
HYDRAULIC BRAKE ASSEMBLY [302143]
INSTRUMENT POD ASSEMBLY [302244]
MAGNETO ASSEMBLY [97370]
OIL FILTER/PUMP ASSEMBLY [301655]
REAR DRIVE GEARCASE ASSEMBLY [300080]
REAR RACK, BODY PANEL, AND FOOTWELL ASSEMBLIES [302225]
REAR SUSPENSION ASSEMBLY [302142]
SEAT ASSEMBLY [100274]
SECONDARY DRIVE ASSEMBLY [302157]
SECONDARY TRANSMISSION ASSEMBLY [300083]
SHIFT LEVER ASSEMBLY [302145]
STARTER CLUTCH ASSEMBLY [300126]
STEERING ASSEMBLY [301734]
TAILLIGHT ASSEMBLY [88992]
THROTTLE BODY ASSEMBLY [302229]
TRANSMISSION ASSEMBLY [302207]
WATER PUMP ASSEMBLY [301656]
WHEEL AND TIRE ASSEMBLY [302208]
WIRING HARNESS ASSEMBLY [302247]
VIEW WISH LIST