Greenville, TX
|
Give Us a Call
(903) 454-4440
Toggle navigation
Home
Brands
Manufacturer Models
OEM Promotions
Polaris
Can-Am
E-Z-Go
Honda
Kawasaki
Suzuki
Inventory
All Inventory In Stock
New Inventory In Stock
Used Inventory
Value Your Trade-In
Request a Model
Schedule a Test Ride
Secure Financing
Parts
Parts Department
Parts Finder
Service
Service Department
Request Polaris Service
Warranty & Recall Look-Up
Specials
Financing
About
Our Dealership
Our Team
Reviews
Customer Survey
Employment
Events Calendar
Locations
Location & Hours
Contact
Parts Finder
Home
›
Parts
›
Parts Finder
Search by :
Part / Desc
VIN
Please Select
Arctic Cat
Honda
Kawasaki
Polaris
Suzuki
*Please enter at least 3 characters
SEARCH
Manufacturer
Arctic Cat
ATVs
2017
ATV ALTERRA 700 XT EPS RED INTERNATIONAL [A2017XCT1POSE]
VIEW WISH LIST
Select a Section
Show/Hide
AIR INTAKE ASSEMBLY [300274]
BATTERY AND STARTER ASSEMBLY [301992]
CAM CHAIN ASSEMBLY [300283]
CASE/BELT COOLING ASSEMBLY [300277]
CLUTCH/V-BELT/MAGNETO COVER ASSEMBLY [301608]
CONSOLE AND INSTRUMENT ASSEMBLY [301598]
COOLING ASSEMBLY [300276]
CRANK BALANCER ASSEMBLY [301654]
CRANKCASE ASSEMBLY [302118]
CRANKSHAFT AND PISTON ASSEMBLY [301781]
CYLINDER ASSEMBLY [300291]
CYLINDER HEAD AND CAMSHAFT/VALVE ASSEMBLY [300292]
DRIVE TRAIN ASSEMBLY [301675]
ENGINE AND EXHAUST [301605]
FRAME AND RELATED PARTS [301595]
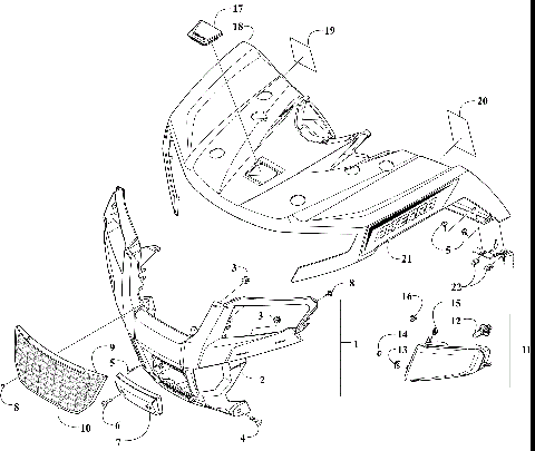
FRONT BODY PANEL AND HEADLIGHT ASSEMBLIES [301587]
FRONT DRIVE GEARCASE ASSEMBLY [301128]
FRONT RACK AND SIDE PANEL ASSEMBLIES [301590]
FRONT SUSPENSION ASSEMBLY [301600]
GAS TANK ASSEMBLY [301126]
GEAR SHIFTING ASSEMBLY [300294]
HANDLEBAR ASSEMBLY [300756]
HYDRAULIC BRAKE ASSEMBLY [301604]
MAGNETO ASSEMBLY [300128]
OIL FILTER/PUMP ASSEMBLY [300240]
REAR DRIVE GEARCASE ASSEMBLY [300080]
REAR RACK, BODY PANEL, FOOTWELL, AND TAILLIGHT ASSEMBLIES [301593]
REAR SUSPENSION ASSEMBLY [301601]
SEAT ASSEMBLY [301596]
SECONDARY DRIVE ASSEMBLY [97468]
SECONDARY TRANSMISSION ASSEMBLY [300083]
SHIFT LEVER ASSEMBLY [300273]
STARTER CLUTCH ASSEMBLY [300126]
STEERING ASSEMBLY [301597]
SWAY BAR ASSEMBLY [301602]
THROTTLE BODY ASSEMBLY [300280]
TRANSMISSION ASSEMBLY [301132]
WATER PUMP ASSEMBLY [301656]
WHEEL AND TIRE ASSEMBLY [301603]
WIRING HARNESS ASSEMBLY [301606]
AIR INTAKE ASSEMBLY [300274]
BATTERY AND STARTER ASSEMBLY [301992]
CAM CHAIN ASSEMBLY [300283]
CASE/BELT COOLING ASSEMBLY [300277]
CLUTCH/V-BELT/MAGNETO COVER ASSEMBLY [301608]
CONSOLE AND INSTRUMENT ASSEMBLY [301598]
COOLING ASSEMBLY [300276]
CRANK BALANCER ASSEMBLY [301654]
CRANKCASE ASSEMBLY [302118]
CRANKSHAFT AND PISTON ASSEMBLY [301781]
CYLINDER ASSEMBLY [300291]
CYLINDER HEAD AND CAMSHAFT/VALVE ASSEMBLY [300292]
DRIVE TRAIN ASSEMBLY [301675]
ENGINE AND EXHAUST [301605]
FRAME AND RELATED PARTS [301595]
FRONT BODY PANEL AND HEADLIGHT ASSEMBLIES [301587]
FRONT DRIVE GEARCASE ASSEMBLY [301128]
FRONT RACK AND SIDE PANEL ASSEMBLIES [301590]
FRONT SUSPENSION ASSEMBLY [301600]
GAS TANK ASSEMBLY [301126]
GEAR SHIFTING ASSEMBLY [300294]
HANDLEBAR ASSEMBLY [300756]
HYDRAULIC BRAKE ASSEMBLY [301604]
MAGNETO ASSEMBLY [300128]
OIL FILTER/PUMP ASSEMBLY [300240]
REAR DRIVE GEARCASE ASSEMBLY [300080]
REAR RACK, BODY PANEL, FOOTWELL, AND TAILLIGHT ASSEMBLIES [301593]
REAR SUSPENSION ASSEMBLY [301601]
SEAT ASSEMBLY [301596]
SECONDARY DRIVE ASSEMBLY [97468]
SECONDARY TRANSMISSION ASSEMBLY [300083]
SHIFT LEVER ASSEMBLY [300273]
STARTER CLUTCH ASSEMBLY [300126]
STEERING ASSEMBLY [301597]
SWAY BAR ASSEMBLY [301602]
THROTTLE BODY ASSEMBLY [300280]
TRANSMISSION ASSEMBLY [301132]
WATER PUMP ASSEMBLY [301656]
WHEEL AND TIRE ASSEMBLY [301603]
WIRING HARNESS ASSEMBLY [301606]
VIEW WISH LIST