Greenville, TX
|
Give Us a Call
(903) 454-4440
Toggle navigation
Home
Brands
Manufacturer Models
OEM Promotions
Polaris
Can-Am
E-Z-Go
Honda
Kawasaki
Suzuki
Inventory
All Inventory In Stock
New Inventory In Stock
Used Inventory
Value Your Trade-In
Request a Model
Schedule a Test Ride
Secure Financing
Parts
Parts Department
Parts Finder
Service
Service Department
Request Polaris Service
Warranty & Recall Look-Up
Specials
Financing
About
Our Dealership
Our Team
Reviews
Customer Survey
Employment
Events Calendar
Locations
Location & Hours
Contact
Parts Finder
Home
›
Parts
›
Parts Finder
Search by :
Part / Desc
VIN
Please Select
Arctic Cat
Honda
Kawasaki
Polaris
Suzuki
*Please enter at least 3 characters
SEARCH
Manufacturer
Arctic Cat
ATVs
2017
ATV ALTERRA 300 RED [A2017KAF2BUSR]
VIEW WISH LIST
Select a Section
Show/Hide
AIR INTAKE ASSEMBLY [301259]
CAM CHAIN ASSEMBLY [300501]
CARBURETOR ASSEMBLY [300500]
CASE/BELT COOLING ASSEMBLY [302189]
CLUTCH ASSEMBLY [94283]
COOLING ASSEMBLY [302188]
CYLINDER HEAD AND CAMSHAFT/VALVE ASSEMBLY [100476]
ENGINE AND EXHAUST ASSEMBLY [301260]
EXHAUST ASSEMBLY [301260]
FRAME AND RELATED PARTS [302180]
FRONT AND REAR RACK ASSEMBLY [302181]
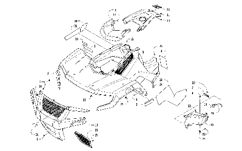
FRONT BODY AND HEADLIGHT ASSEMBLY [302212]
FRONT SUSPENSION ASSEMBLY [301254]
FRONT WHEELS AND BRAKE ASSEMBLY [302183]
GAS TANK ASSEMBLY [302186]
HANDLEBAR, INSTRUMENT POD, AND CONTROL ASSEMBLIES [302182]
HYDRAULIC BRAKE ASSEMBLY [302185]
LEFT CRANKCASE, COVER, AND RECOIL ASSEMBLY [302194]
PISTON AND CRANKSHAFT ASSEMBLY [94280]
REAR BODY AND TAILLIGHT ASSEMBLY [302213]
REAR DRIVE GEARCASE ASSEMBLY [301262]
REAR SUSPENSION ASSEMBLY [301256]
REAR WHEELS, AXLE, AND BRAKE ASSEMBLY [302184]
REED VALVE ASSEMBLY [302192]
RIGHT CRANKCASE AND COVER ASSEMBLY [302193]
SEAT, BATTERY, AND TOOL KIT ASSEMBLIES [302191]
SHIFT LEVER ASSEMBLY [302187]
STARTER MOTOR, MAGNETO, AND OIL PUMP ASSEMBLY [302196]
STEERING ASSEMBLY [92436]
TRANSMISSION ASSEMBLY [96349]
TRANSMISSION CASE ASSEMBLY [302195]
WIRING HARNESS ASSEMBLY [302190]
AIR INTAKE ASSEMBLY [301259]
CAM CHAIN ASSEMBLY [300501]
CARBURETOR ASSEMBLY [300500]
CASE/BELT COOLING ASSEMBLY [302189]
CLUTCH ASSEMBLY [94283]
COOLING ASSEMBLY [302188]
CYLINDER HEAD AND CAMSHAFT/VALVE ASSEMBLY [100476]
ENGINE AND EXHAUST ASSEMBLY [301260]
EXHAUST ASSEMBLY [301260]
FRAME AND RELATED PARTS [302180]
FRONT AND REAR RACK ASSEMBLY [302181]
FRONT BODY AND HEADLIGHT ASSEMBLY [302212]
FRONT SUSPENSION ASSEMBLY [301254]
FRONT WHEELS AND BRAKE ASSEMBLY [302183]
GAS TANK ASSEMBLY [302186]
HANDLEBAR, INSTRUMENT POD, AND CONTROL ASSEMBLIES [302182]
HYDRAULIC BRAKE ASSEMBLY [302185]
LEFT CRANKCASE, COVER, AND RECOIL ASSEMBLY [302194]
PISTON AND CRANKSHAFT ASSEMBLY [94280]
REAR BODY AND TAILLIGHT ASSEMBLY [302213]
REAR DRIVE GEARCASE ASSEMBLY [301262]
REAR SUSPENSION ASSEMBLY [301256]
REAR WHEELS, AXLE, AND BRAKE ASSEMBLY [302184]
REED VALVE ASSEMBLY [302192]
RIGHT CRANKCASE AND COVER ASSEMBLY [302193]
SEAT, BATTERY, AND TOOL KIT ASSEMBLIES [302191]
SHIFT LEVER ASSEMBLY [302187]
STARTER MOTOR, MAGNETO, AND OIL PUMP ASSEMBLY [302196]
STEERING ASSEMBLY [92436]
TRANSMISSION ASSEMBLY [96349]
TRANSMISSION CASE ASSEMBLY [302195]
WIRING HARNESS ASSEMBLY [302190]
VIEW WISH LIST