Greenville, TX
|
Give Us a Call
(903) 454-4440
Toggle navigation
Home
Brands
Manufacturer Models
OEM Promotions
Polaris
Can-Am
E-Z-Go
Honda
Kawasaki
Suzuki
Inventory
All Inventory In Stock
New Inventory In Stock
Used Inventory
Value Your Trade-In
Request a Model
Schedule a Test Ride
Secure Financing
Parts
Parts Department
Parts Finder
Service
Service Department
Request Polaris Service
Warranty & Recall Look-Up
Specials
Financing
About
Our Dealership
Our Team
Reviews
Customer Survey
Employment
Events Calendar
Locations
Location & Hours
Contact
Parts Finder
Home
›
Parts
›
Parts Finder
Search by :
Part / Desc
VIN
Please Select
Arctic Cat
Honda
Kawasaki
Polaris
Suzuki
*Please enter at least 3 characters
SEARCH
Manufacturer
Arctic Cat
ATVs
2015
ATV XR 550 XT EFT BLUE [A2015XCO1PETL]
VIEW WISH LIST
Select a Section
Show/Hide
AIR INTAKE ASSEMBLY [300274]
BATTERY AND STARTER ASSEMBLY [300279]
CAM CHAIN ASSEMBLY [300283]
CASE/BELT COOLING ASSEMBLY [300277]
CLUTCH/V-BELT/MAGNETO COVER ASSEMBLY [300285]
CONSOLE AND INSTRUMENT ASSEMBLY [300804]
COOLING ASSEMBLY [300276]
CRANK BALANCER ASSEMBLY [94435]
CRANKCASE ASSEMBLY [300284]
CRANKSHAFT AND PISTON ASSEMBLY [94487]
CYLINDER ASSEMBLY [300281]
CYLINDER HEAD AND CAMSHAFT/VALVE ASSEMBLY [300282]
DRIVE TRAIN ASSEMBLY [300657]
EMERGENCY BRAKE ASSEMBLY [300806]
ENGINE AND EXHAUST [300808]
FRAME AND RELATED PARTS [300799]
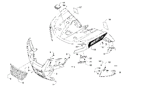
FRONT BODY PANEL AND HEADLIGHT ASSEMBLIES [300797]
FRONT DRIVE GEARCASE ASSEMBLY [300658]
FRONT RACK AND SIDE PANEL ASSEMBLIES [300761]
FRONT SUSPENSION ASSEMBLY [300646]
GAS TANK ASSEMBLY [300807]
GEAR SHIFTING ASSEMBLY [300287]
HANDLEBAR ASSEMBLY [300803]
HYDRAULIC BRAKE ASSEMBLY [300805]
LICENSE PLATE HOLDER ASSEMBLY [300801]
MAGNETO ASSEMBLY [300128]
OIL FILTER/PUMP ASSEMBLY [300240]
REAR DRIVE GEARCASE ASSEMBLY [300080]
REAR RACK, BODY PANEL, FOOTWELL, AND TAILLIGHT ASSEMBLIES [300798]
REAR SUSPENSION ASSEMBLY [300647]
SEAT ASSEMBLY [300642]
SECONDARY DRIVE ASSEMBLY [99900]
SECONDARY TRANSMISSION ASSEMBLY [300200]
SHIFT LEVER ASSEMBLY [300273]
STARTER CLUTCH ASSEMBLY [300126]
STEERING ASSEMBLY [300802]
SWAY BAR ASSEMBLY [300648]
THROTTLE BODY ASSEMBLY [300280]
TRANSMISSION ASSEMBLY [300286]
WATER PUMP ASSEMBLY [90695]
WHEEL AND TIRE ASSEMBLY [301407]
WINCH ASSEMBLY [300800]
WIRING HARNESS ASSEMBLY [300809]
AIR INTAKE ASSEMBLY [300274]
BATTERY AND STARTER ASSEMBLY [300279]
CAM CHAIN ASSEMBLY [300283]
CASE/BELT COOLING ASSEMBLY [300277]
CLUTCH/V-BELT/MAGNETO COVER ASSEMBLY [300285]
CONSOLE AND INSTRUMENT ASSEMBLY [300804]
COOLING ASSEMBLY [300276]
CRANK BALANCER ASSEMBLY [94435]
CRANKCASE ASSEMBLY [300284]
CRANKSHAFT AND PISTON ASSEMBLY [94487]
CYLINDER ASSEMBLY [300281]
CYLINDER HEAD AND CAMSHAFT/VALVE ASSEMBLY [300282]
DRIVE TRAIN ASSEMBLY [300657]
EMERGENCY BRAKE ASSEMBLY [300806]
ENGINE AND EXHAUST [300808]
FRAME AND RELATED PARTS [300799]
FRONT BODY PANEL AND HEADLIGHT ASSEMBLIES [300797]
FRONT DRIVE GEARCASE ASSEMBLY [300658]
FRONT RACK AND SIDE PANEL ASSEMBLIES [300761]
FRONT SUSPENSION ASSEMBLY [300646]
GAS TANK ASSEMBLY [300807]
GEAR SHIFTING ASSEMBLY [300287]
HANDLEBAR ASSEMBLY [300803]
HYDRAULIC BRAKE ASSEMBLY [300805]
LICENSE PLATE HOLDER ASSEMBLY [300801]
MAGNETO ASSEMBLY [300128]
OIL FILTER/PUMP ASSEMBLY [300240]
REAR DRIVE GEARCASE ASSEMBLY [300080]
REAR RACK, BODY PANEL, FOOTWELL, AND TAILLIGHT ASSEMBLIES [300798]
REAR SUSPENSION ASSEMBLY [300647]
SEAT ASSEMBLY [300642]
SECONDARY DRIVE ASSEMBLY [99900]
SECONDARY TRANSMISSION ASSEMBLY [300200]
SHIFT LEVER ASSEMBLY [300273]
STARTER CLUTCH ASSEMBLY [300126]
STEERING ASSEMBLY [300802]
SWAY BAR ASSEMBLY [300648]
THROTTLE BODY ASSEMBLY [300280]
TRANSMISSION ASSEMBLY [300286]
WATER PUMP ASSEMBLY [90695]
WHEEL AND TIRE ASSEMBLY [301407]
WINCH ASSEMBLY [300800]
WIRING HARNESS ASSEMBLY [300809]
VIEW WISH LIST