Greenville, TX
|
Give Us a Call
(903) 454-4440
Toggle navigation
Home
Brands
Manufacturer Models
OEM Promotions
Polaris
Can-Am
E-Z-Go
Honda
Kawasaki
Suzuki
Inventory
All Inventory In Stock
New Inventory In Stock
Used Inventory
Value Your Trade-In
Request a Model
Schedule a Test Ride
Secure Financing
Parts
Parts Department
Parts Finder
Service
Service Department
Request Polaris Service
Warranty & Recall Look-Up
Specials
Financing
About
Our Dealership
Our Team
Reviews
Customer Survey
Employment
Events Calendar
Locations
Location & Hours
Contact
Parts Finder
Home
›
Parts
›
Parts Finder
Search by :
Part / Desc
VIN
Please Select
Arctic Cat
Honda
Kawasaki
Polaris
Suzuki
*Please enter at least 3 characters
SEARCH
Manufacturer
Arctic Cat
ATVs
2015
ATV 90 2X4 UTILITY INTERNATIONAL RED [A2015KUB2BOSR]
VIEW WISH LIST
Select a Section
Show/Hide
AIR INTAKE ASSEMBLY [90949]
BODY PANEL AND HEADLIGHT ASSEMBLY [300472]
CAM CHAIN ASSEMBLY [300481]
CARBURETOR ASSEMBLY [300479]
CLUTCH ASSEMBLY [300483]
CYLINDER HEAD ASSEMBLY [300480]
ELECTRICAL AND WIRING HARNESS ASSEMBLY [94227]
ENGINE SHROUD ASSEMBLY [90960]
EXHAUST ASSEMBLY [90950]
FRAME AND RELATED PARTS ASSEMBLY [96360]
FRONT AND REAR RACK ASSEMBLY [300473]
FRONT SUSPENSION ASSEMBLY [300475]
FRONT WHEEL AND BRAKE ASSEMBLIES [300476]
GAS TANK ASSEMBLY [300478]
HANDLEBAR AND CONTROL ASSEMBLY [300484]
HYDRAULIC HAND BRAKE ASSEMBLY [300474]
KICK STARTER AND COOLING DUCT ASSEMBLY [100318]
LEFT CRANKCASE AND COVER ASSEMBLY [92732]
PISTON AND CRANKSHAFT ASSEMBLY [90952]
REAR AXLE AND BRAKE ASSEMBLY [300477]
REAR SUSPENSION ASSEMBLY [100321]
REAR WHEEL ASSEMBLY [100322]
RIGHT CRANKCASE AND COVER ASSEMBLY [300482]
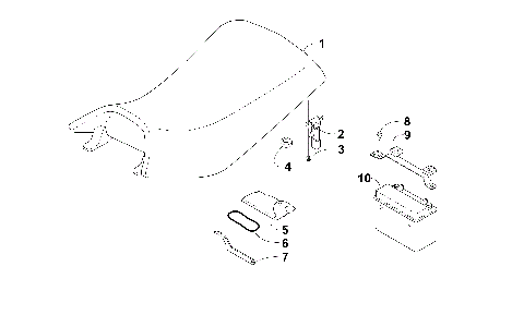
SEAT, BATTERY, AND TOOL KIT ASSEMBLIES [94228]
SHIFT LEVER ASSEMBLY [100317]
STARTER MOTOR AND OIL PUMP ASSEMBLY [97646]
STEERING POST ASSEMBLY [92740]
THROTTLE CONTROL ASSEMBLY [94248]
TRANSMISSION ASSEMBLY [94232]
AIR INTAKE ASSEMBLY [90949]
BODY PANEL AND HEADLIGHT ASSEMBLY [300472]
CAM CHAIN ASSEMBLY [300481]
CARBURETOR ASSEMBLY [300479]
CLUTCH ASSEMBLY [300483]
CYLINDER HEAD ASSEMBLY [300480]
ELECTRICAL AND WIRING HARNESS ASSEMBLY [94227]
ENGINE SHROUD ASSEMBLY [90960]
EXHAUST ASSEMBLY [90950]
FRAME AND RELATED PARTS ASSEMBLY [96360]
FRONT AND REAR RACK ASSEMBLY [300473]
FRONT SUSPENSION ASSEMBLY [300475]
FRONT WHEEL AND BRAKE ASSEMBLIES [300476]
GAS TANK ASSEMBLY [300478]
HANDLEBAR AND CONTROL ASSEMBLY [300484]
HYDRAULIC HAND BRAKE ASSEMBLY [300474]
KICK STARTER AND COOLING DUCT ASSEMBLY [100318]
LEFT CRANKCASE AND COVER ASSEMBLY [92732]
PISTON AND CRANKSHAFT ASSEMBLY [90952]
REAR AXLE AND BRAKE ASSEMBLY [300477]
REAR SUSPENSION ASSEMBLY [100321]
REAR WHEEL ASSEMBLY [100322]
RIGHT CRANKCASE AND COVER ASSEMBLY [300482]
SEAT, BATTERY, AND TOOL KIT ASSEMBLIES [94228]
SHIFT LEVER ASSEMBLY [100317]
STARTER MOTOR AND OIL PUMP ASSEMBLY [97646]
STEERING POST ASSEMBLY [92740]
THROTTLE CONTROL ASSEMBLY [94248]
TRANSMISSION ASSEMBLY [94232]
VIEW WISH LIST