Greenville, TX
|
Give Us a Call
(903) 454-4440
Toggle navigation
Home
Brands
Manufacturer Models
OEM Promotions
Polaris
Can-Am
E-Z-Go
Honda
Kawasaki
Suzuki
Inventory
All Inventory In Stock
New Inventory In Stock
Used Inventory
Value Your Trade-In
Request a Model
Schedule a Test Ride
Secure Financing
Parts
Parts Department
Parts Finder
Service
Service Department
Request Polaris Service
Warranty & Recall Look-Up
Specials
Financing
About
Our Dealership
Our Team
Reviews
Customer Survey
Employment
Events Calendar
Locations
Location & Hours
Contact
Parts Finder
Home
›
Parts
›
Parts Finder
Search by :
Part / Desc
VIN
Please Select
Arctic Cat
Honda
Kawasaki
Polaris
Suzuki
*Please enter at least 3 characters
SEARCH
Manufacturer
Arctic Cat
ATVs
2014
TRV LTD INTERNATIONAL BLUE [A2014TCW1POSL]
VIEW WISH LIST
Select a Section
Show/Hide
AIR INTAKE ASSEMBLY [95082]
BATTERY AND STARTER ASSEMBLY [99913]
CAM CHAIN ASSEMBLY [96536]
CASE/BELT COOLING ASSEMBLY [97408]
CLUTCH SIDE ENGINE COVERS [93659]
COOLING ASSEMBLY [93945]
CRANKCASE ASSEMBLY [300264]
CRANKSHAFT AND PISTON ASSEMBLY [96539]
CYLINDER ASSEMBLY [96294]
CYLINDER HEAD AND CAMSHAFT/VALVE ASSEMBLY [99915]
DRIVE TRAIN ASSEMBLY [99834]
ENGINE AND EXHAUST [97713]
FRAME AND RELATED PARTS [97704]
FRONT DRIVE GEARCASE ASSEMBLY [99910]
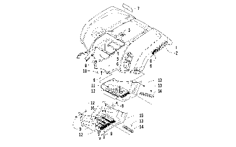
FRONT RACK, BODY PANEL, AND HEADLIGHT ASSEMBLIES [100131]
FRONT SUSPENSION ASSEMBLY [97708]
GAS TANK ASSEMBLY [100137]
GEAR SHIFTING ASSEMBLY [97696]
HANDLEBAR ASSEMBLY [93421]
HYDRAULIC BRAKE ASSEMBLY [300351]
INSTRUMENT POD ASSEMBLY [100134]
MAGNETO ASSEMBLY [97697]
MAGNETO SIDE ENGINE COVERS [92696]
OIL PUMP ASSEMBLY [300326]
PASSENGER SEAT AND BACKREST ASSEMBLY [93419]
REAR BODY PANEL AND FOOTWELL ASSEMBLIES [100132]
REAR DRIVE GEARCASE ASSEMBLY [99836]
REAR RACK ASSEMBLY [97703]
REAR SUSPENSION ASSEMBLY [97709]
SEAT ASSEMBLY [96152]
SECONDARY DRIVE ASSEMBLY [96972]
SECONDARY TRANSMISSION ASSEMBLY [99842]
SHIFT LEVER ASSEMBLY [300330]
STARTER CLUTCH ASSEMBLY [99968]
STEERING ASSEMBLY [99727]
STORAGE BOX ASSEMBLY [99797]
SWAY BAR ASSEMBLY [96947]
TAILLIGHT ASSEMBLY [88992]
THROTTLE BODY ASSEMBLY [96969]
TRANSMISSION ASSEMBLY [100142]
WATER PUMP ASSEMBLY [97694]
WHEEL AND TIRE ASSEMBLY [100136]
WINCH ASSEMBLY [99829]
WINDSHIELD ASSEMBLY [99798]
WIRING HARNESS ASSEMBLY [100141]
AIR INTAKE ASSEMBLY [95082]
BATTERY AND STARTER ASSEMBLY [99913]
CAM CHAIN ASSEMBLY [96536]
CASE/BELT COOLING ASSEMBLY [97408]
CLUTCH SIDE ENGINE COVERS [93659]
COOLING ASSEMBLY [93945]
CRANKCASE ASSEMBLY [300264]
CRANKSHAFT AND PISTON ASSEMBLY [96539]
CYLINDER ASSEMBLY [96294]
CYLINDER HEAD AND CAMSHAFT/VALVE ASSEMBLY [99915]
DRIVE TRAIN ASSEMBLY [99834]
ENGINE AND EXHAUST [97713]
FRAME AND RELATED PARTS [97704]
FRONT DRIVE GEARCASE ASSEMBLY [99910]
FRONT RACK, BODY PANEL, AND HEADLIGHT ASSEMBLIES [100131]
FRONT SUSPENSION ASSEMBLY [97708]
GAS TANK ASSEMBLY [100137]
GEAR SHIFTING ASSEMBLY [97696]
HANDLEBAR ASSEMBLY [93421]
HYDRAULIC BRAKE ASSEMBLY [300351]
INSTRUMENT POD ASSEMBLY [100134]
MAGNETO ASSEMBLY [97697]
MAGNETO SIDE ENGINE COVERS [92696]
OIL PUMP ASSEMBLY [300326]
PASSENGER SEAT AND BACKREST ASSEMBLY [93419]
REAR BODY PANEL AND FOOTWELL ASSEMBLIES [100132]
REAR DRIVE GEARCASE ASSEMBLY [99836]
REAR RACK ASSEMBLY [97703]
REAR SUSPENSION ASSEMBLY [97709]
SEAT ASSEMBLY [96152]
SECONDARY DRIVE ASSEMBLY [96972]
SECONDARY TRANSMISSION ASSEMBLY [99842]
SHIFT LEVER ASSEMBLY [300330]
STARTER CLUTCH ASSEMBLY [99968]
STEERING ASSEMBLY [99727]
STORAGE BOX ASSEMBLY [99797]
SWAY BAR ASSEMBLY [96947]
TAILLIGHT ASSEMBLY [88992]
THROTTLE BODY ASSEMBLY [96969]
TRANSMISSION ASSEMBLY [100142]
WATER PUMP ASSEMBLY [97694]
WHEEL AND TIRE ASSEMBLY [100136]
WINCH ASSEMBLY [99829]
WINDSHIELD ASSEMBLY [99798]
WIRING HARNESS ASSEMBLY [100141]
VIEW WISH LIST