Greenville, TX
|
Give Us a Call
(903) 454-4440
Toggle navigation
Home
Brands
Manufacturer Models
OEM Promotions
Polaris
Can-Am
E-Z-Go
Honda
Kawasaki
Suzuki
Inventory
All Inventory In Stock
New Inventory In Stock
Used Inventory
Value Your Trade-In
Request a Model
Schedule a Test Ride
Secure Financing
Parts
Parts Department
Parts Finder
Service
Service Department
Request Polaris Service
Warranty & Recall Look-Up
Specials
Financing
About
Our Dealership
Our Team
Reviews
Customer Survey
Employment
Events Calendar
Locations
Location & Hours
Contact
Parts Finder
Home
›
Parts
›
Parts Finder
Search by :
Part / Desc
VIN
Please Select
Arctic Cat
Honda
Kawasaki
Polaris
Suzuki
*Please enter at least 3 characters
SEARCH
Manufacturer
Arctic Cat
ATVs
2014
TRV 550 XT RED [A2014TGO1PUSE]
VIEW WISH LIST
Select a Section
Show/Hide
AIR INTAKE ASSEMBLY [91973]
BATTERY AND STARTER ASSEMBLY [99791]
CAM CHAIN ASSEMBLY [89422]
CASE/BELT COOLING ASSEMBLY [91976]
CLUTCH/V-BELT/MAGNETO COVER ASSEMBLY [300196]
COOLING ASSEMBLY [94428]
CRANK BALANCER ASSEMBLY [94435]
CRANKCASE ASSEMBLY [99738]
CRANKSHAFT AND PISTON ASSEMBLY [94487]
CYLINDER ASSEMBLY [93384]
CYLINDER HEAD AND CAMSHAFT/VALVE ASSEMBLY [99822]
DRIVE TRAIN ASSEMBLY [99789]
ENGINE AND EXHAUST [99788]
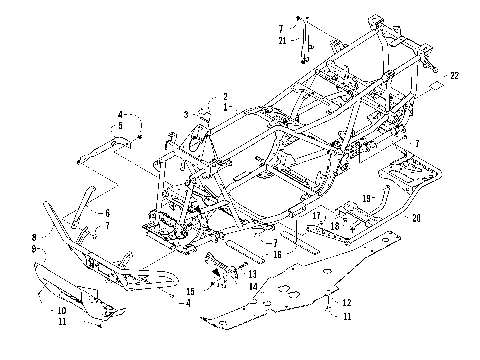
FRAME AND RELATED PARTS [97721]
FRONT DRIVE GEARCASE ASSEMBLY [99760]
FRONT RACK, BODY PANEL, AND HEADLIGHT ASSEMBLIES [99802]
FRONT SUSPENSION ASSEMBLY [96945]
GAS TANK ASSEMBLY [99787]
GEAR SHIFTING ASSEMBLY [300199]
HANDLEBAR ASSEMBLY [91965]
HYDRAULIC BRAKE ASSEMBLY [300076]
INSTRUMENT POD ASSEMBLY [99804]
MAGNETO ASSEMBLY [97370]
OIL FILTER/PUMP ASSEMBLY [99739]
PASSENGER SEAT AND BACKREST ASSEMBLY [92658]
REAR BODY PANEL AND FOOTWELL ASSEMBLIES [99803]
REAR DRIVE GEARCASE ASSEMBLY [99761]
REAR RACK ASSEMBLY [100201]
REAR SUSPENSION ASSEMBLY [97725]
SEAT ASSEMBLY [100274]
SECONDARY DRIVE ASSEMBLY [99768]
SECONDARY TRANSMISSION ASSEMBLY [99766]
SHIFT LEVER ASSEMBLY [97363]
STARTER CLUTCH ASSEMBLY [300126]
STEERING ASSEMBLY [99727]
SWAY BAR ASSEMBLY [96947]
TAILLIGHT ASSEMBLY [88992]
THROTTLE BODY ASSEMBLY [89419]
TRANSMISSION ASSEMBLY [99792]
WATER PUMP ASSEMBLY [90695]
WHEEL AND TIRE ASSEMBLY [99729]
WIRING HARNESS ASSEMBLY [99805]
AIR INTAKE ASSEMBLY [91973]
BATTERY AND STARTER ASSEMBLY [99791]
CAM CHAIN ASSEMBLY [89422]
CASE/BELT COOLING ASSEMBLY [91976]
CLUTCH/V-BELT/MAGNETO COVER ASSEMBLY [300196]
COOLING ASSEMBLY [94428]
CRANK BALANCER ASSEMBLY [94435]
CRANKCASE ASSEMBLY [99738]
CRANKSHAFT AND PISTON ASSEMBLY [94487]
CYLINDER ASSEMBLY [93384]
CYLINDER HEAD AND CAMSHAFT/VALVE ASSEMBLY [99822]
DRIVE TRAIN ASSEMBLY [99789]
ENGINE AND EXHAUST [99788]
FRAME AND RELATED PARTS [97721]
FRONT DRIVE GEARCASE ASSEMBLY [99760]
FRONT RACK, BODY PANEL, AND HEADLIGHT ASSEMBLIES [99802]
FRONT SUSPENSION ASSEMBLY [96945]
GAS TANK ASSEMBLY [99787]
GEAR SHIFTING ASSEMBLY [300199]
HANDLEBAR ASSEMBLY [91965]
HYDRAULIC BRAKE ASSEMBLY [300076]
INSTRUMENT POD ASSEMBLY [99804]
MAGNETO ASSEMBLY [97370]
OIL FILTER/PUMP ASSEMBLY [99739]
PASSENGER SEAT AND BACKREST ASSEMBLY [92658]
REAR BODY PANEL AND FOOTWELL ASSEMBLIES [99803]
REAR DRIVE GEARCASE ASSEMBLY [99761]
REAR RACK ASSEMBLY [100201]
REAR SUSPENSION ASSEMBLY [97725]
SEAT ASSEMBLY [100274]
SECONDARY DRIVE ASSEMBLY [99768]
SECONDARY TRANSMISSION ASSEMBLY [99766]
SHIFT LEVER ASSEMBLY [97363]
STARTER CLUTCH ASSEMBLY [300126]
STEERING ASSEMBLY [99727]
SWAY BAR ASSEMBLY [96947]
TAILLIGHT ASSEMBLY [88992]
THROTTLE BODY ASSEMBLY [89419]
TRANSMISSION ASSEMBLY [99792]
WATER PUMP ASSEMBLY [90695]
WHEEL AND TIRE ASSEMBLY [99729]
WIRING HARNESS ASSEMBLY [99805]
VIEW WISH LIST