Greenville, TX
|
Give Us a Call
(903) 454-4440
Toggle navigation
Home
Brands
Manufacturer Models
OEM Promotions
Polaris
Can-Am
E-Z-Go
Honda
Kawasaki
Suzuki
Inventory
All Inventory In Stock
New Inventory In Stock
Used Inventory
Value Your Trade-In
Request a Model
Schedule a Test Ride
Secure Financing
Parts
Parts Department
Parts Finder
Service
Service Department
Request Polaris Service
Warranty & Recall Look-Up
Specials
Financing
About
Our Dealership
Our Team
Reviews
Customer Survey
Employment
Events Calendar
Locations
Location & Hours
Contact
Parts Finder
Home
›
Parts
›
Parts Finder
Search by :
Part / Desc
VIN
Please Select
Arctic Cat
Honda
Kawasaki
Polaris
Suzuki
*Please enter at least 3 characters
SEARCH
Manufacturer
Arctic Cat
ATVs
2014
ATV 450 GREEN [A2014IRK4CUSG]
VIEW WISH LIST
Select a Section
Show/Hide
AIR INTAKE ASSEMBLY [96409]
BATTERY AND STARTER ASSEMBLY [94320]
CAM CHAIN ASSEMBLY [92764]
CASE/BELT COOLING ASSEMBLY [94316]
CLUTCH AND DRIVE BELT ASSEMBLY [100382]
CLUTCH/DRIVE BELT/MAGNETO COVER ASSEMBLY [92767]
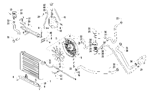
COOLING ASSEMBLY [94315]
CRANKCASE ASSEMBLY [99951]
CRANKSHAFT, BALANCER, STARTER GEAR, AND PISTON ASSEMBLIES [99952]
CYLINDER ASSEMBLY [92762]
CYLINDER HEAD AND CAMSHAFT/VALVE ASSEMBLY [97674]
DRIVE TRAIN ASSEMBLY [100713]
ENGINE AND EXHAUST [100493]
FRAME AND RELATED PARTS [94303]
FRONT DRIVE GEARCASE ASSEMBLY [100409]
FRONT RACK, BODY PANEL, AND HEADLIGHT ASSEMBLIES [100497]
FRONT SUSPENSION ASSEMBLY [100372]
GAS TANK ASSEMBLY [94311]
GEAR SHIFTING ASSEMBLY [94326]
HANDLEBAR ASSEMBLY [95051]
HYDRAULIC BRAKE ASSEMBLY [100492]
INSTRUMENT POD ASSEMBLY [300507]
MAGNETO ASSEMBLY [94328]
OIL PUMP AND STRAINER ASSEMBLY [92405]
REAR BODY, RACK, AND TAILLIGHT ASSEMBLY [100498]
REAR DRIVE GEARCASE ASSEMBLY [97672]
REAR SUSPENSION ASSEMBLY [100389]
SEAT ASSEMBLY [95049]
SECONDARY DRIVE ASSEMBLY [94327]
SECONDARY TRANSMISSION ASSEMBLY [92770]
SHIFT LEVER ASSEMBLY [100376]
STEERING ASSEMBLY [97651]
THROTTLE BODY ASSEMBLY [94321]
WATER PUMP ASSEMBLY [92768]
WHEEL AND TIRE ASSEMBLY [100491]
WIRING HARNESS ASSEMBLY [100494]
AIR INTAKE ASSEMBLY [96409]
BATTERY AND STARTER ASSEMBLY [94320]
CAM CHAIN ASSEMBLY [92764]
CASE/BELT COOLING ASSEMBLY [94316]
CLUTCH AND DRIVE BELT ASSEMBLY [100382]
CLUTCH/DRIVE BELT/MAGNETO COVER ASSEMBLY [92767]
COOLING ASSEMBLY [94315]
CRANKCASE ASSEMBLY [99951]
CRANKSHAFT, BALANCER, STARTER GEAR, AND PISTON ASSEMBLIES [99952]
CYLINDER ASSEMBLY [92762]
CYLINDER HEAD AND CAMSHAFT/VALVE ASSEMBLY [97674]
DRIVE TRAIN ASSEMBLY [100713]
ENGINE AND EXHAUST [100493]
FRAME AND RELATED PARTS [94303]
FRONT DRIVE GEARCASE ASSEMBLY [100409]
FRONT RACK, BODY PANEL, AND HEADLIGHT ASSEMBLIES [100497]
FRONT SUSPENSION ASSEMBLY [100372]
GAS TANK ASSEMBLY [94311]
GEAR SHIFTING ASSEMBLY [94326]
HANDLEBAR ASSEMBLY [95051]
HYDRAULIC BRAKE ASSEMBLY [100492]
INSTRUMENT POD ASSEMBLY [300507]
MAGNETO ASSEMBLY [94328]
OIL PUMP AND STRAINER ASSEMBLY [92405]
REAR BODY, RACK, AND TAILLIGHT ASSEMBLY [100498]
REAR DRIVE GEARCASE ASSEMBLY [97672]
REAR SUSPENSION ASSEMBLY [100389]
SEAT ASSEMBLY [95049]
SECONDARY DRIVE ASSEMBLY [94327]
SECONDARY TRANSMISSION ASSEMBLY [92770]
SHIFT LEVER ASSEMBLY [100376]
STEERING ASSEMBLY [97651]
THROTTLE BODY ASSEMBLY [94321]
WATER PUMP ASSEMBLY [92768]
WHEEL AND TIRE ASSEMBLY [100491]
WIRING HARNESS ASSEMBLY [100494]
VIEW WISH LIST