Greenville, TX
|
Give Us a Call
(903) 454-4440
Toggle navigation
Home
Brands
Manufacturer Models
OEM Promotions
Polaris
Can-Am
E-Z-Go
Honda
Kawasaki
Suzuki
Inventory
All Inventory In Stock
New Inventory In Stock
Used Inventory
Value Your Trade-In
Request a Model
Schedule a Test Ride
Secure Financing
Parts
Parts Department
Parts Finder
Service
Service Department
Request Polaris Service
Warranty & Recall Look-Up
Specials
Financing
About
Our Dealership
Our Team
Reviews
Customer Survey
Employment
Events Calendar
Locations
Location & Hours
Contact
Parts Finder
Home
›
Parts
›
Parts Finder
Search by :
Part / Desc
VIN
Please Select
Arctic Cat
Honda
Kawasaki
Polaris
Suzuki
*Please enter at least 3 characters
SEARCH
Manufacturer
Arctic Cat
ATVs
2013
TRV 500 RED [A2013TBK4CUSR]
VIEW WISH LIST
Select a Section
Show/Hide
AIR INTAKE ASSEMBLY [97871]
BATTERY AND STARTER ASSEMBLY [97875]
CAM CHAIN ASSEMBLY [92764]
CASE/BELT COOLING ASSEMBLY [94101]
CLUTCH AND DRIVE BELT ASSEMBLY [94325]
CLUTCH/DRIVE BELT/MAGNETO COVER ASSEMBLY [92767]
COOLING ASSEMBLY [94857]
CRANKCASE ASSEMBLY [99951]
CRANKSHAFT, BALANCER, STARTER GEAR, AND PISTON ASSEMBLIES [99952]
CYLINDER ASSEMBLY [92762]
CYLINDER HEAD AND CAMSHAFT/VALVE ASSEMBLY [97302]
DRIVE TRAIN ASSEMBLY [97873]
ENGINE AND EXHAUST [97872]
FRAME AND RELATED PARTS [97865]
FRONT DRIVE GEARCASE ASSEMBLY [97321]
FRONT RACK, BODY PANEL, AND HEADLIGHT ASSEMBLIES [97862]
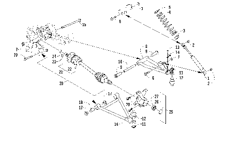
FRONT SUSPENSION ASSEMBLY [97318]
GAS TANK ASSEMBLY [100067]
GEAR SHIFTING ASSEMBLY [94866]
HANDLEBAR ASSEMBLY [97317]
HYDRAULIC BRAKE ASSEMBLY [300076]
INSTRUMENT POD ASSEMBLY [97866]
MAGNETO ASSEMBLY [94328]
OIL PUMP AND STRAINER ASSEMBLY [92405]
PASSENGER SEAT AND BACKREST ASSEMBLY [92658]
REAR BODY PANEL AND FOOTWELL ASSEMBLIES [97863]
REAR DRIVE GEARCASE ASSEMBLY [94431]
REAR RACK ASSEMBLY [97864]
REAR SUSPENSION ASSEMBLY [97867]
SEAT ASSEMBLY [100274]
SECONDARY DRIVE ASSEMBLY [96314]
SECONDARY TRANSMISSION ASSEMBLY [92770]
SHIFT LEVER ASSEMBLY [97870]
STEERING ASSEMBLY [99924]
TAILLIGHT ASSEMBLY [88992]
THROTTLE BODY ASSEMBLY [94861]
WATER PUMP ASSEMBLY [92768]
WHEEL AND TIRE ASSEMBLY [97868]
WIRING HARNESS ASSEMBLY [97874]
AIR INTAKE ASSEMBLY [97871]
BATTERY AND STARTER ASSEMBLY [97875]
CAM CHAIN ASSEMBLY [92764]
CASE/BELT COOLING ASSEMBLY [94101]
CLUTCH AND DRIVE BELT ASSEMBLY [94325]
CLUTCH/DRIVE BELT/MAGNETO COVER ASSEMBLY [92767]
COOLING ASSEMBLY [94857]
CRANKCASE ASSEMBLY [99951]
CRANKSHAFT, BALANCER, STARTER GEAR, AND PISTON ASSEMBLIES [99952]
CYLINDER ASSEMBLY [92762]
CYLINDER HEAD AND CAMSHAFT/VALVE ASSEMBLY [97302]
DRIVE TRAIN ASSEMBLY [97873]
ENGINE AND EXHAUST [97872]
FRAME AND RELATED PARTS [97865]
FRONT DRIVE GEARCASE ASSEMBLY [97321]
FRONT RACK, BODY PANEL, AND HEADLIGHT ASSEMBLIES [97862]
FRONT SUSPENSION ASSEMBLY [97318]
GAS TANK ASSEMBLY [100067]
GEAR SHIFTING ASSEMBLY [94866]
HANDLEBAR ASSEMBLY [97317]
HYDRAULIC BRAKE ASSEMBLY [300076]
INSTRUMENT POD ASSEMBLY [97866]
MAGNETO ASSEMBLY [94328]
OIL PUMP AND STRAINER ASSEMBLY [92405]
PASSENGER SEAT AND BACKREST ASSEMBLY [92658]
REAR BODY PANEL AND FOOTWELL ASSEMBLIES [97863]
REAR DRIVE GEARCASE ASSEMBLY [94431]
REAR RACK ASSEMBLY [97864]
REAR SUSPENSION ASSEMBLY [97867]
SEAT ASSEMBLY [100274]
SECONDARY DRIVE ASSEMBLY [96314]
SECONDARY TRANSMISSION ASSEMBLY [92770]
SHIFT LEVER ASSEMBLY [97870]
STEERING ASSEMBLY [99924]
TAILLIGHT ASSEMBLY [88992]
THROTTLE BODY ASSEMBLY [94861]
WATER PUMP ASSEMBLY [92768]
WHEEL AND TIRE ASSEMBLY [97868]
WIRING HARNESS ASSEMBLY [97874]
VIEW WISH LIST